Сантехнические работы. Трубы. Инструменты и их рукоятки... ("Сделай сам" №3-4∙2007) [Н. Г. Беляева] (fb2) читать онлайн

- Сантехнические работы. Трубы. Инструменты и их рукоятки... ("Сделай сам" №3-4∙2007) (и.с. Журнал «Сделай сам») 4.82 Мб, 178с. скачать: (fb2) - (исправленную)  читать: (полностью) - (постранично) - Н. Г. Беляева - А. А. Савельев - Г. Е. Ефремов - Журнал «Сделай сам»

 [Настройки текста]  [Cбросить фильтры]
  [Оглавление]

Савельев А.А. «САНТЕХНИЧЕСКИЕ РАБОТЫ» Беляева Н.Г. «ТВОРЕНИЙ НЕТЛЕННАЯ СИЛА (секреты золотого руна)» Ефремов Г.Е. «ИНСТРУМЕНТЫ И ИХ РУКОЯТКИ (окончание)» --- Журнал «СДЕЛАЙ САМ» № 3–4∙2007 Подписная научно-популярная серия

ДЕЛА КРЕСТЬЯНСКИЕ

Творений нетленная сила (секреты золотого руна)

Н.Г.БЕЛЯЕВА

Продолжение. Начало см. в № 1, 2 за 2007 г.


Унесенные ветром

Овца шерсть растит, как скупой деньги копит, — не для себя. Еще на «корню», задолго до стрижки расторопный хозяин присматривается к руну и по сочетанию его свойств оценивает, на что пойдет основная партия. Тогда определится и способ обработки. Чтобы стать нитью для вязания, тканью гладкой, ворсовой, суконной или войлоком, сырье проследует по своим технологическим этапам. Но вначале, до каких-либо других операций, всякой шерсти не миновать трепки.

Пласты остриженного руна — невзрачные, пропыленные и засоренные клочки, прочно склеенные жиропотом. Косицы и штапели лежат здесь уже не так, как на туловище животного, а в беспорядке и порою перепутаны на концах. Даже и внутри волокон бывает утрачен природный ритм, в каком шерстинки располагались до стрижки. Ясно, что пока прядей не разберешь, никакая нить не завьется. Для этого-то сырье и приводят в подобающий вид — разделяют штапели, пучки, волокна, косицы — пушат. Однако разнять штапель, отделить косицу от косицы стоит усилий. При тугоплавком жиропоте — довольно больших. Да и какой бы шерсть ни была, вручную на эту работу времени затрачивается порядком, расщипывание всего руна займет чуть ли не ползимы. А когда такое надо проделать с шерстью нескольких овец? Долгим век покажется.

Помимо разрыхления, неизбежно другое — получше освободить шерсть от всего, что в нее набилось. Чем тоньше волокна, тем они богаче всевозможными примесями. Некоторые виды шерстей, преимущественно грубых, до протрепывания иной раз выгоднее просто протрясти. Удовольствие, конечно, ниже среднего — пылища поднимается, как в песчаную бурю. А те, кто занят такой работой постоянно, рискуют здоровьем, им угрожают болезни легких, воспаление слизистых оболочек. Поэтому без мер предосторожности — защитных очков и резиновых масок — к делу не приступают. Обработку производят непременно на открытом воздухе.

Накануне, сняв верх, приспосабливают старый или ладят заново стол на 4–6 ножках высотой до одного метра. Вместо столешницы настилают сетку с ячейками по 10–15 мм и длиной полотна как пройдет, но не больше 6–8 м при максимум полутораметровой ширине. Это — самое простое «чистилище». Действуют попарно, встав с боков стола напротив друг друга. Берут полость руна, дружно встряхивают над сеткой несколько раз. Пусть не вся, но вылетает значительное количество грязи. Из шерстей погрубей сор так выколачивается довольно успешно. С тонкими, мериносными этот номер не проходит. Только когда в них перебираешь и разделяешь волокно за волокном, выпадает многое, что внутри позастревало.

Люди обрабатывают сырую шерсть руками долгие тысячелетия — в прямом смысле от Ромула до наших дней. Когда-то всеми операциями заправлял сам ткач — готовил волокна, прял, мыл, красил. Давным-предавно он стал только ткать. Остальные работы, для которых нужны определенные навыки, сделались отдельными профессиями. Из них в первую очередь обработка шерстяного сырья. В Древней Греции, к примеру, таких умельцев называли звучным словом «ланифрикарии». Впрочем, тем все прелести этого ремесла и ограничивались. Существование ланифрикариев проходило в пыли, среди нечистот. По словам греческого писателя Лукиана, они принадлежали к наиболее презираемому слою общества.

Не лучшая доля выпадала и тем, кто кормился подобным промыслом на нашей земле. В одних краях их кликали трепачами, в других — шерстобитами. Заметим, что нередко обработка шерсти входила в подряды войлочников, пимокатчиков, Шаповалов. Даже сами крестьяне битье шерсти признавали трудом тяжелым, сродни молотобойному или корчеванию пней. От напряжения и усталости мышц у человека опухали сухожилия, нападал скрипун, как выражались новгородцы. Боль преследовала и в покое, а в работе становилась невыносимой. Такой же профессиональной болезнью награждали себя и мяльщики льна. Кого сия чаша миновала, от монотонной, изнурительной работы в организме изнашивалось что-то другое. Отваживались, бывало, на обработку шерсти от безысходности и то лишь мужики завидного здоровья. Они скитались по всей России, ходили в Сибирь артелями и в одиночку. Жизнь их шла на износ. Н.Лесков в повести «Овцебык» мимоходом, как общеизвестное, описывает будничный эпизод на постоялом дворе. В округе все спало, было ранее раннего. Но уже со своего пристанища двинулись в морозную хмарь трепачи, не выпив и по глотку кипятка, лишь увязали сумки к треплам.

Отходники кочевали от деревни к деревне, от усадьбы к усадьбе, от монастыря к монастырю, пока не попадалась работа. Хозяин заказывал, как рыхлить шерсть — на валку или на пряжу. Тогда в холодном сарае напротив оконца выкладывал мастер инструмент: шерстобитень, то есть решетку, деревянную либо металлическую, и под нее сетку, подвешивал лучок — поболее двух метров шест со струной (плетеным из жил жгутом, хлыстом, тетивой), большой и малой кобылками (подставками для струны) и бойкой-колотушкой (деревянным молотом или просто стесанным с конца поленом по прозвищу «катеринка»).

Набросав шерсть на решетку, в одну руку работник брал шест-лучок, а другой за бойку дергал струну. Та, вытянувшись, ляцала по массе слипшихся шерстяных клочков, хлестала, как бичом, удар, однако, нанося плашмя. От этого весь ком вздрагивал, встряхивался. При повторных щелчках волокна несколько сдвигались со своего места. Если партию сырья предназначали на пряжу, шерстобит направлял удары струны прицельно, туда, где смыкались волокна, разрушая коросту из жиропота и следом саму связь, сцепление штапелей, пучков, косиц.

Под действием силы шерстинки, как всякое физическое тело, стремились выпрямляться, тянуться в ровную линию. От хлопка к хлопку все более явственно. Попутно отлетали, отделялись перепутанные с ними волоски соседних волокон. Освободившись от плена, слегка распрямленные шерстинки выскальзывали из пучков и располагались одна подле другой неким подобием параллельным рядам. Так, собственно говоря, и выглядела шерсть, возможно, хорошо разрыхленная.

На валку шерстобит тоже, конечно, теребил массы, разравнивая волокна. Но еще упорнее, для прочности будущих изделий, доводил ее до состояния шерстяной ваты. Здесь не столько образовывались ряды, сколько равномерно перемешивались короткие и длинные волокна верхушками в разные стороны.

Разработанные пряди шерстобиты укладывали пластами, согнув несколько раз. Сверток кудели на их языке именовали свитком.

Разрыхляя, вспушивая шерсть инструментами примитивными, настоящие мастера ухитрялись почти не ранить, не рвать и не портить волокон. Свойства шерсти они понимали и чувствовали фантастически точно, лишь взглянув на материал. И что, рядясь, хозяину обещали, то он и получал. По наблюдениям очевидцев, бывалый шерстобит с разным сортом волокон занимался по-особому, не полагаясь только на мощь смычкового удара. Силой правил ум.

Недосягаемую для других славу заработали себе костромские трепачи, к ним пробовали примазаться, выдавали себя за волжан, даже окали, как они, однако заказчики раскусывали самозванцев мигом, говоря, что этим локти мешают, суетливы: и быстро готово, да бестолково. Ведь на скорую руку — всегда комком и в кучу.

Иной раз и огромного старания мастера недоставало для того, чтобы вся шерсть обрела вид, пригодный для дальнейшей обработки. Привычно отбрасывались отходы: сильно перепуганные клочки, свалок — они не поддавались действию струны. Из партий на пряжу выбраковывались из распушенной шерсти мелкие концы волокон. Волосы с небольшой упругостью и неэластичные вообще трепки не выдерживали, ломались, становились много короче первоначальной длины.

Обычного протрепывания, как самого первого этапа в обработке, хватает разве что для валяльно-войлочных операций. На другие цели шерсть считалась подготовленной лишь в первом приближении. И снова вся надежда у человека была на свои руки.

История мало что сохранила нам о ремеслах древних. Одно же несомненное свидетельство живет в каждом доме. Это игла, родоначальница многих инструментов. Не будь иглы, если разобраться, не появились бы крючок, спицы, вышивка. Первая швейная машина работала в форме вязального крючка. Тамбурный шов — те же петли на полотне. Иглами и сегодня называют спицы, которые без затруднения делают дома из проволоки, осаживая концы напильником, выглаживая их, насколько возможно. Полагают, что иглу придумали около 100 тысяч лет тому назад и изготавливали, из чего могли, — деревянную, из рыбьих костей, рогов и клыков животных, перьев птиц. Приспособлением из таких игл расчесывал шерсть вавилонский ткач, набором деревянных пользовались в мастерских фараонов, щетками с железными зубьями обрабатывали снятую с овец шерсть ремесленники Древнего Рима.

Ту же кустарную технологию напоминает ручная выработка нити, которая до сих пор встречается в разных уголках планеты и весьма распространена в провинциях Индии. Традиционный способ помнят и у нас. Как встарь, в российских деревнях здравствует чесалка-гребень с двумя рядами длинных стальных игл. Устроена она проще простого (рис. 38 во второй части статьи: «Сделай сам», 1997, № 2). Женщина ногой прижимает треугольную деревяшку к сиденью. Руки у нее свободны. Обеими она надевает на иглы клок шерсти, водит им вправо-влево, медленно пропускает сквозь гребень, вытягивает волокна, разделяя концы, снимает застрявшие сор и грязь. Опять расчесывает. Так повторяется, покуда не увидит, что разгладила пучки, распрямила в них волосы, как надо, — примерно одинаковыми, рядом лежащими слоями. Долго, зато очень качественно. В пряжу ровную, без бугорков, одного диаметра сплетается эта шерсть. Нить из нее хоть куда — на изящную кружевную вязку, на тончайшую гладкую ткань. Изделие не отличишь от фабричного.

За гребень принимаются обычно, если сырье того стоит — длинноволокнистое, с однородным волосом, без подозрений на свойлачивание и другие пороки. Чесать машиной его жалко. Как ни говори, отходов будет больше, чем после чесалки. Иногда мастерица возится с этим анахронизмом, чтобы привести в порядок шерсть на особенно тонкие и ровные нити для работ художественных или исправляя за машиной плохо протрепанные куски руна. Никуда не деться от чесалки, если машинная обработка недоступна. А сидеть приходится часами и днями: хорошо быстро не бывает. Про шерсть, которую второпях провели через гребенку, пряхи говорят, что ее черт чесал, да чесалку потерял. И как им не досадовать: что не изгладил шетью, вылезет в пряже. Свивая нить руками, пряха еще половчит-похитрит и спрячет запутанные концы, сукрутины, утончения и другие огрехи. В машинном прядении плохо вычесанной шерсти никакие ухищрения не помогут, пороки выйдут наружу.

Мало в каком из ремесел человечество накопило столь уникальный опыт, как в обработке шерсти. У многих народов, особенно на заре цивилизации, шерсть была главным сырьем на всю одежду — от белья до верхнего платья. Из нее изготавливали и пеленки новорожденным, и простыни, и головные уборы, и отдельные виды обуви, и многообразные предметы быта. Казалось бы, при таком общественном интересе эта область человеческой деятельности начнет развиваться, как ничто иное. В действительности колесо прогресса поворачивается навстречу людским чаяниям необъяснимо избирательно. От столетия к столетию и уже в нашей эре понемногу начали появляться устройства, в какой-то мере облегчающие труд прядильщика, ткача. А вот способы очистки, теребления, расчесывания шерсти оставались незыблемыми, допотопными. Те, кто стояли у начала латыни, придумали, например, расчесывать шерстяные волокна шкуркой ежа, шишками чертополохе. Жившие на земле спустя тысячелетия продолжали пользоваться орудиями древних. Пронеслись еще века и века, когда, наконец, подобно ежовым, люди догадались расставлять иглы, вначале деревянные, симметричными рядами — получились щетки и гребни. С гребенным чесанием мир познакомили египтяне где-то за 1700–1500 лет до новой эры. Еще тысячу лет в обработке сырья все сохранялось без изменения. Затем щетке увеличили площадь, прикрепляя на целой доске заостренные палочки в определенном порядке. Доску ставили внаклон, на нее настилали сырую шерсть и, поводя щеткой с такими же, как на доске, зубьями, растрепывали, распрямляли волокна. Уже совсем близко к нам, в преддверии средневековья, вроде на старые дрожжи завели новую опару — изобрели кардные ленты (фр. carde — шерстечесалка). Точнее, ленты, как таковой, делать еще не научились. Основой служили небольшие куски кожи. В них вручную насаживали скобки, которые довольно ровно возвышались над поверхностью. Подвижная, гибкая кожа наводила на размышления о том, что ее можно подвесить, выгнуть, скрепить с аналогичными кусками, двигать, перемещать и — чем черт не шутит — заставить вращаться.

Кроме того, вместо кожи может быть более послушный материал, скажем, прочная ткань. Идеи витали в воздухе Одна за другой открывались мастерские, в которых руками набирали кардоленты. Появились инструменты-шаблоны для ручной наборки кардных лент или щеток (рис. 55).



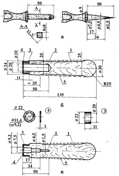
Рис. 55. Инструменты для ручного набора кардолент или щеток:

1 — рама, на которую туго натягивают влажную кожу будущей кардоленты, как на барабан; 2 — инструмент для разметки отверстий; 3 — шило для проколки отверстий в коже; 4 — пруток, который использовали на тот случай, когда отверстие надо было увеличить; 5 — ножичек; 6 — проволочная скоба, какими набивали полотно кардоленты (влажная кожа, высыхая, прочно стягивала скобы); 7 — инструменты для прокалывания скобы в кожу; 8 — часть кардоленты с разными формами скоб (прямые, загнутые вправо или влево), применявшимися с учетом особенностей шерсти


Мастерские просуществовали несколько столетий. Только в 1748 году Джон Кей из Манчестера попытался сконструировать кардочесальную машину. Охраняя ее, торговый дом Кея переусердствовал, фактически скрыл изобретение: когда говорят деньги, обычно уже не до чистоты речи. Эта машина стала лишь фактом истории.

Через полвека дерзнул американец Амос Виттемор. Он построил и запустил в работу свою машину. Тем не менее и для Нового и для всего Света она не принесла облегчения. Первые устройства, что естественно, имели серьезные изъяны. Вслед за виттеморовской опробовались и отвергались другие модели. Шел поиск самих принципов, на каких должен был действовать механический гребень, способный заменить собой сотни человеческих рук. Неудачи и разочарования преследовали изобретателей. Перепоручить машинам трудоемкие операции первичной обработки шерсти удалось значительно позже, уже в нашу эпоху, околдованную техникой.


Стучи барабаном и не бойся

Вот уж где имя знаменательно. В многоликом семействе шерстеобрабатывающих машин — трясилки, сетчатый, конический, спиральный, выколачивающий, расщипывающий волчки, машина «рвач», многопроцессные одно- и двухбарабанные трепальные конструкции, агрегаты непрерывного действия и с ограниченным циклом, оживающие от ручного привода, водяного колеса, парового поршня или электрического мотора. Насколько внешне исключительно непохожие, настолько близки они генетически, принципом работы.

О том, что волокна в руне, даже разбродистом, держатся друг за друга крепко, выше было сказано подробно. В мериносовой и другой шерсти с тонким и полутонким волосом связи еще прочнее. Так что лишь воздействием силы удается ослабить их, растрепывая, разрыхляя пучки. Став рыхлым, сырье легче освобождается от примесей и загрязнений, для чего бывает достаточно встряхивания, выколачивания шерстяных клочков. А затем наступает очередь распрямлять шерстинки, помогая им выпутываться из стихийно образовавшихся переплетений. И только тогда можно будет отделять понемногу, расслаивая, расщипывая, отнимая от массы волосок за волоском. Так постепенно шерсть приводится в состояние, пригодное к прядению.

Золотое правило обработки — не насиловать природу материала, следуя в технологии за ней, прилаживаясь к свойствам данной партии сырья. Допустим, извитость и упругость шерсти, вообще-то признанные качествами благодетельными, вкупе с трением соприкасающихся волокон при рыхлении создают помехи. С тем большей осторожностью регулируется в этом случае скорость и сила ударов, что предотвращает порчу, а то и разрушение волокон.

Машина совершает ряд последовательных операций. Каких и сколько, определяется предназначением конструкции для того или иного вида сырья. Но общая схема работы такова. Чтобы выделить одно или несколько волокон пусть из небольшого клочка шерсти, потребуется захватить их, удержать и вытянуть из пучка. На это и нацелены действия основных узлов. Сырье подается на обработку с помощью так называемого питающего устройства, претерпевает манипуляции барабана, поверхность которого покрыта колками, и выводится из машины, по пути оставляя засорения, выпадающие через колосниковую решетку в отходы.

Колки и колковая гарнитура. Что случится с шерстью в трепальном агрегате, можно знать заранее. На результат рыхления и трепания влияет форма колков, их размер, частота размещения. Конфигурацию колков подбирают по способности волокон противостоять силе (профессиональный термин — абсолютная разрывная нагрузка). Одновременно берут в расчет степень плотности клочков, проще говоря, учитывают, как сильно они сваляны. Форм колков существует множество (рис. 56). Самые ходовые из них — четырех разновидностей: прямые (цилиндрические, конические, граненые) и изогнутые.



Рис. 56. Некоторые формы колков


Прямые конические и цилиндрические (рис. 57,а,б) — наиболее щадящие сырье. Хорошо проникая в шерстяную массу, они свободно из нее выходят. Удар производится обтекаемой поверхностью колков, которые не повреждают, не рвут волокон. Потому обычно их применяют в гарнитурах машин, производящих трепание тонкой и полутонкой шерсти, а также состоящей из клочков относительно небольшой величины. Успешно обрабатывают они и массу волокон со слабой разрывной нагрузкой.

Прямые граненые колки (рис. 57,в) — прямоугольного сечения, с закругленными ребрами граней, что снижает их режущую способность. Рабочая грань такого колка узкая, он поэтому легко проникает в плотные слои шерсти, разрезая ее как нож. Куда сильнее конического и цилиндрического, этот колок нарушает сцепление шерстинок. Когда под удары попадает свалянная шерсть, часть волокон может порваться и не в одном месте. Гранеными колками, как правило, оснащают машины для работы с полугрубой, грубой клочковатой и свалянной шерстью. У них, без сомнения, разрывная нагрузка выше, чем у тонких волокон.



Рис. 57. Формы и размеры колков


Изогнутые колки (рис. 57,г) — круглого или овального сечения и с заостренной вершиной — идут в дело при разработке сильно свалянной шерсти, которую отсортировали от остальной как свалки или свалянные руна. Изогнутые колки разрывают, растаскивают такую шерсть, однако с существенными потерями в качестве: чуть ли не все волокна рвутся, средняя длина их становится много короче, чем в пласте.

Нельзя не считаться с тем, что от протрепывания любым видом колков в большей или меньшей части сырья в среднем укорачивается длина волокон и уменьшается их крепость. Поэтому поверхность колка должна быть без шероховатостей, заусенец, по-настоящему гладкой, чтобы шерсть сходила, не цепляясь. На барабане колки располагают рядами по его образующей и на расстоянии, оптимальном для конкретного вида сырья. В планках крепят резьбой или запрессовывают в горячем виде.

Питающее устройство. К нему относятся питающие решетки и питающие валики. Питающие решетки делают из планок, деревянных или металлических. Раньше употребляли бук, он плотный и упругий. Планки крепят к закольцованным ремням, соединенным концами, которые образуют бесконечное полотно. Полотно натягивают на валики. В обязанности питающих валиков (иногда говорят — приемных, подводящих, питательных, подающих, входных) — слой шерсти с питающей решетки принять, зажать и удержать, пока колки барабана сделают свое дело.

Применяются разные виды питающих устройств (рис. 58), чаще всего состоящих их двух пар питающих валиков (рис. 58,а). Причем в первой они рифленые, во второй — рифленый только верхний, а нижний валик гладкий.



Рис. 58. Виды питающих устройств


Рифленая поверхность помогает зажимать и удерживать волокна. Гладкая этому, наоборот, препятствует, но содействует выходу обработанного сырья. Диаметр валиков колеблется между 100 и 150 мм. Обе пары валиков получают нагрузку, необходимую для захвата волокон. Вторая пара крутится быстрее первой на 12–15 процентов, отчего и происходит растягивание клочков шерсти.

Последняя операция отсутствует в питающем устройстве из одной пары питающих валиков (рис. 58,б), рифленого и гладкого. Качественный результат тут дает обработка, когда волокна зажаты достаточно крепко. Без этого колки барабана способны выхватить из-под валиков шерстяные куски, еще не разрыхленные.

Такого не случается с питающим устройством, в котором оба питающих валика с изогнутыми зубьями (рис. 58,в). Загиб направлен в сторону, противоположную вращению валика. Зубья держат шерсть до полного разрыхления. В тот момент, когда колки барабана обрушивают удары на переднюю часть шерстяного слоя, задняя сторона находится без движения, зажатая валиками. И как только шерсть освобождается от зажима, ее разрыхляют зубья питающих валиков Диаметр валиков — 150–250 мм. Верхний валик имеет пружинную нагрузку. В процессе работы от шерсти его очищают колки барабана. На нижний валик при ударе барабанных колков шерсть нанизывается клочками, длинные волокна наматываются. Во избежание этого дополнительно ставят третий валик — для очистки.

Та же проблема решается по-другому в питающем устройстве с одним верхним питающим валиком. Нижний заменен деталью вогнутой формы (столиком), которая повторяет окружность верхнего валика (рис. 58,г). Шерсть не выскакивает до конца обработки, запертая между столиком и зубьями питающего валика. Исключено, и чтобы она смогла наматываться. К тому же в передней части столика, лежащей под наклоном, есть отверстия, сквозь них оседают тяжелые минеральные примеси. К столику примыкает колосниковая решетка.

Для надежного зажима сырья во всех питающих устройствах подшипники верхних валиков лежат в направляющих и могут перемещаться по верти кати. Они поднимутся, когда проходит слой шерсти толще обычного, и потом вернутся восвояси. Все верхние валики прижаты к нижним пружинами или рычагами с грузом. Нагрузку подбирают по обрабатываемой шерсти. Так, куски клочковатые и сваляные понадобится замкнуть посильнее других.

Как и колки, рабочие поверхности питающих валиков должны быть безупречно гладкими. На выбоины, заусенцы шерсть станет цепляться и наматываться. Грязь с валиков нужно снимать почаще.

Колосниковые решетки. От их конструкции зависит степень очистки шерсти. Установленные под барабанами, они собирают отбросы и сор, выпадающие из сырья. В работе удобнее съемные колосники, которые изготавливают из металлического прута круглого, овального, фасонного сечения (рис. 59) или из гладкого листа металла, в котором проштампованы отверстия.



Рис. 59. Разновидности зубчатой проволоки


Чаще всего применяются решетки с круглыми и щелевидными отверстиями. В первом случае берут листовую сталь толщиной 1,5–2 мм, выгибают ее. Радиус необходим на 25 мм больший, чем радиус траектории, которую описывают концами колки барабана. Лист прикрепляют к дугам из угловой стали. Самый подходящий размер отверстий — 10–13 мм, когда они покрупнее, много вполне прядильного волокна вылетает под машину.

Решетки с круглыми отверстиями, взаимодействуя с колками барабана, участвуют в рыхлении и очистке шерсти. Но лучший эффект бывает от решеток со щелями. Сильно загрязненную и плотную шерсть целесообразнее провести через машину с прутковыми решетками. Металлические прутья диаметром 5 мм закрепляют в дугах из стальных полос или уголков с зазором 7-10 мм. Величина зазора, понятно, повлияет на качество очистки волокна при трепании. Решетки из близко расставленных прутьев моментально забивает грязь, поэтому будут кстати запасные колосники.

На характере операций сказывается и расстояние между рабочими поверхностями машинных узлов, так называемая разводка. Она считается положительной, если между рабочими органами существует просвет, отрицательную можно наблюдать у барабанов, колки которых входят друг в друга. Как нетрудно догадаться, у машины с положительной разводкой меньше шансов повредить волокна, чем при разводке отрицательной. Для немытой шерсти на трепальных машинах приняты такие положительные разводки вершин колков: 10–15; 10; 25 мм. Это соответственно между питающими валиками и первым барабаном, между обеими барабанами и от колкового барабана до колосниковой решетки.

Около трепальной машины на 1 куб. м воздуха приходится 200–250 мг пыли. Чтобы ее не разносило через неплотно пригнанную обшивку агрегата, предусматривают вытяжной вентилятор, который отсасывал бы взвесь в рукав, шланг или трубу.

Теперь рассмотрим, как взаимодействуют рабочие органы в системах различной сложности и на что они способны.


Волчки

Из трепальных машин простотой устройства выделяются спиральные волчки. Основное действие, какое они производят, — встряхивание шерстяных клочков и выколачивание их, повторяемое столько, сколько понадобится для обрабатываемой шерсти. В волчках сырье рыхлят и избавляют от легкоотделимых примесей.

Конический волчок (рис. 60).



Рис. 60. Общий вид конического волчка


Шерсть подают на питающую решетку, отсюда ее подхватывает игольчатый приемный валик и подводит к барабану, где она подвергается ударам зубьев конического била (барабана). Барабан сделан конусовидным. С широкой стороны диаметр 1200 мм, с узкой — 660 мм. Длина 2130 мм. Барабан состоит из двух заклиненных на коренном валу крестов, к концам которых прикреплены 4 продольные деревянные планки. Каждая планка вооружена железными зубьями, выступающими, как правило, на 15 мм над поверхностью, но иногда и больше (рис. 61).



Рис. 61. Било конического волчка


Такими же зубьями нередко усаживают и кожух машины изнутри. Притом рассчитывают, чтобы они пришлись в промежутки зубьев барабанных. Под барабаном установлена колосниковая решетка, принимающая пыль и грязь, но задерживающая шерстяные волокна. Решетку под барабаном составляют из двух половин — удобно вынимать одну с передней, другую — с задней стороны машины.

Пыль и легкие примеси поглощает вентилятор, в данной конструкции он наверху. Под вентилятором стоит сетка, шерсть она удерживает, но не препятствует отсасыванию пыли.

Низ машины — с непроницаемой для воздуха обшивкой. Благодаря этому воздушный поток, создаваемый вентилятором, теряет силу, не доходя до решетки И сравнительно тяжелые сорные примеси, выколачиваемые из шерсти, проваливаются вниз через отверстия колосников

Постепенно с узкого конца барабана шерсть перемещается к широкому и выходит через отверстие сзади машины годной к следующей операции обработки.

Конический волчок занимает площадь примерно 2750x2150 мм и потребляет 2,2–2,5 кВт электроэнергии.

Сетчатый волчок (рис. 62) многократно руган за то, что не имеет приспособления для сбора пыли.



Рис. 62. Сетчатый волчок


Потому с ним предпочитают работать на открытом воздухе. Конструкция привлекает простотой устройства. Это горизонтальный цилиндр с боками из прочной металлической сетки. В центре цилиндра проходит вал, через который пропущено 8 металлических прутьев, закрепленных на валу под различными углами один к другому. Барабан снабжен дверкой, через нее подают и убирают обрабатываемое сырье. Грязную шерсть забрасывают в волчок, и металлические прутья, вращаясь вместе с валом, слегка встряхивают, встрепывают ее, энергично выколачивают пыль с грязью на всю площадь сетки.

Как и первая конструкция, сетчатый волчок действует при ручном управлении. Длительность обработки человек устанавливает сам.

Идея сетчатого волчка повторится в других системах, о чем расскажем ниже.

Трясилки. Из машин периодического действия по конструкции и характеру работы среди ближайшей родни волчков находятся трясилки (рис. 63). Сырье загружается через воронку а в кожухе и при вращении барабана б подвергается многоразовому выколачиванию между билами в барабана и двумя рядами неподвижных бил г кожуха, а также между барабаном и мусорной решеткой из прутьев.



Рис. 63. Схема рабочих органов трясилки


При непрерывной работе барабан производит по 285 оборотов в минуту. И сырье можно загружать на ходу. Так же без остановки машины выгружают протрепанную шерсть. Для этого вручную рычажной передачей открывается выпускной клапан е. Мусор из-под решетки периодически убирают. С середины барабана трясилки на каждой из четырех планок заболчены 7 бил. Рабочая длина бил 115 мм, расстояние между ними — 110 мм. Ширина барабана 700 мм при диаметре по концам бил 720 мм. В промежутке между билами барабана располагаются 6 бил неподвижной планки, которые проникают в его гарнитуру на 60 мм. Две планки с билами закреплены и по кожуху машины. На 30 мм ниже бил барабана стоит мусорная решетка из прутьев толщиной 7 мм при расстоянии между ними 3,5 мм.

На своем валу барабан имеет холостой и рабочий шкивы, оба диаметром по 350 мм. В движение он приводится от трансмиссии.

Размер трясилки в длину 1320 мм, в ширину 1230 мм. Расход электроэнергии — 368 Вт.

Трясилками рыхлили и очищали шерстяное сырье до появления более производительных машин. Но и после от их услуг полностью не отказались, используя для обработки отходов в подготовительных производствах текстильных фабрик.

Трясилка саксонского происхождения (рис. 64, 65), можно сказать, тоже зажилась среди более совершенных конструкций. Именно в ней использован сетчатый барабан.



Рис. 64, 65. Общий вид и продольный разрез саксонской трясилки


Перед загрузкой откидывается заслонка кожуха а и открывается клапан б сетчатого барабана. В отверстие клапана сырье поступает в барабан, непосредственно к бильной (колковой) гарнитуре в. Бил (колков) на валу машины — 4 ряда. В каждом — 8 тупых конических колков по 300 мм длиной при толщине основания 25 мм. Сетчатый барабан здесь с одной стороны выполняет роль Подвижной мусорной решетки, окружившей бильную гарнитуру вала, а с другой — участвует в трепке. На его внутренней поверхности установлены две планки с тупыми коническими колками по 100 мм каждый. Колки планок приходятся как раз в промежутке между валами (по одному на промежуток), проникая внутрь гарнитуры на 60 мм.

После загрузки запирают клапан и заслонку кожуха, дают ход машине, переместив приводной ремень на рабочий шкив с холостого. Под кожухом приходят в движение барабан и вал с бильной гарнитурой. Они вращаются одновременно, но в противоположном направлении. Клочки шерсти бросает, встряхивает, выколачивает между смежными билами вала, между билами вала и колками планок, между билами и сеткой барабана. Сырье интенсивно разрыхляется и отдает примеси. Весь сор собирается под барабаном в выдвижной ящик.

Обработка продолжается столько, сколько назначит рабочий, судя по виду сырья и весу загруженной порции. Перед окончанием протрепывания он открывает заслонку в кожухе и рычажной системе, которая находится в противоположной от привода стороне, выключает вращение барабана. Затем отпирает выпускной клапан. Вал машины по инерции еще крутится. И била выбрасывают обработанное сырье в отверстие наружу. После разгрузки вал с билами нужно остановить. Это делается перемещением приводного ремня на холостой шкив. Тем временем в барабан поступает новая закладка шерсти.

Чугунные станины машины со всех сторон обшиты от пыли листовым железом. Часть обшивки подвешена на петлях и служит откидной заслонкой в сплошном кожухе. Откидным клапаном снабжен и барабан, обтянутый крепкой проволочной сеткой. Диаметр барабана 1050 мм при ширине 1100 мм. Через большую по площади и подвижную сетку сырье очищается лучше, чем при неподвижных мусорных решетках. Да и забивается она меньше. Редок здесь и такой огрех, как закатывание материала, когда клочки срываются с зубьев, сходят с орбиты и заваливаются где-нибудь в неожиданном месте внутри полости. Против этого срабатывает зашита из колков на внутренней поверхности барабана, которые захватывают и задерживают сырье. Кроме того, при сравнительно небольшой скорости барабана бильная гарнитура вала мчится вчетверо быстрее. Соотношение в скоростях этих рабочих органов регулируется верхним промежуточным валом от приводного шкива к противоположной от него стороне машины — тем же, собственно, способом, каким включаются в работу сетчатый барабан и бильная гарнитура.

Диаметр приводного шкива 450 мм, его ширина 65 мм. По габаритам машина занимает площадь 1200x1800 мм. Она потребляет 1,5 кВт электроэнергии.

С помощью такой конструкции, бывало, делали очистку шерстяных, вигоневых, хлопчатобумажных отходов, сдира и выпадов с кардочесальных аппаратов, подмета прядильных отделений фабрик, в чем вместе с мусором содержалось еще немало волокон, их обрывков и концов.

Двухпроцессные волчки. Спиральным волчкам и трясилкам, которые проглатывали в свои чрева любое сырье, «переварить» удавалось не всякое. Они не могли доводить до полного разрыхления клочковатый и свалянный материал даже длительным повтором одной и той же операции. И тогда волчки усовершенствовали на два процесса, усилив расщипывание волокон. Достигается оно между нагруженной питающей парой и косо расположенными планками барабана. На планки в один-два ряда крепят шлифованные короткие конические колки, которые не впиваются жалом в шерстяную массу, а легонько, частотой прикосновения будоражат, рыхлят, встряхивают и выколачивают. И самое главное — не ущемляют волокон.

Медленно, но верно одолевает шерсть путь по спирали барабана. Отделение слоя за слоем, расщипывание чередуется с выколачиванием о мусорную решетку, пока на конце машины, противоположном от питающей пары, била не выбросят разрыхленное сырье через выходное отверстие. Шерсть великолепно протрепывается, оставляет на мусорной решетке значительную часть пыли и малоцепкого сора. Исключение составляют лишь полугрубые и свалянные клочки, им недостаточно такой деликатной обработки. Двухпроцессные волчки хорошо справляются с разрыхлением и очисткой неклочковатых тонких и полутонких шерстей. В свое время подобные конструкции применяли для доработки отходов шерстепрядильного производства на текстильных фабриках.

Двухпроцессный трепальный и расщипывающий волчок (рис. 66, 67, 68).



Рис. 66. Общий вид двухпроцессного трепального и расщипывающего волчка



Рис. 67. Вид в плане двухпроцессного трепального и расщипывающего волчка



Рис. 68. Поперечный разрез волчка


Шерсть настилают руками на питающую решетку, которая подводит массу к паре питающих валиков, верхнего рифленого и нижнего гладкого цилиндров, оба из стали или железа. Верхний прижимается к нижнему с помощью грузов. От питающей пары сырье принимают прямые конические колки длиной по 30 мм. Эти колки укреплены в два ряда в шахматном порядке на планках. Планок шесть. Длиной они равны ширине питающей решетки. Каждая держится на трех спицах. На барабане планки лежат по косой линии.

Между питающей парой и колками планок из пучков шерсти отделяются, как бы отщипываются волоконца. Поднятые, словно на вилы, они уносятся с гарнитурой планок и, соприкасаясь с колосниковой мусорной решеткой, получают удар, от которого из них выпадает часть примесей. Колосники, стоящие под барабаном по всей его длине, принимают эти отбросы. Но планки на барабане лежат по косой линии, по ней и продвигается шерсть дальше, после первоначального расщипывания и встряхивания, то есть в бок, и попадает в работу бил барабана. Пять рядов бил на барабане крепко схвачены болтами. Рабочая длина бил 200 мм, расстояние между ними 175 мм, в ряду помешается по 11–12 штук. Бильная гарнитура барабана основательно трясет попавшие к ней волокна и выколачивает их при ударе о мусорную решетку. Раз за разом разрыхленный и очищенный материал приближается к выходному отверстию, куда его наконец выталкивают крайние била барабана.

Барабан весь упрятан под кожух, который раньше делали деревянным. На стыке колковой и бильной гарнитур у кожуха предусмотрена воронка на случай, если сырье рыхлое и не нуждается в расщипывании зубьями бил первого лопастного трепала. Кроме загрузочной воронки, в кожухе еще два отверстия — для выхода протрепанной шерсти и напротив него — для притока внешнего воздуха к пылевому вентилятору. Вентилятор помещают вблизи выпускного отверстия.

Барабан волчка установлен на шариковых подшипниках. С одного конца главного вала посажены шкивы, холостой и рабочий. Перемещением ремня с помощью отводки с холостого на рабочий шкив машине сообщается движение. Диаметр приводного шкива 250 мм, а ширина — 100 мм. Питающая решетка и питающая пара начинают действовать через промежуточную ременную передачу Диаметр питательных валиков 58 мм, вала с билами 650 мм. Рабочая ширина барабана 2500 мм, питающей решетки 600 мм.

Машина размером 3300x2250 мм потребляет 2,2–3 кВт.

Иногда в подобного типа двухпроцессном волчке нижний валик питающей пары заменяют желобком, огибающим и прижимающимся к верхнему валику. Желобок образуется верхними концами двухплечных рычагов. На нижние концы этих рычагов укреплены грузы так, что их предельное положение ограничивает опорная подставка. Находят, что такое усовершенствование делает более качественным процесс обработки. Шерсть испытывает определенное давление со стороны верхних концов рычагов. Этим давлением она оказывается прижатой к верхнему валику. Рычаги действуют все по отдельности, поэтому по всей ширине верхнего питательного валика одинаковое давление на волокна, которые он подвигает к зубьям барабана Равномерно сдавленная и зажатая у входа в бункер шерсть разрыхляется в одинаковой степени по всей ширине питательного прибора и по всей массе сырья.

Число колков на барабане меняют с учетом особенностей партии материала. Чем тоньше шерсть, тем колков должно быть больше.

Такие машины могут применяться не только для рыхления и очистки шерстей хорошей тонины, но и для их смешивания, подработки гребенных оческов, отходов кардного чесания. Помимо этого, они могут разделять волокна шерсти, окрашенной в массе, и удалять из нее красильную пыль.

Двухпроцессный волчок с наклонными лопастями вала (рис. 69).



Рис. 69. Двухпроцессный волчок с наклонными лопастями


В сравнении с предыдущей конструкцией здесь по-иному происходит подача шерсти на рабочий стол — питающую решетку, а также своеобразно располагаются барабанные била.

Сырье подводится к паре заборных валиков Верхний прижимается к нижнему особыми пружинами. Нижний валик лежит в неподвижных подшипниках, а верхний — в подвижных. Вот на них и давят пружины, установленные с обеих сторон питающей решетки Решетка состоит из деревянных планок.

Перед приемными валиками помещают еще один — предохранительный. Он избавит от травм руки неосторожного работника. За питательными валиками к основному валу машины жестко крепится четырехлопастное било — барабан с четырьмя лопастями и на них наклонно расположенные планки. На каждой планке — по 4 ряда стальных конических колков. Колки почти доходят до приемных валиков, значит, у агрегата положительная разводка.

Сырье, минуя питающую решетку, подходит к нагруженной приемной паре и, выбравшись из зажима между питательными валиками, оказывается под ударами лопастей барабана и их колков. Эти стальные зубья встряхивают шерсть, разбирают, раздвигают, растаскивают из пучков отдельные мелкие волокна, пушат и разрыхляют их, проволакивают клочки по мусорной решетке — оседают, вытрясаются пыль, песок, грязь, нецепкие растительные остатки. Под колосниками стоит вентилятор для уборки пыли и мелких примесей.

Вал машины с наклонными лопастями и спирально расположенными билами покрыт сверху сплошным деревянным кожухом. Воронки для загрузки рыхлого сырья, как в предыдущей конструкции, нет. Выход для протрепанного материала предусмотрен с той же стороны, что и питающая решетка. Конструкция хорошо зарекомендовала себя в первичной обработке — рыхлении и очистке — шерстей тонких, полутонких и не очень свалянных грубых.

Диаметр приводного шкива 300 мм, ширина 100 мм. Размер волчка 3250x1700 мм. Агрегат потребляет 2,2 кВт электроэнергии.

Выколачивающий волчок (рис. 70)



Рис. 70. Выколачивающий волчок


«Специальность» его довольно узкая. Он не производит расщипывания сырья. Предназначен в основном для очистки и рыхления. Обе эти операции повторяются много раз в одном цикле. Между нагруженной питающей парой и билами первого вам а, между билами двух валов, между билами обоих валов и мусорной решетки,которая под валами, сырье претерпевает атаку за атакой и преображается в легкую рыхлую массу.

Сверху на машине — отъемный деревянный футляр. В нем сделана загрузочная воронка для сырья, которое нуждается только в очистке и уже довольно разрыхленное. Под мусорной решеткой ставят либо ящик, либо вентилятор, выводящий пыль и мусор из машины

Рабочая длина валов с билами 800— 1200 мм. Диаметр приводного шкива 260 мм. Размер машины 1800x1400-1800 мм. Расход электроэнергии менее 1 кВт.


Однобарабанные машины

Свои достоинства присущи машинам, которые относятся к классу однобарабанных (рис. 71). В отличие от волчков в них почти не встречается расположение колков и бил по спирали. Гарнитуры укреплены на цилиндрическом барабане. Сильнее или слабее они воздействуют на сырье, благодаря подбору питающих пар и форме колков.



Рис. 71. Однобарабанная трепальная машина Гуже


Однобарабанная трепальная машина для шерсти на гладкую пряжу (рис. 72, 73).



Рис. 72, 73. Общий вид и схема рабочих органов однобарабанной трепальной машины для шерсти на гладкую пряжу


Сырье настилают на питающую решетку. Оно уплотняется предохранительным деревянным валиком и идет к нагруженной питающей паре. Питающая пара подает материал к гарнитуре барабана. Между ними клочки разделяются на более мелкие, а затем барабан выносит их к гладкой мусорной решетке, которая, в свою очередь, препятствует движению, отчего массу встряхивает — происходит дополнительное разрыхление и очистка шерстяного сырья. Распушенная, распущенная шерсть выбрасывается из машины через выпускное отверстие в кожухе (то же самое, что обшивка, футляр, колпак, чехол, покрытие, крышка).

Питающая решетка состоит из деревянных планок, закрепленных на бесконечных ремнях, снабжена натяжным устройством. В качестве приемных валиков используются верхний рифленый и нижний гладкий цилиндры. Питающая пара получает дополнительное давление от грузов в рычажных системах. Связь между цилиндрами непосредственно через шестеренки отсутствует. Поэтому на крупные жгуты шерсти сцеп шестерен не реагирует. Никакие перебои работе узлов питания не грозят.

Если в этой машине намерены обрабатывать длинную шерсть или ее большие клочки, в систему питания добавляют вторую пару цилиндров. Тем увеличивают процесс на дополнительную операцию — рыхление, которое производят обе питательные пары. К тому же с дополнительными цилиндрами и захват шерсти, разумеется, крепче, крупные куски не вырываются при расщипывании колками барабана.

Барабан машин представляет собой стальной вал с закрепленными на нем четырьмя чугунными крестовинами. Поверхность барабана по крестовинам сплошь обшита жестью. И на этом жестяном валу разместились 39 металлических планок, к крестовинам прижатых болтами. На каждой планке в один ряд усажены прямые конические колки, стальные, со шлифованными остриями, пропущенные сквозь планку и запаянные в ней.

Вал барабана устанавливается в простых или шариковых подшипниках, снабженных кольцевой смазкой.

Сверху барабан покрыт железным колпаком. Это откидное покрытие достигает питающей пары и у выпускного отверстия имеет ось вращения. Диаметр барабана по колкам — 1000 мм. Рабочая длина колков 40 мм. Ширину барабана делают 800, 1000 или 1200 мм.

Мусорная решетка выглядит как гладкий лист железа с круглыми отверстиями, которые располагаются в шахматном порядке. Место решетки — под барабаном, и она выгнута по его образующей, одним концом закреплена у питающей пары, а другим — у выпускного отверстия.

Длина машины 2650 мм, ширина ориентирована на ширину барабана — 1700, 1900 или 2100 мм. Приводные шкивы независимо от параметров барабана ставят диаметром 300 мм и 100 мм в ширину. Эта конструкция потребляет от 2,5 до 4,5 кВт электроэнергии.

Созданная для рыхления, очистки и смешивания благородных сортов шерсти, она годится также для других операций. Может, например, разрыхлять и смешивать хлопок, шерстяные, бумажные, льняные и джутовые отходы и подобные им волокнистые материалы, которые предназначаются для аппаратного прядения.

Однобарабанная трепальная машина французской конструкции (рис 74, 75).



Рис. 74. Общий вид однобарабанной трепальной машины французской конструкции


С питающей решетки а (рис. 75) из деревянных планок шерсть подводится к паре приемных валиков б с зубьями, изогнутыми в направлении, противоположном их движению. Питающая пара переносит материал к зубьям барабана в, изогнутым по направлению его движения. Каждый со своей стороны — валики и барабан — энергично хватают и отщипывают волокна, а зубья тех и других растаскивают клочки с собой. После этого расщипывания барабан с ударом проволакивает сырье по мусорной решетке г. Примеси не удерживаются, проваливаются сквозь колосники. Шерсть же после встряски рыхлится еще больше. Пройдя столкновение с мусорной решеткой, изогнутые зубья барабана держат на себе распушенные волокна и, двигаясь дальше, подводят обрабатываемый материал к ветрянке д (эту деталь зовут также крылаткой, ветренницей, косяком и т. п.). Крылья ветрянки касаются барабанной гарнитуры, опережая барабан по скорости, сбивают с его гарнитуры шерсть, еще раз рыхлят и удаляют из машины. Примеси, вылетающие от этого столкновения, падают на вторую мусорную решетку е, та находится под ветрянкой.



Рис. 75. Схема рабочих органов и передач однобарабанной трепальной машины (пунктиром показан путь сырья в обработке)


Протрепывание сырья совершается тут в три приема: вначале расщипывается, дважды встряхивается и выколачивается.

Деревянная поверхность барабана сплошь покрыта овальными изогнутыми зубьями, которые чередуются по 3–4 на 1 кв. дециметре. По размерам и форме зубья барабанные и на питающих валиках подобны. У ветрянки, выбрасывающей обработанный материал, четыре крыла, к каждому по краям крепятся кожаные зубчатые полосы. Эти эластичные зубья, проникнув в гарнитуру барабана, захватывают и снимают шерсть с его изогнутых зубьев. Для того ветрянка должна вдвое превосходить по скорости барабан.

От несчастных случаев и аварий на машине предусматривается специальное устройство, которым можно было бы самостоятельно выключать питание агрегата.

От пыли питающую пару и барабан закрывают сплошным колпаком из жести, оставляя у ветрянки отверстие для выдачи протрепанного сырья.

Задумывалась машина в основном для рыхления и очистки клочковатой, не самого лучшего сорта тонкой шерсти, но она успешно обрабатывает и полугрубую.

Однобарабанная трепальная машина с изломанной линией колков (рис. 76, 77, 78).



Рис. 76. Схема рабочих органов однобарабанной машины с изломанной линией колков.



Рис. 77. План передачи у однобарабанной трепальной машины



Рис. 78. Расположение колков на планке


Рабочий процесс сходен с теми, о которых было рассказано выше. Настеленную на питающую решетку шерсть плотно зажимает рифленый предохранительный валик г и передает нагруженной питающей паре б, в.

Как только сырье оказывается между питающей парой и барабаном а, его растаскивает, разделяет расщипывает гарнитурой барабана и зубьями валиков и до выброса из машины проносит по гладкой мусорной решетке Колки барабана не достают решетки на 15 мм.

Питающую решетку собирают из деревянных планок, закрепив их на четыре бесконечных ремня. Рабочая ширина решетки 1100 мм, длина 3000 мм. Полотно надето на два валика д, на каждом — по 4 муфты, которые на общей оси прикрепляют болтами. Диаметр муфт 136 мм. Чтобы не провисало, полотно поддерживают поперечным стержнем.

Питающую пару из верхнего рифленого и гладкого нижнего цилиндров отделяет от барабанных колков расстояние в 10 мм Когда проходят жгуты шерсти разной величины, шейки верхнего цилиндра перемещаются в своих направляющих. Наименьший просвет между цилиндрами исчисляется в 3 мм при диаметре самих цилиндров 75 мм Дополнительное давление на шейке верхнего валика создает обычная система рычагов первого рода.

Барабан машины монтируется из 5 крестовин, на валу. На крестовины привинчивают болтами 23 металлические планки с прямыми коническими колками. Днища барабана застилают листовой жестью. Поверхность его по уровню планок заделана деревянными прокладками. На каждой планке по ломаной линии сидят около 70 колков с закругленными остриями. Рабочая длина колка 35 мм, толщина 7 мм. Диаметр барабана по планкам — 830 мм, по гарнитуре — 900 мм. Ширина барабана 1200 мм. Диаметры предохранительного валика г — 110 мм, валика питающей решетки д — 140 мм. Размеры шкивов (рис. 76): ш1 — 470, ш2 — 80, ш3 — 450 мм. Число зубьев у шестерен: z1 — 25, z2 — 130, z3 — 16, z4 — 16, z5 — 30, z6 — 84, z7 — 64, z8 — 39.

Мусорную решетку располагают под барабаном между питающей парой и выпускным отверстием Верх машины под плотным съемным футляром.

Любую из конструкций осваивают в работе и прилаживают к основному виду сырья. Для трепания, допустим, длинных полугрубых шерстей в приемной паре совмещают два рифленых цилиндра. На барабане располагают по 10 планок с двумя рядами граненых колков в каждом. Прямые колки стачивают под углом 45° и усаживают на планках в шахматном порядке Выбирают колки высотой 50 мм, делая расстояние между смежными колками одного ряда 60 мм.

Для обработки засоренного и клочковатого мериносного сырья, а также ему подобного вводят дополнительное расщипывание Кроме первоначального расщипывания между барабаном и питающей парой, под барабаном ставят два ряда неподвижных колков, с их помощью и осуществляют операцию вторично.

Слой шерсти, который подают на рабочий стол, тоже не выбирается произвольно. Учитываются величина и характер разводки рабочих органов и сами свойства сырья. Грубой шерсти настилают до 150 мм, сорту потоньше слой уменьшают, ведь в том же килограмме волокон тонкой шерсти больше, чем какой другой. Следовательно, и обработка ее пойдет медленнее. Сырье из тонких и полутонких рун, как известно, отличается упругостью, поэтому в машине важно отрегулировать надежный зажим концов в питательных валиках.

В некоторых случаях приемные валики обматываются шерстью, не успеешь включить машину. Специалисты советуют при монтаже питательной решетки добиваться как можно более плотного соприкосновения деревянных планок, подгонять их с миллиметровой точностью.

На примере еще одной конструкции (рис. 79, 80 — вид слева и справа) рассмотрим систему передач, типичную для машин с одним барабаном.




Рис. 79, 80. Вид слева и справа машины с одним барабаном


Рычажное приспособление нажимает на верхний валик, отводка о служит для перевода ремня. Растрепывает шерсть барабан Б, покрытый остроконечными, довольно толстыми колками К. На рис. 79 машина показана с открытым чехлом, который поднимают на время чистки узлов. Позади чехла — козырек К, он — продолжение чехла и направляет полет разрыхленной шерсти. Место выхода обработанного сырья Л.

С главного вала машины (рис. 80) от сидящего на нем шкива сообщается движение шкиву Ш. На продолжении оси шкива Ш есть маленькая шестеренка, сцепляющаяся с шестерней 3 и приводящая ее в движение. Шестерня 3, в свою очередь, воздействует на шестерню 31, а 31 находится на оси, которая с левой стороны машины передает движение верхнему питающему валику. На оси шестерни 3 укреплена еще одна шестеренка, связанная с шестерней на оси заднего валика, того, который задает движение решетке Р. Решетку Р натягивают при помощи установительного болта У. Предохранительный валик П двигается от цепного блока на оси переднего валика решетки Р с левой стороны машины. Натяжение решетки необходимо для того, чтобы вызвать работу сил трения на поверхности валика, который приводит ее в движение. И этих сил трения должно быть довольно, чтобы вся решетка начала двигаться. Однако чрезмерно натянутая решетка быстро выходит из строя, потому без нужды натяжения не увеличивают.

Почти у каждой конструкции, как сорок тысяч братьев, живет множество вариантов. Отличия в них преимущественно в размерах рабочих органов, рабочей ширине машины и окружности барабана, которыми в принципе определяется производительность агрегата.

Среди попыток совместить достоинства разных проектов — машина, способная на обработку шерстей как благородных качеств, так и низкого сорта (рис. 81). Трепание в ней скорее похоже на растягивание волокон и проходит в сравнении с другими способами безболезненнее, пучки меньше рвутся и портятся, основная масса сохраняет прядильные качества.



Рис. 81. Машина, способная обрабатывать шерсть разных сортов


Двухбарабанные машины

Несомненно, повтором одинаковых операций с двумя циклами протрепывания достигается более высокий уровень обработки шерсти. Такой системе стали по «зубам» сильно свалянные грубые руна и клок.

Двухбарабанная трепальная машина «Рвач». Она очень известна в нашей стране. Специалисты ценят в ней целесообразное устройство и взаимодействие гарнитур главных рабочих органов (рис. 82–85).



Рис. 82. Трепальная машина «Рвач». Схема рабочих органов



Рис. 83. «Рвач». Схема передачи, вид справа



Рис. 84. «Рвач». Схема передачи, вид в плане



Рис. 85. «Рвач». Продольный разрез и план


Машина состоит из двух барабанов, двух ветрянок-крылаток, питающей решетки и двойной колосниковой решетки под барабаном. Оба барабана усеяны колками конической формы, несколько загнутыми вперед по направлению вращения барабана. И барабаны и ветрянки движутся против часовой стрелки.

«Рвач» — из машин периодического действия. Цепочка складывается из питания, трепания и выбрасывания. Время любой операции устанавливает сам работник.

Впускной клапан б уже предварительно открыт, когда настилают шерсть на питающее полотно а. С него сырье подается прямо в зев первого барабана. Клапан тотчас закрывается до начала следующего цикла. Открытие и закрытие клапана, пуск полотна производят от руки Как только шерсть оказывается в барабане Б1, за нее принимаются зубья, встряхивают, уносят вверх по направлению к ветрянке В1, которая крутится почти вдвое быстрее барабана. В пространстве между барабаном Б1, и ветрянкой В1 шерсть разрыхляется в первый раз. Ветрянка при этом своими эластичными кожаными зубьями погружается в гарнитуру барабана примерно на 40 мм. При рыхлении она приподнимает жгут руна из глубины барабана, а более мелкие клочки сбрасывает в сферу действия второго барабана Б2. Между барабанами положительная разводка 10–30 мм.

На подходе первого барабана к гарнитуре второго жгуты шерсти расхватываются колками того и другого с большой силой. Сила такова, что разрыхляется сырье свалянных рун. Тем временем разрыхленные клочки, удержавшиеся на первом барабане, вытрясаются и выколачиваются о колосниковую мусорную решетку, которая стоит под этим барабаном, снова достигают ветрянки В1. Она еще раз рыхлит волокна и подталкивает их к гарнитуре встречного барабана Б2. Размягченные клочки, попав под влияние второго барабана, приближаются к ветрянке В2. Вращаясь в два раза быстрее барабана Б2, та на какое-то мгновение опускает внутрь него свои кожаные крылья. Шерстяная масса приподнимается, ветрянка В2 увлекает ее за собой к барабану Б2. Между ними шерсть вновь разрыхляется, расщипывается, причем жгуты покрупнее продолжают путь, следуя за ветрянкой В2, мелочь выколачивает о колосниковую решетку барабана Б2 и подводит эти же клочки, так сказать, к основному рабочему месту — встречной гарнитуре барабана Б1.

Циклы повторяются нужное число раз. Очищенную и разрыхленную шерсть выводят из машины, рычажной передачей открыв выпускной клапан в. Ветрянка В2 сбивает мелкие рыхлые клочки со второго барабана и выбрасывает их из машины. Барабаны крутятся на высокой скорости, а разрыв клочков — самая главная и самая резкая операция — проходит на удивление безболезненно для сырья. Это потому, что ей предшествуют взрыхление ветрянками и выколачивание о мусорную решетку. Зубья гарнитур грозными только кажутся. При положительной разводке они растаскивают, но не режут клочки.

Барабаны машины одинаковой ширины по 950 мм и разных диаметров по гарнитуре — 975 и 630 мм. Поверхность каждого барабана состоит из металлических планок, на которых по два ряда изогнутых колков, выстроенных по шахматному порядку. Длина колков приблизительно 100 мм, толщина по основанию — 18 мм, расстояние между ними по длине барабана 80 мм, между центрами колков отдельных рядов — 40 мм.

У обеих ветрянок, установленных над барабанами, по четыре крыла. На крыльях — зубчатые кожаные полосы. Как раз они-то и достают до барабанных колков. Диаметр ветрянок по гарнитуре 475 мм. На 30 мм ниже барабанных гарнитур устроены колосниковые решетки из прутьев, отстоящих один от другого на 10 мм. Питающее полотно по ширине 850 мм, от него до зубьев первого барабана 60 мм.

Каждый барабан действует от своего привода (рис. 83–85). Размеры передач: ш — 85 мм, ш1 — 370, ш2 — 510, ш3 — 190, ш4 — 190, ш5 — 535 мм. Машина работает от двух моторов. Один вращает барабан со скоростью 960 оборотов в минуту, другой делает 925 оборотов, приводя в движение второй барабан и обе ветрянки.

Число оборотов в минуту и окружная скорость рабочих органов рассчитываются так Обозначим число оборотов в минуту:

первого мотора (960) — n1; второго мотора (925) — n2 другого рабочего органа — n; их окружную скорость (м/мин) — V.

Тогда у первого барабана Б1 оборотов:

1 = n1ш/ш5 = 960∙85/535 = 152;

окружная скорость:

1 = π∙Д(диаметр)Б11 = 3,14∙0,975∙152 = 465 м/мин.

У второго барабана Б2 оборотов:

2 = n2ш/ш1 = 925∙85/370 = 212;

окружная скорость:

2 = π∙ДБ22 = 3,14∙0,63∙212 = 419 м/мин.

У ветрянок (B1 или В2) оборотов:

1 = n∙Б2ш/ш4 = 212∙510/190 = 569

окружная скорость:

1 = π∙ДВ12 = 3,14∙0,475∙569 = 848 м/мин;

VB2 = VB1 = 848 м/мин.

У машины длина без козырька — 4100 мм, ширина — 2100 мм, высотой она 2000 мм.

Машину «Рвач» на фабриках часто использовали для разрыва верблюжьих и других свалков.

В отечественных трепальных агрегатах применяются также барабаны одинакового диаметра (рис. 86).



Рис. 86. Продольный разрез трепальной машины завода им. Первого августа:

А — решетка; В, B1, — питательные валики; a, a1 — колки; С — барабан; D — решетки; Н — ящик для мусора; Е — второй барабан; К — козырек


Эта конструкция предназначена для тонкорунной, полутонкорунной шерсти, богатой жиропотом, но малопыльной. На современных фабриках работают трепальные машины тоже с двумя барабанами. Ручную подачу сырья на них давно заменили автопитателями (рис. 87).



Рис. 87. Автопитатель AG-34:

1 — бункер; 2 — горизонтальный транспортер; 3 — колковый транспортер; 4 — разравнивающий гребень; 5 — сбивающий барабан


Одна из действующих ныне марок машин 2БТ-150-Ш, которая шире предшественниц и производительнее (рис. 88). Кроме того, здесь технологически улучшен процесс трепания.



Рис. 88. Двухбарабанная трепальная машина 1БЕ-150-Ш


Равномерный слой шерсти настилается на питательную решетку 1, движущуюся со скоростью 0,067-0,133 м/с. Питающие валики 2 (верхний рифленый, нижний гладкий) захватывают шерсть и подают ее в камеру трепания. Зажим в питающей паре создается двумя пружинами 3 и достигает 1,75 кН. Верхний валик вращается быстрее нижнего, благодаря чему обеспечивается распрямление и сдвиг клочков шерсти.

Первый барабан 4 с восемью колковыми планками вращается со скоростью 12,5 м/с, второй барабан 8 — со скоростью 14,3 м/с. Первый ударяет по клочкам шерсти, зажатым в питающих валиках, разрыхляет их на мелкие части и сбрасывает на колосниковую решетку 12, которая находится под ним, и протаскивает по колосниковой решетке. Таким образом, шерсть еще раз встряхивается и разрыхляется, некоторые примеси отделяются и через отверстия колосниковой решетки выпадают в бункер 13, откуда транспортером сор отводится из-под машин.

Потом шерсть колками первого барабана подается к колкам второго, этот барабан подхватывает ее, ударяет о призму 14 и опять проносит по колосниковой решетке к выходу 11. Разрыхленная и отчасти очищенная масса центробежной силой выбрасывается на отводящий транспортер. Козырек 10 гасит скорость сырья и изменяет траекторию его полета.

При передаче с первого барабана на второй отдельные жгуты шерсти могут задерживаться неподвижными колками 7, которые сообща с колками второго барабана разрыхляют волокна дополнительно.

Над барабанами установлена перфорированная перегородка 5, а сверху машина покрыта кожухом 9. Через два патрубка 6 в нем отсасывается пыльный воздух. Для остановки машины после выключения электродвигателя используется колодочный тормоз (рис. 89).



Рис. 89. Колодочный тормоз барабана


Внутри шкива 8, посаженного на вал первого барабана, стоят две алюминиевые колодки 9 с наклепанными на них тормозными накладками. При включении электродвигателя между накладками и шкивом 8 сохраняется зазор. С выключением электродвигателя в обмотку электромагнита 5 поступает ток, сердечник 6 втягивается и связанная с ним тяга 7 поворачивает рычаг 4 вокруг оси 3 против часовой стрелки. На этой же оси жестко закреплен кулачок 2, при повороте рычага он раздвигает колодки и прижимает их к шкиву, почему машина останавливает движение. Через 10–15 с реле отключает электромагнит, под давлением пружин 1 и 10 колодки возвращаются к первоначальному положению, поворачиваясь вокруг своей оси 11.

Окончание следует

СТРОИТЕЛЯМИ НЕ РОЖДАЮТСЯ

Сантехнические работы. Трубы

А.А. Савельев


Вместо предисловия

Государственный комитет Российской Федерации по строительству и жилищно-коммунальному комплексу письмо от 19 июля 2000 г. № СК-3103/12

О преимущественном применении труб из полимерных материалов для трубопроводных систем различного назначения

Многолетний опыт эксплуатации трубопроводных систем различного назначения с использованием металлических труб выявил существенные недостатки их функционирования, главные из которых — коррозионные разрушения стенок труб и зарастание их внутренней поверхности.

Высокая аварийность трубопроводных систем жизнеобеспечения приводит к потерям до 40 % воды, 15–18 % тепла, 10–12 % нефтепродуктов и огромным ежегодным материальным затратам, связанным с ликвидацией аварии и необходимостью замены изношенных сетей. Долговечность большинства стальных трубопроводов не превышает 10 лет. Сегодня состояние трубопроводов — самое слабое звено в решении задач энергоресурсосбережения.

Надежность и долговечность трубопроводных систем может быть достигнута при использовании в напорных системах (свыше 1.5–2 МПа) металлических труб с защитными покрытиями, а в низконапорных и безнапорных системах — только неметаллических труб, особенно — труб из полимерных материалов.

В большинстве стран мира удельный вес трубопроводов из металла во внутренних инженерных системах не превышает 20–30 %. Остальной объем занимают трубы из полимерных материалов, отвечающие основным требованиям к трубопроводам: надежность, долговечность, экологическая безопасность, исключение потерь в системах, минимальные эксплуатационные затраты.

На заседании научно-технических советов в феврале 1997 г., марте 1998 г. и коллегии Госстроя России была одобрена деятельность ЗАО «Гекнта», НПО «Стройполимер», «Центросс», ТОО «Металлополимер», ЗАО «Газтурбпласт», ЦНИИСМ по внедрению на российском рынке труб из полимерных материалов отечественного производства, отвечающих техническим характеристикам лучших зарубежных аналогов. Трубы из этих материалов являются наиболее прогрессивными для монтажа систем горячего и холодного водоснабжения и систем отопления (включая напольное отопление).

В связи с вышеизложенным, в целях повышения надежности трубопроводов, применяемых во внутренних инженерных системах горячего и холодного водоснабжения и отопления, их долговечности и экологической безопасности, а также для комплексного решения задач энергоресурсосбережения Госстрой России рекомендует органам архитектуры и градостроительства, проектным организациям республик, краев и областей в составе Российской Федерации приоритетное применение полимерных, а также металлополимерных труб при проектировании и монтаже систем инженерного обеспечения зданий и трубопроводных систем различного назначения.


Трубы

Мы в общих чертах знаем, что трубы бывают водопроводные, отопительные, канализационные. В жилых домах в основном применяются стальные, медные или пластиковые трубы. Монополия стальных труб, незыблемая до середины XX века, в наше время нарушена. Сегодня с ними чаще всего конкурируют полимерные и реже, в связи со своей дороговизной, медные трубы.

В России для внутренних трубопроводных систем холодного и горячего водоснабжения и отопления до последнего времени в основном применялись стальные трубы и только для гибких подводок к приборам использовались полиэтилен и сплавы меди. Еще несколько лет назад в нашем сознании сидело крепкое убеждение в том, что труба может быть только железной. Но многолетний опыт эксплуатации показал, что стальные трубы подвержены коррозии, срок их эксплуатации невелик. Коррозия ухудшает качество воды и засоряет внутреннюю полость труб, уменьшая их пропускную способность и ухудшая работу различных сантехнических устройств.

Быстрое проникновение современных строительных технологий на рынок не могло не коснуться инженерного оборудования зданий. Сегодня уже не нужно убеждать кого-либо в преимуществах применения современных полимерных трубопроводов. В последний десяток лет ситуация изменилась кардинально. На рынке появилось множество трубопроводов, различающихся не только материалом, но и способом соединения элементов системы друг с другом. На сегодняшнем строительном рынке представлен практически весь ассортимент существующих в мире трубопроводов.

Однако многообразие материалов и технологий часто вводит в растерянность не только неопытных застройщиков, но и специалистов-сантехников. Сориентироваться в этом изобилии весьма сложно, так как применение какой-то технологии требует определенных затрат, а неудачный выбор может привести к потере времени и вложенных средств.

Наибольшее распространение на российском рынке пластмассовых труб получили трубы из полипропилена и металлополимерные трубы. У каждого из этих видов труб существуют свои достоинства и недостатки. Основное преимущество полипропиленовых труб перед металлополимерными — в их более низкой стоимости. Несмотря на конструктивные различия оба вида труб выполняют в основном одинаковые задачи и предназначены для холодной, горячей воды и отопления. Правда, для систем центрального отопления по своим свойствам полипропиленовые трубы применяться не могут — чтобы прослужить десятки лет, температура воды в них не должна превышать 75 °C. Поэтому область их применения пока ограничена трубопроводами холодного и горячего водоснабжения.

Металлополимерные трубы представляют собой сложную конструкцию, состоящую из пяти слоев: из «сшитого» (модифицированного) полиэтилена, клеевой прослойки, слоя алюминиевой фольги, клеевой прослойки и защитной оболочки из полиэтилена. Алюминиевая фольга практически не влияет на эксплуатационные параметры труб — рабочее давление и температуру. Жидкость внутри трубы перемещается не по алюминиевой, а по пластмассовой трубе, и поэтому именно свойства сшитого полиэтилена определяют эксплуатационные параметры трубы. Главная задача алюминиевой прослойки — создание диффузионного барьера, препятствующего проникновению кислорода из атмосферы внутрь трубы. Другое назначение алюминиевой прослойки — частичная компенсация теплового расширения полимерной трубы. Так как коэффициент линейного теплового расширения у полимеров в 10–12 раз выше, чем у стали, то при эксплуатации в системах горячего водоснабжения и отопления в металлополимерных трубах возникает внутреннее напряжение, которое должна уравновесить клеевая прослойка. В процессе эксплуатации различные слои трубы расширяются по-разному. В результате происходит расслоение труб в процессе эксплуатации. Еще более уязвимы позиции металлополимерных труб к замораживанию. При расширении воды внутри трубы вследствие замерзания происходит деформация алюминиевой фольги и опасность разрыва сварного шва во внутренней полипропиленовой трубе.

Однако при выборе материала трубопровода простота эксплуатации и монтажа пластмассовых труб оказывает решающее значение над всеми другими видами труб. Проблема линейного расширения пластмассовых труб в стояках легко решается с помощью специальных компенсаторов. Функции компенсации линейного удлинения, выполняемые алюминиевой фольгой, имеют смысл лишь при открытой прокладке труб в системах отопления, где протяженность трубопроводов достаточно большая. В системах холодного водоснабжения и в теплых полах (там трубы замоноличивают в бетон) компенсация и вовсе не нужна.

Зарубежный опыт строительства полностью исключает открытую прокладку внутренних санитарных систем. Трубопроводы прокладывают в специальных коробах и каналах, что обеспечивает удобный доступ к ним, а также скрывает от глаз «изгиб» труб вследствие теплового расширения, который никак не сказывается на их эксплуатационных характеристиках, но кажется неэстетичным при прокладке труб на открытой поверхности стены.

Интересно сделать анализ существующих на строительном рынке пластмассовых труб (табл. 1). Анализ показывает, что в последние годы предлагается полная номенклатура пластмассовых труб. Во внутренних санитарно-технических системах зданий используют трубы из полиэтилена и сшитого полиэтилена, полипропилена, полибутилена, поливинилхлорида, хлорированного поливинилхлорида, а также композиты на основе полиэтилена, полипропилена и полибутилена. Все группы полимерных материалов характеризуются примерно одинаковой стойкостью к давлению и температуре. Так, например, все трубопроводы для горячего водоснабжения рассчитаны на максимальную рабочую температуру до 75 °C, а для отопления — 90 °C при давлении до 0,6 МПа с учетом 25-летней эксплуатации. Но способы соединений и физические свойства труб, выполненных из этих материалов, резко различаются.

Самым распространенным материалом для систем холодного водоснабжения является полиэтилен (ПЭ). При высоких температурах прочность полиэтилена падает, и он переходит в пластично-вязкое состояние. Полиэтилен быстро стареет под действием прямых солнечных лучей. Поэтому при использовании полиэтиленовых труб в наружных открытых сетях их стабилизируют, наполняя полимер сажей. Полиэтиленовые трубы эластичные и при малом диаметре поставляются в бухтах.

Одним из наиболее распространенных материалов является сшитый полиэтилен (ПЭС, РЕХ). Сшивание полиэтилена производят физическим и химическим способами, что позволяет получать материалы с разными физическими свойствами. Они могут эксплуатироваться при температуре до 95 °C и при рабочем давлении до 2 МПа (20 атмосфер). При таких параметрах трубы РЕХ можно рекомендовать как для систем водоснабжения (холодного и горячего), так и для отопления в многоэтажных домах. Из всех пластмассовых труб именно трубы из сшитого полиэтилена наиболее широко используют в системах напольного отопления. Монтаж систем из труб РЕХ осуществляют в разъемных и неразъемных вариантах. Разъемные соединения выполняют с помощью латунных фитингов (муфт, угольников, ниппелей, тройников) с уплотняющими устройствами в виде накидных гаек, цанговых устройств и т. п. Неразъемные соединения делают с помощью фитингов и обжимаемых муфт. Соединение герметизируют с помощью легких ручных обжимных прессов. Следует учитывать, что надежное и долговечное соединение можно обеспечить, используя только фитинги, специально рекомендуемые производителем труб.

Трубы из линейного полиэтилена низкой плотности PELLD (PEL) более дешевые и более гибкие по сравнению с трубами из сшитого полиэтилена и пригодны к использованию в системах холодного водоснабжения.

Полипропиленовые (ПП) трубы более жесткие, системы из них собирают при помощи фитингов: уголков, тройников и т. п. Системы из ПП-труб неразъемные. Они монтируются методом диффузионной сварки. Для устройства тонких ответвлений от магистрали с большим диаметром имеются специальные фитинги. Для сочленения ПП-труб с металлическими деталями (кранами, смесителями) изготовляют специальные фитинги с запрессованными в них латунными элементами. Полипропиленовые трубы с успехом можно использовать для внутренних систем подачи холодной и горячей воды и для отопительных систем в индивидуальном коттеджном строительстве. В таких случаях долговечность систем достигает 50 лет. Для внутренних систем холодного и горячего водоснабжения используют наиболее теплостойкую разновидность полипропилена — рандом сополимер (тип 3).

Трубы делятся на три категории:

PN10 — тонкостенный вариант, предназначенный только для холодной воды, номинальное давление 1 МПа;

PN20 — универсальная труба, применяется как для холодного, так и для горячего водоснабжения;

PN25 — трубы, армированные алюминиевой фольгой; предназначение — для низкотемпературных систем отопления (до 75 °C).

Полибутилен (ПБ) — хорошо зарекомендовавший себя материал для труб отопления и горячего водоснабжения. Основными преимуществами этих труб являются: возможность их сваривания при стыковании труб и фитингов и более чем 50-летний срок эксплуатации при температуре 70 °C.

Трубы из поливинилхлорида (ПВХ, ПВХХ). могут эксплуатироваться при температуре до 60 °C, а из хлорированного поливинилхлорида — до 95 °C. Эти трубы негорючие и обладают более низким коэффициентом линейного термического расширения по сравнению с трубами перечисленных выше материалов. Поливинилхлорид более жесткий, более химически- и светостойкий полимер, чем полиэтилен. Оптимальная область применения труб из полиэтилена и поливинилхлорида — в системах водоснабжения и локальных канализационных сетях, работающих без давления. Главнейшие преимущества полимерных труб — малый вес, гладкость стенок, коррозионная стойкость, простота монтажа. Такие трубы можно резать простой ножовкой: сети из них легко собирают вручную с помощью раструбов, муфт и фитингов, имеющих резиновые уплотняющие кольца. Сети из поливинилхлоридных труб можно собирать также с помощью клеев и сварки. Фирмы выпускают богатый ассортимент фитингов: уголков, тройников, переходников и т. п. Еще одна рациональная область применения поливинилхлоридных труб — водоотводящие системы с крыш.

Композитные (металлопластик) трубы появились на строительном рынке в начале 80-х годов. Основное преимущество многослойных композитных труб в системах водоснабжения и отопления — снижение до нормы кислородопроницаемости. Материал имеет хорошую прочность на разрыв в сочетании с гибкостью и коррозийной стойкостью. Композитные трубы используют как для систем водоснабжения, так и отопления. Режим эксплуатации: давление до 1,0 МПа, температура до 90 °C. Большинство композитных трубных систем представляет собой комбинацию сшитый полиэтилен — алюминий. Но на рынке уже имеются композитные трубы полипропилен — алюминий с наружными диаметрами 16, 20, 25, 32 и 40 мм. Существуют два вида металлополимерных труб. В одном случае алюминиевая труба находится в середине сечения трубы из РЕХ и все слои соединены клеевыми прослойками. В другом случае алюминиевая оболочка находится близко к наружной поверхности и сверху ее защищает лишь тонкий слой полимера. Металлополимерные трубы имеют в пять раз более низкий коэффициент линейного расширения. Из таких труб хорошо монтируются сложные по конфигурации системы, всевозможные подводки, например к тепловым приборам. Металлополимерные трубы эффективны в открытой проводке, в особенности для подключения различных приборов (радиаторов, водонагревателей и т. п.).


Достоинства и недостатки полимерных трубопроводов

Достоинства:

— полное отсутствие коррозии и накипи в процессе эксплуатации трубопровода;

— не требуется окраска;

— меньший (по сравнению с металлическими трубами) уровень шума потока жидкости;

— полная герметичность соединений;

— не проводят блуждающие токи;

— вес полимерного трубопровода в несколько раз меньше веса аналогичного трубопровода, смонтированного из металлических конструкций;

— в полимерных трубах, вследствие физических свойств материала, обеспечиваются лучшие, чем в металлических трубах, условия для протекания жидкости. Кроме того, проходное сечение грубы не сужается в течение всего срока эксплуатации;

— высокая химическая устойчивость трубопроводов;

— допустимое рабочее давление до 25 атм.;

— максимально допустимая температура протекающей жидкости — до 95 С (кратковременно — до 115 °C);

— система не разрушается при замерзании жидкости в трубах;

— срок службы трубопровода — свыше 50 лет;

— в процессе монтажа трубопроводов применяется уникальная техника соединения: сварка материала в единое целое (в сварном соединении отсутствуют сварные швы), что обеспечивает полную герметичность конструкций;

— процесс сварки занимает малый промежуток времени. Например, время сварки труб диаметром 20 мм составляет 9 секунд. При этом соединение можно вводить в эксглуатацию сразу же после сварки;

— в процессе монтажа металлопластиковых трубопроводов используются уникальные обжимные фитинги, позволяющие собрать трубопровод даже необученному человеку;

— компоненты трубопровода изготавливают из полимера — материала, не наносящего вред окружающей среде. Ни при его обработке, ни при утилизации отходов не образуются экологически вредные вещества;

— наличие диффузионного барьера в металлополимерных трубах в виде слоя алюминиевой фольги, является отличным техническим решением, позволяющим надежно защитить дорогостоящие и ответственные элементы систем отопления (котлы, теплообменники, насосы, радиаторы) от агрессивного воздействия кислорода.


Недостатки:

— в основной своей массе полимерные трубопроводы изготавливают из горючих материалов. Поэтому СНиП рекомендует устанавливать трубопровод в закрытой нише стены или пола;

— у всех полимерных трубопроводов большой коэффициент теплового линейного расширения, на трубопроводах значительной протяженности нужно устраивать тепловые компенсаторы.

(Еще один аргумент в пользу устройства трубопроводов в нише: от теплового удлинения труба в нише может изогнуться, ее все равно никто не увидит.);

— компоненты металлопластиковых труб имеют различный тепловой коэффициент линейного расширения. При перепадах температур теплоносителя из-за различного температурного коэффициента может произойти расслоение трубы по клеевому слою;

— большинство полимеров боятся ультрафиолетового излучения, во избежание старения труб они должны быть ограждены от прямого солнечного света;

— так как пластиковые трубы обладают диэлектрическими свойствами, заземление через них невозможно. В процессе эксплуатации пластмассовые трубопроводы накапливают заряды статического электричества, что может явиться причиной пожаров и взрывов. Поэтому при проектировании таких трубопроводов необходимо предусмотреть заземление металлических ванн и моек для уравнивания потенциалов в соответствии с требованиями действующих нормативных документов.

* * *

Рассмотрим некоторые виды труб поподробнее, но с некоторой оговоркой. Времена, когда на всей территории страны производились трубы по единому стандарту, благополучно канули в Лету. Теперь каждая фирма-производитель выпускает свою продукцию, руководствуясь собственными техническими условиями (ТУ), и как-то обобщить разнообразную номенклатуру изделий в рамках этой статьи вряд ли удастся. Поэтому будут описаны основные свойства труб и способы их монтажа. Современная сборка труб не вызывает каких либо трудностей и вне зависимости от материла труб сводится к трем-четырем приемам: резьбовая сборка, сборка с пресс-обжимом, сварка или склейка труб. Резьбовое соединение выполняют с помощью двух гаечных ключей, и оно под силу любому мужчине. Сварка или сборка труб обжимом делается специальным инструментом. Такой инструмент часто дают на прокат за небольшую плату в магазинах сантехники, овладеть методами работы этим инструментом можно засчитанные минуты. Времена, когда для устройства трубопроводов была нужна газовая сварка и пара-тройка сантехников, ушли вместе с металлическими трубами. Сборка современного трубопровода не сложнее детского конструктора. Общим элементом всех механических соединений является штуцер, на который надевают трубу. Наружная поверхность штуцера имеет кольцевые выступы — для соединения труб из сшитого полиэтилена, а для соединения металлополимерных труб предусматриваются еще и кольцевые проточки для укладки в них уплотнительных колец/Другой конец штуцера имеет резьбу для присоединения к арматуре, коллектору или прибору.

Для полипропилена и полибутилена (трубы НПО «Стройполимер», Aquaterm, Prandelli, Arili, Ege Polimer) обычно используют метод диффузионной сварки, для ПВХ (Nibco) агрессивные клеи. Трубы из сшитого полиэтилена (Wirsbo, Rehau, Uponor), а также композитные (РТИ Каучук, НИИКИМТ, Henco, Giacomini, Kitek, Valsir и Unicor) не варят, а потому соединяют с помощью резьбовых компрессионных или обжимных гильз.


• Трубы металлопластиковые

Металлополимерные, трубы выпускаются двух типов (рис. 1).



Рис. 1. Металлополимерные трубы:

а — с клеевыми прослойками; б — с перфорированным алюминиевым слоем; 1 — слой алюминия; 2 — внутренний слой из сшитого полиэтилена; 3, 4 — два клеевых слоя, связывающие между собой слои полиэтилена и алюминия; 5 — наружный слой из сшитого полиэтилена


Первый — алюминиевый слой расположен между двумя приблизительно одинаковыми слоями полимера. Сцепление алюминия с полимером обеспечивается клеевой прослойкой. При таком решении в качестве полимера используется «сшитый» полиэтилен, и труба в этом случае обозначается РЕХ-А1-РЕХ.

Второй — алюминиевый слой располагается на наружной поверхности полимерной трубы. Сверху алюминий защищается тонким слоем полимера. Сцепление в этом случае обеспечивается либо клеевыми слоями (труба РЕХ-Stabil), либо с помощью полимера, затекающего в перфорацию на алюминиевой трубе (например, комбинированные трубы PN 25).

Алюминиевая труба в рассмотренных вариантах металлополимерных труб получается из полосы алюминиевой фольги, сворачиваемой вокруг полимерного сердечника и свариваемой с помощью лазера.

Металлополимерные трубы РЕХ-А1-РЕХ применяются в системах холодного и горячего водоснабжения. Применяются в системах радиаторного и напольного отопления, в технологических трубопроводах и системах водоподготовки, для отопления открытых площадок и лестничных сходов, бассейнов, а также для систем подогрева грунта в теплицах и оранжереях. Металлополимерные трубы могут применяться как отдельно, так и в сочетании с другими видами труб. Основные технические характеристики металлополимерных труб РЕХ-А1-РЕХ приведены в таблице 2 приложения.

В соответствии с принятыми международными правилами трубы в процессе их производства маркируют несмываемой краской (рис. 2).



Рис. 2. Пример маркировки металлополимерных труб


Системы трубопроводов из металлополимерных труб пригодны для всех известных видов прокладки. Благодаря особым свойствам металлополимерных труб сокращается время монтажа систем за счет уменьшения количества соединений и отсутствия расходных материалов и предварительных заготовок. Учитывая гибкость труб, при монтаже систем водоснабжения и отопления можно использовать как традиционную тройниковую, так и коллекторную схему.

В современном строительстве коллекторная схема имеет широкое распространение благодаря своей надежности и ремонтопригодности, простоте теплового и гидравлического расчета и из-за возможности размещения регулирующей и запорной арматуры в одном технологическом шкафу.

Металлополимерные трубы предпочтительно прокладывать скрыто в бороздах, каналах и шахтах, при этом должен быть обеспечен доступ к разъемным соединениям и арматуре путем устройства дверок и съемных щитов, на поверхности которых не должно быть острых выступов.

В случае замоноличивания горизонтальных трубопроводов, для предотвращения образования воздушных пробок в трубах, их следует прокладывать с подъемом более 0,003 в сторону водоразборной арматуры. Замоноличенный трубопровод целесообразно прокладывать в кожухе (например, труба в трубе). До замоноличивания трубопроводов необходимо выполнить исполнительную схему монтажа данного участка и провести гидравлические испытания.

Бухты труб, хранившиеся или транспортировавшиеся при температуре ниже 0 °C, должны быть перед раскаткой выдержаны в течение 24 часов при температуре не ниже 10 °C. В процессе размотки бухт и монтажа трубопроводов необходимо следить, чтобы маркировка на трубах находилась на одной образующей поверхности трубы. Прокладку трубы следует вести без натяга, свободные концы закрывать заглушками во избежание попадания грязи и мусора в трубу.

Для соединения металлопластиковых труб используются оригинальные фитинги: под опрессовку и под зажим (рис. 3).



Рис. 3. Пресс-фитинги:

а — обжимной, б — резьбовой


Использование фитингов, входящих в поставку фирмы-производителя, позволяет значительно сократить трудоёмкость и продолжительность сборки. Монтаж не требует специального дорогостоящего инструмента и высокой квалификации исполнителя. Таким образом, достигается экономия средств на этапе проведения сборки системы.

При использовании пресс- и резьбовых фитингов наружная пресс-гильза спрессовывается на трубу. О-образные кольца обеспечивают плотность между вставкой и внутренней стенкой трубы.

Запрессовку в резьбовых фитингах осуществляют плотной затяжкой накидной гайки. В прессовых фитингах сжиманием внешней гильзы из нержавеющей стали при помощи специального прессовочного инструмента. Пресс-соединение не может быть рассоединено, в то время как при резьбовом соединении можно развернуть гайку, при этом вставка останется плотно соединенной с трубой. Пресс-клещи подходят для использования как с электрической пресс-машиной, так и с аккумуляторным прессом. Для диаметров от 14 до 20 мм существует ручная пресс-машина. Для соединения резьбовых фитингов нужны только гаечные ключи.


Технология монтажа трубопровода с резьбовыми фитингами

Монтаж трубы (рис. 4) осуществляется с помощью специальных латунных фитингов компрессионного типа. Эти фитинги состоят из штуцера, разрезного кольца и накидной гайки и обеспечивают надежное соединение труб и фитингов при помощи простого гаечного ключа.



Рис. 4. Схемы резьбовых фитинговых соединений от различных производителей:

а — Vestol ZBK (Польша); б — Comap (Франция); в — «евроконус», фирма Oventrop; г — соединение с неразрезным кольцом (Vestol); 1 — полимерная или метоллополимерная труба; 2 — накидная гайка; 3 — металлическое разрезное кольцо; 4 — штуцер; 5 — торцевая диэлектрическая прокладка (только для металлополимерных труб); 6 — уплотнительное кольцо; 7 — корпус фитинга; 8 — конус


Главным преимуществом данного соединения является то, что при монтаже не требуется никакого специального оборудования, а также при необходимости есть возможность демонтажа любого соединения.

Трубу отрезают перпендикулярно оси специальным труборезом для композитных труб или ножовкой с мелким зубом. Гнут руками или трубогибом. Существуют также специальные пружины для сгиба трубы без заломов. Минимальный радиус изгиба 5 наружных диаметров сгибаемой трубы. При закреплении труб требуется минимум зажимов и хомутов, так как трубы отлично сохраняют форму и коэффициент их линейного расширения значительно меньше по сравнению с пластиковыми трубами. При применении рассмотренных выше соединений следует убедиться в их совместимости, ведь у разных фирм-изготовителей наружные диаметры и толщина стенок труб (даже для одинакового номинального давления) редко совпадают.

Последовательность соединения:

1. Отрежьте трубу согласно разметке.

2. Снимите фаску на внутренней поверхности и развальцуйте трубу.

3. Наденьте на трубу накидную гайку и разрезное кольцо.

4. Откалибруйте трубу и разметьте глубину ввода.

5. Увлажните соединение.

6. Соедините трубу с фитингом так, чтобы торец трубы упирался в кромку фитинга.

7. Ключами затяните гайку до упора, но не перетягивайте. Будьте внимательны при затягивании. Не допускайте перекосов и смещений.

В металлопластиковых трубопроводах однажды собранный узел теоретически можно разбирать и собирать повторно, но, как показывает практика, соединение лучше не трогать. Поэтому в случае ремонта трубопровода нужно вырезать поврежденную часть и вставить новую, соединив её фитингами под опрессовку или под зажим.

При монтаже трубопроводов нужно соблюдать некоторые меры предосторожности: использовать трубы в строгом соответствии с их рабочими характеристиками (давлением и температурой); при транспортировке труб не допускать повреждения их поверхности; использовать фитинги того же производителя, что и трубы; не применять чрезмерную силу при завинчивании гайки фитинга.


Технология монтажа трубопровода с пресс-фитингами

Наряду с фитингами компрессионного (резьбового) типа все чаще используются при монтаже систем отопления и водоснабжения — «пресс-фитинги» (рис. 5).



Рис. 5. Схемы различных npecc-фитинговых соединений от различных производителей:

а — со стальной обжимной муфтой; б — с натяжной латунной муфтой; в — с обжимным хомутом; 1 — металлополимерная или полимерная труба; 2 — стальная обжимная муфта; 3 — фитинг; 4 — диэлектрическая прокладка; 5 — уплотнительное кольцо; 6 — надвижная латунная муфта; 7 — обжимной хомут


Они имеют некоторые преимущества по сравнению с компрессионными фитингами. Условия монтажа пресс-фитингов допускают их скрытую прокладку, заливку в бетон, что расширяет возможности при проектировании инженерных систем, увеличивает их надежность, сокращает количество используемой арматуры, уменьшает расход труб, что в конечном итоге влияет на стоимость всего проекта.

Многими фирмами для неразъемного соединения металлополимерных труб применяется конструкция со стальной обжимной муфтой.

С торца отрезанной металлополимерной трубы снимается внутренняя фаска, внутрь ее вставляется калибр для выправления овальности, образующейся при резке. В откалиброванную трубу вставляют штуцер с надетыми на него резиновыми уплотнительными кольцами. Во избежание электрокоррозии в месте контакта торца металлополимерной трубы (алюминия) с металлической соединительной деталью устанавливают диэлектрическую прокладку. Для обжатия стальной муфты используют стандартные пресс-клещи с набором вкладышей с размерами, соответствующими диаметрам труб.

По завершении обжима должны наблюдаться две равномерные кольцевые полосы, и металл должен быть дугообразно изогнут. Допустимое рабочее давление транспортируемой жидкости в местах соединения — до 10 бар.

Немецкая фирма Rehau предлагает неразъемное соединение, в котором обжим трубы на штуцере производится натяжной латунной муфтой. На штуцер с кольцевыми выступами надевают предварительно расширенную специальным эспандером (или нагревом строительным феном) трубу, после чего с помощью специального устройства муфту надвигают до упора в бортик штуцера.

Шведской компанией Wirsbo разработано и внедрено пресс-соединение на основе бокового болтового соединения, конструкция которого хорошо знакома всем без исключения автомобилистам.


Трубы из полипропилена

Соответствие труб и фасонных деталей из полипропилена российским стандартам (ГОСТ 22648-77, ТУ 38.102100-89) подтверждено сертификатом Госстандарта России.

Благодаря особым свойствам материалов трубопроводная система может быть использована: в водоснабжении домов, присоединении бойлеров, распределении воды, водопроводных стояках, распределении по этажам (обычное или в каждой точке отбора с индивидуальным подключением), присоединении трубопровода к существующим сетям водоснабжения, смонтированным из металлических труб, в сети отопления, подключении к котельной установке, распределительных устройствах, стояках отопления, присоединении металлических радиаторов.

Система включает в себя все компоненты, необходимые для монтажа трубопровода, что позволяет отказаться от смешанного монтажа и производить оптимальный монтаж без ущерба для качества трубопровода. А также возможности системы позволяют осуществлять подключение полипропиленового трубопровода к металлическому. Трубы экологически чисты и с успехом применяются в трубопроводах холодного и горячего водоснабжения, отопления и пневмопроводах с рабочим давлением до 25 атм. Благодаря фитингам с хромированными латунными вставками трубы легко комбинируются с имеющейся стальной арматурой. Рекомендуются для монтажа под штукатурку. Укладываются в грунт без изоляции.

Трубы и фитинги изготавливают из полипропилена тип 3 (РР-TYP 3). Трубопроводные системы из РР-TYP 3 в зависимости от рабочего давления могут работать в течение долгого времени с температурой жидкости до 95 °C. Расчетная продолжительность службы трубопровода составляет при этом более 50 лет. Температуры порядка 100 °C, возникающие вследствие кратковременных неисправностей, не оказывают отрицательного влияния на срок службы трубопровода.

Все части трубопровода, находящиеся в контакте с питьевой водой, соответствуют действующим стандартам России. Пригодность полипропилена указанных марок для работы в контакте с жидкими пищевыми продуктами подтверждается национальными сертификатами Бельгии, Германии, Великобритании, Италии, Испании, США.

Трубы и фитинги из полипропилена (РР-TYP 3) соответствуют требованиям противопожарной защиты класса «Нормально воспламеняющийся». В качестве противопожарного средства на трубопроводах должна быть сделана обшивка из несгораемых материалов. Она устанавливается в местах, к которым предъявляются требования пожарной безопасности. Длительный срок службы серийной трубы из полипропилена в трубопроводах горячего водоснабжения и отопления (до 50 лет), а холодного водоснабжения и в воздухопроводах (от 50 до 100 лет) позволяет проводить монтаж трубопровода под штукатурку либо в закрытых нишах стен, что значительно повышает противопожарную стойкость систем из полипропилена.

Наиболее часто применяемыми для монтажа трубопроводных систем холодного, горячего водоснабжения и отопления являются трубы PN10 и PN20.

Комбинированные трубы (PN25) из РР-TYP 3. Непосредственное соединение полипропилена типа 3 с алюминием значительно повышает стабильность и прочность труб. Благодаря такому соединению комбинированные трубы имеют более тонкие стенки, чем обычные полипропиленовые трубы, и позволяют обеспечивать больший расход жидкости. Предназначены для специального использования — главным образом, в отопительных трубопроводах, а также в трубопроводах горячего водоснабжения.

Трубопроводные системы из РР-TYF 3 пригодны для всех известных видов прокладки: открытой и скрытой, прокладки по стене.

Использование труб из РР-TYP 3 позволяет исключить применение разъемных соединений в труднодоступных и недоступных местах. Осуществление индивидуального подключения точек отбора обеспечивается наличием всех необходимых фитингов и применением современной аппаратуры соединения.


Принципы прокладки полимерных труб

Поскольку полимерные трубы отличаются большим температурным удлинением, в способе их прокладки существуют некоторые особенности, позволяющие избежать разрушения труб от температурных перепадов. Расширение трубопроводов зависит от нагрева трубы, в трубопроводах холодного водоснабжения удлинения трубы практически не происходит, поэтому им можно пренебречь.

При прокладке трубопроводов горячего водоснабжения и отопительных линий необходимо учитывать изменение длины труб. При этом необходимо рассматривать следующие виды прокладки труб: прокладка под штукатуркой, прокладка в шахтах и каналах, открытая прокладка.

При прокладке под штукатуркой расширение труб, как правило, не принимается во внимание. Если трубы прокладывают в теплоизоляции, то последняя обеспечивает трубе достаточное пространство для расширения. Если же возникающее расширение не может быть компенсировано изоляцией, напряжения от остаточного расширения воспринимаются материалом стены. То же самое относится к трубопроводам, которые не должны быть изолированы. Линейное температурное расширение предотвращается посредством укладки трубы в сплошном полу, бетоне или штукатурке; Возникающие при этом усилия сжатия и растяжения воспринимаются окружающим материалом.

При открытой прокладке стояков отопительных сетей необходимо учитывать, что деформация трубопровода вследствие линейного расширения трубы вызовет повышенный уровень шума протекающей жидкости и негативно скажется на стабильности трубопровода в целом. Во избежание этого при монтаже стояков отопительных систем рекомендуется применять комбинированные трубы из РР-TYP 3 с коэффициентом линейного расширения 3,00∙10-5 К-1. Стояки из комбинированных (металлопластиковых) труб можно прокладывать жестко, без температурной компенсации.

При прокладке трубопровода в шахтах и каналах необходимо предусмотреть варианты компенсации линейного расширения трубы в месте ответвления (рис. 6).



Рис. 6. Варианты компенсации линейного расширения стояка в месте ответвления:

а — оптимально разместить стояк в шахте; б — увеличить размер обшивки трубы; в — использовать пружинящий компенсатор


Такую компенсацию можно обеспечить, увеличив размер отверстия в шахте или канале для свободного движения в нем отвода, либо создав прямой или Г-образный участок отвода компенсационной длины. Необходимо следить за тем, чтобы ответвления труб имели достаточную возможность упругого изгиба соответственно линейному расширению трубы-стояка.

Данное условие может быть выполнено тремя способами:

1. Оптимально разместить стояк в шахте (как можно дальше отодвинуть стояк от стены, тем самым увеличить плечо изгиба).

2. Увеличить размер обшивки трубы. Этим достигается возможность упругого изгиба ответвления трубы.

3. Использовать пружинящий компенсатор для нейтрализации упругого изгиба.

При прокладке в шахтах и каналах необходимо устанавливать точки жесткого крепления не более чем через 3 метра. В случае значительных изменений длины трубопровода между точками жесткого крепления, необходимо предусматривать специальные компенсаторы линейного расширения, как и при открытой прокладке.

При открытой прокладке трубопроводов большое значение придается внешнему виду и прочности формы. У открыто прокладываемых трубопроводов, уже при проектировании необходимо учитывать линейное расширение. Направление прокладки труб надо проектировать и выполнять так, чтобы труба могла свободно двигаться в пределах величины расчетного расширения. Расчет должен производиться специалистами-теплотехниками.

Для восприятия линейного удлинения также используются следующие конструкции: П-образный компенсатор, Г-образный компенсатор, петлеобразный компенсатор, прокладка труб в виде змейки (рис. 7).



Рис. 7(1). Компенсатор температурного расширения полимерной трубы:

а — П-образный компенсатор; б — расчетная схема П-образного компенсатора



Рис. 7 (2). Компенсатор температурного расширения полимерной трубы:

а — Г-образный компенсатор; б — расчетная схема Г-образного компенсатора



Рис. 7(3). Компенсатор температурного расширения полимерной трубы:

а — петлеобразный компенсатор; б — схема прокладки трубопровода «змейкой»


Петлеобразный компенсатор следует применять при величине температурного удлинения трубопровода не менее 0,4d. Значение геометрических параметров дуги «змейка» при единичном диаметре трубы приведены в приложении. Прокладка полимерных труб «змейкой» — самый распространенный способ компенсации температурного расширения, при скрытом монтаже труб.

Хомуты для крепления трубопроводов должны быть применены в соответствии с наружным диаметром полипропиленовых труб. Крепеж для погашения линейного температурного удлинения подразделяется на два принципиально разных вида исполнения:

— точка жесткого, неподвижного крепления;

— точка подвижного крепления, то есть направляющая или скользящая опора.

Трубопроводы разделяются на отдельные участки путем распределения точек жесткого крепления (рис. 8).



Рис. 8. Крепление трубопроводов:

а — П-образного компенсатора; б — Г — образного компенсатора


Таким образом предотвращается перемещение трубопроводов и гарантируется их надежная прокладка. Точки жесткого крепления рассчитывают и выполняют с учетом действия сил, возникающих при расширении трубопроводов. Хомуты и держатели должны быть надежно закреплены. Качающиеся хомуты непригодны в качестве точек жесткого крепления.

Скользящие крепления удерживают трубопровод, но допускают движение трубы вдоль оси вследствие линейного расширения. Назначение скользящих креплений — удерживать трубу в нужном положении и направлять ее линейное удлинение в сторону компенсирующих элементов. При определении точки скользящего крепления необходимо следить за тем, чтобы перемещению трубопровода не мешали соединенные с ним фитинги и прочая арматура. Кроме того, при прокладке трубопровода недопустимы перекосы.

Расстояние между опорами трубопровода из РР-TYP 3 определяется по таблице приложения.


Сварка полимерных трубопроводов

Для сварки пластмассовых деталей трубопроводов используют специальный сварочный аппарат (рис. 9).



Рис. 9. Общий вид сварочного аппарата


Сварочный аппарат устанавливают на ровной поверхности. Закрепляют с помощью специальных ключей сменные нагреватели необходимого размера. При установке нагревателей необходимо следить за тем, чтобы поверхность насадок не выступала за край нагревательного элемента. Насадки должны плотно прилегать к нагревательному элементу. На аппарате устанавливают температуру сварки (для полипропиленовых труб 260 °C). В зависимости от температуры окружающей среды нагрев длится 10–15 минут. Рабочая температура на поверхности нагревательных пластин достигается автоматически.

Нагревательные элементы представляют собой гильзу для оплавления наружной поверхности конца трубы и дорн для оплавления внутренней поверхности раструба соединительной детали.

Первую сварку рекомендуется производить через 5 минут после нагрева сварочного аппарата. Раструбную сварку (рис. 10) пластмассовых деталей друг с другом производят следующим образом:

1. Обрезать трубу под прямым углом к оси трубы при помощи специального резака или ножовки.

2. На конце трубы снять фаску под углом 30°. Перед сваркой армированных труб с помощью специальной зачистки необходимо снять верхний слой из полипропилена — алюминия. При этом используются инструменты с хорошо заточенными ножами. Глубина зачистки — по упору инструмента — определяет глубину сварки, что позволяет обойтись без применения шаблона.

3. Конец трубы и раструб фитинга перед сваркой при необходимости очистить от пыли и грязи и обезжирить.

4. На трубе нанести метку на расстоянии, равном глубине раструба, плюс 2 мм.

5. Поместить соединяемые детали на соответствующие насадки (трубу вставить в гильзу до отметки, обозначающую глубину сварки). Для лучшей ориентации можно использовать вспомогательные маркировки на фитингах.

6. Выдержать время нагрева, после чего снять детали с аппарата и соединить их друг с другом, не проворачивая детали по оси.

7. После сварки необходимо выдержать время охлаждения.



Рис. 10. Сварка полимерных труб:

1 — раструб; 2 — труба; 3 — ограничительный хомут; 4 — нагревательный элемент (дорн, гильза); 5 — сварные швы


После каждой сварки рабочие поверхности нагревательных элементов необходимо очищать от налипшего материала. Очистка осуществляется в нагретом состоянии мягкой тканью из несинтетического материала для предотвращения повреждения тефлонового слоя нагревательного элемента.

При сварке труб диаметров до 40 мм можно использовать ручной сварочный аппарат, при сварке труб диаметром более 40 мм рекомендуется использовать аппараты с центрирующими приспособлениями. При использовании центрирующих приспособлений следует руководствоваться инструкциями по их эксплуатации.

В целях обеспечения качественного соединения деталей необходимо руководствоваться данными, приведенными в таблице приложения.

Внешний вид сварных соединений должен удовлетворять следующим требованиям:

1. Нарушение соосности труб более чем на толщину их стенки не допускается.

2. Наружная поверхность соединительной детали, сваренной с трубой, не должна иметь трещин, складок или других дефектов, вызванных перегревом.

3. У кромки раструба соединительной детали, сваренной с трубой, должен быть виден сплошной, по всей окружности, валик оплавленного материала, выступающий за торцевую поверхность соединительной детали.

Стыковая сварка может осуществляться между трубами с толщиной стенки более 4 мм. Перед сваркой торцы свариваемых труб необходимо отторцевать для придания параллельности их поверхностям. Сварку осуществляют нагревательным элементом с плоской нагревательной поверхностью. При стыковой сварке важно обеспечить соосность свариваемых труб, поэтому такую сварку осуществляют, как правило, с использованием центрирующих приспособлений. В остальном процесс стыковой сварки аналогичен раструбной сварке.

При сварке электрофитингом используются специальные фитинги с встроенным нагревательным элементом (спиралью). После установки трубы в электрофитинг необходимо обеспечить прочное удержание положения трубы, так как при нагреве из-за увеличения объема пластика происходит выталкивание трубы из фитинга. В электрофитинг трубу вставляют с обоих концов, после чего контактными проводами электрофитинг подключают к специальному электросварочному аппарату. Величину и длительность подаваемого напряжения регулируют этим сварочным аппаратом, как правило, автоматически, в зависимости от размера электрофитинга. Подготовительные операции не отличаются от раструбной сварки.

Сварку соединений следует производить в проветриваемом помещении. При работе со сварочным аппаратом следует соблюдать правила техники безопасности при работе с электроинструментом. При контакте с открытым пламенем полипропилен горит коптящим пламенем с образованием расплава и выделением углекислого газа, паров воды, непредельных углеводородов и газообразных продуктов.

Применение открытого пламени для сварки трубопроводов категорически запрещается!


Сварка трубопровода по месту (приварных седел)

Приварные седла применяются: для монтажа последующих ответвлений от трубопровода, для ремонта существующих систем.

Рабочая температура для сварки приварных седел составляет 260 °C. Свариваемые поверхности трубы и седла должны быть чистыми и сухими. Инструментом приварки седла в течение 30 сек нагревается наружная поверхность трубы, пока на краю инструмента не образуется наплыв. Не прерывая процесса нагревания наружной поверхности трубы, в течение 20 секунд одновременно нагревается приварное седло. Отложив сварочный прибор быстро, не проворачивая, прижать приварное седло точно к предварительно нагретому участку поверхности трубы. Зафиксировать соединение на 30 сек. После 10-минутного охлаждения соединение можно эксплуатировать с полной нагрузкой. По окончании сварки для подключения ответвления необходимо просверлить дно седла и стенку трубы. Применяются обычные спиральные сверла с установочной шайбой (для контроля необходимой глубины сверления).

Для сварки деталей трубопровода диаметром 50 мм и более, а также для высокоточного монтажа используется специальный стационарный аппарат.


Технология монтажа трубопровода с самообжимающими фитингами

Это соединение применяется в полимерных трубопроводах компании Wirsbo, оно основано на повышенной эластичности и молекулярной памяти материала труб и колец, обжимающих фитинг. Монтаж системы не требует применения специальных дорогостоящих инструментов и выполняется без склеивания, пайки и нарезания резьбы. Соединение труб, несмотря на кажущуюся «игрушечность», получается простым и надежным. При критических растягивающих нагрузках разрывается труба, а соединение остается в первозданном виде.

Соединения самообжимающими фитингами (рис. 11) используют для монтажа систем отопления, холодного и горячего водоснабжения с трубами диаметром 16–40 мм.



Рис. 11. Соединение самообжимающими фитингами


Область применения тех или иных фитингов различается цветом самообжимных колец. Для труб в системах отопления используют белые кольца, в системах горячего водоснабжения — красные, а в системах холодной воды — синие.

Установите кольцо на трубе так, чтобы оно выступало не более, чем на 1 мм за конец трубы. Кольцо должно быть плотно установлено на трубе. Если кольцо скользит по трубе, необходимо его сдвинуть вдоль трубы и при помощи экспандера расширить конец трубы, затем установить кольцо в требуемое положение.

Установите на эспандер раздвигающую головку, соответствующую диаметру трубы. Разведите ручки экспандера (между ними должен образоваться угол 90°). Вставьте сегменты головки в трубу на максимальную глубину и, не применяя чрезмерной силы, сведите вместе ручки инструмента. При расширении труб диаметром 20 мм и более нужно придержать инструмент в таком положении на несколько секунд. Затем быстро разведите ручки и проверните головку инструмента, вставьте головку глубже в трубу и еще раз соедините ручки инструмента вместе. Процесс расширения и поворота трубы необходимо повторять до тех пор, пока сегменты расширительной головки полностью не войдут в трубу. Но не следует превышать максимальное количество расширений. Для труб диаметром 16 мм — 4 расширения, 20 мм — 5, 25 мм — 7, 32 мм — 13. После этого удалите головку из трубы, и быстро наденьте расширенную трубу на фитинг.

Пока труба схватывает фитинг, ее нужно удерживать в руке (3 сек). Через полчаса соединение можно подвергать гидравлическому испытанию. Но требуемую прочность соединение достигает только через 6 часов.


Подключение сантехнической арматуры

Запорная и водозаборная арматура должна иметь неподвижное крепление к строительным конструкциям для того, чтобы усилия, возникающие при пользовании арматурой, не передавались на трубы (рис. 12). Существует несколько приемов закрепления в стенах полипропиленовых фитингов.



Рис. 12. Способы крепления к стене полимерных фитингов:

а — настенную пластину устанавливают в стенной щели или под штукатуркой; б — пластину для пустотелой стены устанавливается в стенной щели; в — переходный угольник (наружная/внутренняя резьба) для пустотелых стен с длиной резьбы 30 мм; г — настенные пластины для двойного подключения арматуры с монтажной платой; д — двойной монтажный узел, включая 2 переходных угольника (наружная/ внутренняя резьба) с контргайкой, уплотнением и прижимной шайбой; е — деталь для подключения на пустотелых стенах с переходным угольником


Транспортировка и складирование полимерных труб

Трубы можно складировать при любой наружной температуре. Место для склада следует выбрать так, чтобы трубы прилегали к поверхности пола (стеллажа и т. д.) по всей длине. Следует избегать изгиба труб при складировании и транспортировке. При отрицательных температурах существует опасность повреждения труб вследствие сильных ударов. Поэтому при низких температурах с материалом следует обращаться осторожно. Складирование следует производить в месте, защищенном от прямых солнечных лучей.


Некоторые рекомендации по применению полимерных труб

Полипропиленовые трубы лучше применять для наружных сетей (скважины, колодцы, канализация, дренаж) и внутренней разводки систем водоснабжения.

Для отопления применяют специальные армированные полипропиленовые трубы. Металлопластиковые трубы лучше всего применять в закрытых внутренних системах (в штробах).

Для прохода через строительные конструкции необходимо предусматривать футляры (рис. 13), выполненные из пластмассовых труб. Внутренний диаметр футляра должен быть на 5-10 мм больше наружного диаметра прокладываемой трубы. Зазор между трубой и футляром необходимо заделать мягким водонепроницаемым материалом, допускающим перемещение трубы вдоль продольной оси.



Рис. 13. Схема прохода трубы через перекрытие и стену


Трубы нужно использовать в рекомендуемых пределах по давлению; если трубы использовать в системе с большим давлением, чем позволяет номинал, то труба, вероятнее всего, быстро выйдет из строя. Например, маркировки PN10 и PN20 свидетельствуют о номинальном значении давления (10 и 20 бар), которое превышать не стоит. Трубы (особенно полипропиленовые неармированные) имеют большой коэффициент расширения; чтобы спроектировать грамотную сеть, нужно ставить тепловые компенсаторы. Либо так проектировать разводку, чтобы линейное расширение компенсировалось поворотами трубы.

Любая пластиковая труба становится хрупкой при сильном морозе, если мороз ниже —20 °C, работы по монтажу лучше отложить.

После сварки труб дуньте в трубу и определите, не заплавлена ли труба; если сечение чисто, то воздух пройдет свободно, если же есть проблемы, то лучше исправить положение сразу. «Запайки» встречаются чаще на малых диаметрах.

У разных фирм-изготовителей наружные диаметры и толщина стенок труб (даже для одинакового номинального давления) редко совпадают в пределах допустимых отклонений от номинальных размеров. Не покупайте фитинги и трубы непонятных производителей. Переплата за раскрученный «бренд», как правило, окупается высоким качеством трубы и легкостью монтажа. У фирменной трубы внутренняя и наружная стенки торцевого среза должны быть соосны, а сама труба — иметь идеально круглую форму. Не допускается наличие шероховатостей или наплывов. Если полипропиленовые трубы соединяются с фитингами в холодном состоянии — это признак недоброкачественного товара. Трубы входят в фитинг с усилием и в разогретом виде, либо с помощью эспандера.

Коэффициент трения в пластиковой трубе значительно ниже, чем в металлической. Поэтому при замене труб можно, не задумываясь, применять те же диаметры, которые имели старые трубы. Диаметры полимерных труб пишутся по наружной поверхности трубы, а внутренний соответствует — наружный минус толщина стенки (например, у труб PN10 и PN20 наружный диаметр одинаковый, а стенки разные). А у металлических труб и фитингов маркируется проходной диаметр, но металлическую полдюймовую трубу можно спокойно менять на трубу диаметром 16 мм из полипропилена, как на тонкостенную PN10, так и на толстостенную PN20.

Для разогрева труб применяется либо специальный сварочный аппарат, либо строительный фен. Применение открытого пламени горелки запрещено.


Медные трубы

Медные трубы применялись уже очень давно, несколько тысяч лет назад. Но широкое их применение пришлось только на конец прошлого тысячелетия. К этому же времени относится появление в строительстве полимерных труб. Медные трубы используют так же, как и полимерные, то есть как для отопления, так и для любого водоснабжения.

Медные трубы отличаются особо высокой коррозионной стойкостью и пластичностью. Срок их службы практически безграничен, то есть инженерные коммуникации, выполненные из медных труб, могут прослужить без ремонта весь срок, отведенный дому. При замерзании воды медная труба не трескается, а лишь немного расширяется и после оттаивания вновь готова к работе.

Трубы из меди очень технологичны: их легко резать и гнуть. Соединяют их с помощью пайки, резьбовыми фитингами или обжимом муфт (рис. 14).



Рис. 14. Схемы соединений медных труб:

а — паяное, б — опрессованное; в — резьбовое; 1, 4 — медная трубе; 2 — припой; 3 — раструб; 5 — муфта; 6 — уплотнительное кольцо; 7 — место опрессовки; 8 — втулка с наружными резьбами; 9 — гладкая внутренняя втулка; 10 — обжимное кольцо; 11 — накидная гайка


Медные трубы имеют очень гладкие стенки, шероховатость стенок в 100 раз ниже, чем у стальных, и в 4–5 раз ниже, чем у полимерных. Их пропускная способность остается постоянно высокой весь период эксплуатации. Трубы выпускают стандартных размеров: диаметр от 10 до 28 мм при толщине стенки 1 мм и диаметром от 35 до 54 мм при толщине стенки 1,5 мм (выпускают трубы и большего диаметра). Нужно заметить, что по сравнению со стальными медные трубы имеют очень маленькую толщину стенки и соответственно увеличенный внутренний диаметр. При столь малой толщине стенки медные трубы рассчитаны на более высокое, чем у стальных, рабочее давление (210–300 МПа). Прочностные параметры и долговечность медных труб не зависят от давления и температуры транспортируемой жидкости (допустимый интервал температур от —100 до +250 °C). Это одно из преимуществ медных труб перед полимерными, у которых долговечность напрямую зависит от температуры и давления транспортируемой жидкости. Кроме того, трубы не боятся солнечного излучения и проникновения кислорода через стенки.

Но и у медных труб имеется недостаток: при контакте меди с другими металлами (алюминием, сталью, в том числе оцинкованной) возникает электрохимическая коррозия, которая быстро приводит к разрушению этих металлов. Для исключения коррозии металлы, используемые в одной системе, необходимо разделять электроизолирующими прокладками. А при монтаже необходимо соблюдать правило: стальные трубы (если использование таковых неизбежно) должны стоять перед медными трубами — по направлению течения воды, то есть медь должна замыкать цепочку трубопроводов и ни в коем случае не начинать.


Канализационные трубы

Полимерные трубы

В системах внутренней канализации и водостоков зданий различного назначения применяют трубы и фасонные части, изготовленные из полиэтилена высокой плотности ПВП и низкой плотности (ПНП), полипропилена (ПП) и непластифицированного поливинилхлорида (ПВХ).

Канализационные пластмассовые трубы (рис. 15) и фасонные части к ним выпускают с условными проходами 40, 50, 85 и 100 мм и длиной 3, 6, 8, 10 и 12 м. При монтаже пластмассовых труб используют раструбные, сварные и клеевые соединения.



Рис. 15. Полимерная канализационная труба


ПВХ (поливинилхлорид) до недавнего времени являлся основным материалом, применяемым для канализационных систем. Основные достоинства ПВХ труб заключаются в том, что они обладают: высокой прочностью, устойчивостью против коррозии, высокой сопротивляемостью внутреннему износу, сопротивлением от зарастания стенок, низким весом, хорошими гидравлическими свойствами.

В зависимости от жесткости гладкостенные ПВХ трубы делятся на 2 класса: класс N (4 кН/м2) и класс S (8 кН/м2). Существует три типа труб, отвечающих трем условиям жесткости:

1. Трубы легкого типа применяют для местности без транспортных нагрузок, например тротуары, зеленая зона.

Предназначены для отвода канализационных и сточных вод.

2. Трубы среднего типа применяют там, где есть слабое транспортное движение.

3. Трубы тяжелого типа предназначены для местности с большим транспортным движением и для промышленных районов.

Трубы и фасонные части из ПВХ применяют для самотечной транспортировки стоков в наружной канализации при максимальной температуре до 65 °C, что вполне достаточно в условиях жилищного строительства. В течение коротких периодов времени (до 2 минут) допускается подача в трубы сточной воды с температурой до 100 °C при условии, что расход не превышает 30 л/мин.

ПВХ трубы и фасонные изделия из этого материала обладают полной герметичностью, поэтому при использовании канализационных трубопроводов из ПВХ отсутствует взаимодействие с почвой и грунтовыми водами. Кроме того, они легкие и удобны в транспортировании, укладке и эксплуатации.

Полимерные (ПП) канализационные трубы и фасонные части изготавливают способом горячей экструзии из полипропилена сополимера. Расчетная продолжительность срока службы канализационных трубопроводов более 50 лет. Канализационные трубы и фасонные части используют для внутренней разводки в системах канализации, слива сточных и дождевых вод.

По сравнению с чугунными трубами старого образца, полипропиленовые обладают повышенной химической стойкостью, отсутствием коррозии и зарастания сечения, простотой транспортировки и хранения, имеют небольшой вес и гладкую поверхность. Трубы и соединительные элементы имеют раструбную конструкцию и укомплектованы специальными уплотнительными кольцами, что повышает скорость монтажа в 5–6 раз и обеспечивает высокую надежность и герметичность соединения. Если сравнивать полипропиленовые трубы с трубами изполиэтилена, то для полипропилена определен верхний предел допустимых рабочих температур +95 °C, что значительно превосходит допустимый предел температур на трубы ПВХ — (+65 °C). По сравнению с трубами из ПВХ полипропиленновые трубы значительно менее хрупкие (особенно при низких температурах), что очень важно в условиях нашего климата при транспортировке и монтаже.


Раструбное соединение полимерных канализационных труб

Основной вид соединения пластмассовых труб и фасонных частей для систем внутренней канализации — раструбное соединение с резиновым уплотнительным кольцом. Герметичность раструба достигается благодаря сжатию резинового кольца между стенками раструба и гладким концом трубы.

Полный комплект труб и соединительных деталей обеспечивает возможность монтажа внутренних коммуникаций и подводок к сантехническим приборам даже неподготовленному человеку. Резиновые уплотнительные кольца со специальными пластмассовыми вкладками позволяют произвести сборку герметичных и надежных соединений (рис. 16).



Рис. 16. Раструбное соединение с резиновым уплотнительным кольцом


Резиновое кольцо позволяет скомпенсировать несовпадение осей соединяемых частей. Но неравномерная деформация уплотняющего пояска кольца приводит к протечкам соединения. Поэтому при монтаже скрытых труб, особенно под стяжку, надо следить, чтобы искривленность оси на составных участках отводов и стояка была не более толщины стенки трубы на каждый метр длины трубопровода. Многие фирмы колена и тройники делают с углом не 90°, а 87,5°, чтобы труба, прокладываемая с уклоном, входила в раструб тройника, не перекашивая кольцо. Чтобы не повредить кольцо при монтаже, на гладком вставляемом конце трубы делают фаску и смазывают его силиконовой смазкой, глицерином или мылом, но только не маслами.

Перед сборкой трубопровода необходимо убедиться, что край трубы имеет фаску и в раструбе есть уплотнительное кольцо. Очистить от загрязнения уплотнительное кольцо, внутреннюю часть раструба и конец трубы со снятой фаской. Нанести смазку на гладкий конец трубы или фасонной части. Гладкий край трубы или фасонной детали помещают в раструб до упора и помечают место контакта гладкого края трубы и раструба. Затем осторожно вытащите трубу обратно из раструба на 9-11 мм, ориентируясь на положение карандашной метки относительно торца раструба. Зазор 10 мм необходим для компенсации изменения длины трубы, возникающего в результате температурных воздействий. Это позволит избежать возникновения внутренних напряжений в системе. Полипропиленовые трубы в сетях бытовой канализации могут удлиняться до 5 мм на один метр длины, а трубы, установленные в системе дождевых стоков, — до 2 мм. То есть каждый раструб способен компенсировать удлинение 2-метрового участка канализационной трубы. Фасонные детали можно помещать в раструб без компенсирующего зазора.

Резку труб можно осуществлять с помощью специального инструмента, или обычной ножовкой (рис. 17).



Рис. 17. Подготовка труб перед сборкой


Пилить надо строго перпендикулярно, для чего рекомендуется применять специальное приспособление. Фасонные детали никогда не укорачивают. При резке трубы ножовкой необходимо снять фаску напильником под углом 15°. Эти меры позволят избежать повреждения уплотнительного кольца при монтаже.

При расстановке креплений на канализационных пластмассовых трубопроводах необходимо соблюдать следующие положения:

1. Крепления не должны препятствовать прокладке труб с необходимым уклоном, а также должны обеспечивать вертикальность и соосность деталей трубопроводов на стояках.

2. Крепления желательно устанавливать вблизи соединений с резиновыми кольцами — это обеспечивает жесткость смонтированного трубопровода (рис. 18).



Рис. 18. Крепление канализационной трубы


3. Крепление, устанавливаемое на гладком конце трубы, должно располагаться от раструба на расстоянии, допускающем температурные удлинения.

4. Между неподвижными креплениями предусматривается не более двух соединений, используемых в качестве компенсаторов.

5. Максимальное расстояние между неподвижными креплениями для трубопроводов диаметрами 50, 100 мм с соединениями на резиновых кольцах должно приниматься равным 0,4 и 0,8 м.

6. При замене отдельных труб учитывают следующее: если участок трубы с креплением заменяют на два патрубка меньшей длины, то каждый из них следует закреплять; если заменяют участок трубы без крепления, то надлежит закреплять только один из двух новых патрубков; если применены ремонтные двухраструбные муфты, то их необходимо закрепить; если применены вставки с компенсационными патрубками, то участки труб, расположенные над ними, должны быть закреплены.

7. Установка креплений не требуется на приборных патрубках, используемых при соединении к сети унитазов и трапов, а также на отводных трубах от бутылочных сифонов.

Трубопровод может быть заложен в бетонную стяжку без всякой изоляции. Тем не менее, лучше накрыть его перед заливкой толстой бумагой или картоном, что обеспечит возможность поперечного расширения трубы (рис. 19).



Рис. 19. Схема укладки трубопровода в конструкции пола


Дополнительная установка фасонных частей в существующий трубопровод возможна с использованием надвижных (ремонтных) муфт или муфты с удлиненным раструбом (рис. 20).



Рис. 20. Дополнительная установка фасонных частей


Для этого нужно отрезать участок трубы (длина используемой фасонной части плюс два внешних диаметра трубы). Снять фаску на отрезанных концах трубы. Надеть на один конец на всю длину трубы надвижную муфту. Вторую надвижную муфту (или деталь с удлиненным раструбом) надеть на соединительный элемент и установить фасонную часть. В оставшийся зазор в трубопроводе вставить соединительный элемент и закрыть оба зазора перемещением надвижных муфт.

Соединение раструба полимерной трубы к концам чугунных труб осуществляется с помощью переходного патрубка. Внутренний диаметр раструба патрубка соответствует наружному диаметру чугунной трубы. Двойную уплотнительную прокладку накладывают на гладкий конец чугунной трубы и затем устанавливают патрубок без смазки. Для соединения гладкого конца пластмассовой трубы к раструбу чугунной трубы также используют двойную уплотнительную прокладку, которую накладывают на гладкий конец трубы или фасонной детали и вставляют в чугунный раструб.

Для устранения засоров в системе канализационных труб предусматривают установку специальных фитингов-прочисток, которые называют «ревизиями». Их устраивают в доступных для обслуживания местах за предполагаемыми местами засора. Для механической очистки канализационных трубопроводов из пластмассы запрещается применять очистные приспособления с острыми краями.

После сборки всей системы ее по участкам испытывают на герметичность. Испытывают давлением до 1 атм в течение 10 минут — потеря давления не допускается.


Клеевое соединение канализационных труб

Поливинилхлоридные трубы (ПВХ), оборудованные специальным раструбом, соединяют склеиванием (рис. 21).



Рис. 21. Клеевое соединение канализационных труб


Для этого склеиваемым поверхностям концов труб придают шероховатость, для чего наружный конец трубы и внутреннюю поверхность раструба обрабатывают шлифовальной шкуркой. Обработанные концы обезжиривают метиленхлоридом После подготовки концов труб наносят клей на 2/3 глубины раструба и на всю длину калиброванного конца трубы. Клей наносят быстро равномерным тонким слоем с помощью мягких кистей шириной 30–40 мм. Чаще всего применяют клей ГИПК-127. После нанесения клея на оба соединяемые элемента необходимо немедленно ввести трубу в раструб (муфту) до упора, затем, с целью получения лучшего контакта поверхностей, повернуть ее на 1/4 оборота. Соединяемые элементы необходимо прижать и держать в таком состоянии в течение одной минуты. При правильном склеивании вокруг места соединения должен появиться выдавленный тонкий валик клея. Еще клеевое соединение делают с помощью надвижной муфты или подходящего отрезка трубы из того же материала. Возможны два варианта. Первый, когда промазывают концы труб и внутреннюю поверхность муфты или отрезка; второй, когда муфту или отрезок нагревают без промазки и надвигают на покрытые клеем концы труб.


Чугунные трубы

Чугун зарекомендовал себя как один из лучших материалов, обладающий уникальными свойствами при проектировании и монтаже систем канализации и водоотведения. Уже не одно столетие высокая надежность, предельная простота монтажа и абсолютная пожаробезопасность обуславливают его применение в сфере строительства во всем мире. Популярность данного материала в России объясняется помимо вышеперечисленных достоинств его долговечностью (в настоящее время действуют системы, заложенные ещё в XIX веке), отсутствием коррозии и устойчивостью к высоким перепадам температур.

Эти трубы применяют для сети внутренней канализации домов. Внутренний диаметр труб 50 и 100 мм, длина 750-2100 мм. Па одном конце трубы предусмотрен раструб, куда вставляют при соединении цилиндрический конец другой трубы. Изготовляют такие трубы методом центробежного литья из серого чугуна. Трубы выдерживают гидравлическое давление до 0,1 МПа. Покрывают битумным антикоррозийным покрытием.

Чтобы укоротить трубу, ее укладывают на деревянные бруски, зубилом за несколько проходов по метке вырубают канавку глубиной не менее 1/3 толщины стенки. Затем ударами молотка отделяют части трубы. Торец нужной части трубы должен быть перпендикулярен оси трубы, без зубчатости и трещин.

Хвостовую часть одной трубы вставляют в раструб другой (рис. 22).



Рис. 22. Соединение чугунных канализационных труб


Затем зазор заделывают просмоленными прядями льна или прожиренным пеньковым канатом. Первый слой уплотнителя заводят в виде кольца, так, чтобы концы прядей или каната не попали внутрь трубы. Уплотнение дальнейших слоев продолжают, пока не будут заполнены 2/3 глубины раструба. Последний слой уплотнителя выполняют прядью или канатом без смолы и жира, которые препятствуют сцеплению с цементом. Оставшуюся 1/3 глубины раструба заполняют раствором цемента марки 300–400; цемент и воду для раствора берут в соотношении 9:1 (по объему). После втрамбовывания цемента в раструб на него кладут мокрую тряпку, чтобы обеспечить качественное схватывание раствора. Вместо цемента можно применить битумную мастику, асбестоцементную смесь, глину, которые промазывают сверху масляной краской, битумом и др. Асбестоцементную смесь для устройства замка изготовляют таким образом. Цемент (марки не ниже 400) и асбестовое волокно (не ниже 6-го сорта) перемешивают в соотношении по массе 2:1. Непосредственно перед заделкой каждого стыка в сухую асбестоцементную смесь добавляют воду в количестве 10–12 % от массы смеси. Но более эффективна заделка зазоров расширяющимся цементом. В емкость с цементом за несколько минут до применения заливают воду в количестве, равном половине объема цемента. Все хорошо перемешивают и заливают в раструб.


Соединение керамических и асбестоцементных труб

Для устройства наружных сетей канализации, водостоков и водопровода применяют керамические и асбестоцементные трубы. Керамические трубы отличаются прочностью и долговечностью, их используют в условиях неагрессивных и агрессивных грунтовых вод для строительства безнапорных канализационных сетей.

Керамические трубы выпускают диаметром от 150 до 600 мм, длиной 1000 и 1200 мм и с раструбами. Толщина стенки ствола и раструба трубы зависит от диаметра и составляет 19–41 мм. Наружная сторона конца ствола керамических труб и внутренняя сторона раструба имеют нарезку длиной 60 или 70 мм не менее, чем из пяти канавок, глубиной более 3 мм. Торцовые плоскости трубы перпендикулярны горизонтальной плоскости, проходящей вдоль ствола трубы, внутренняя и наружная поверхности керамических труб покрыты химически стойкой глазурью. Трубы водонепроницаемы и выдерживают гидравлическое давление не менее 0,15 МПа.

Раструбные соединения керамических труб заделывают путем уплотнения битуминизированной пряди на высоту 1/3 раструба. В остальной части раструба делают замок из цементного раствора, асбестоцементной смеси, асфальтовой или другой мастики. Цементным раствором раструбы заделывают в том случае, если керамические трубы укладывают на плотное основание, исключающее их просадку.

Асбестоцементную смесь для устройства замка изготовляют тем же способом, что и для заделки чугунных труб. Мастику для заливки раструбов в керамических трубах изготовляют из асфальтовой мастики (60 % по массе) и нефтяного битума БН-1П (40 % по массе). Перед употреблением мастику разогревают до жидкотекучего состояния. Если соединяемые керамические трубы расположены вертикально, то мастику заливают непосредственно в раструб; если же трубы расположены горизонтально, то мастику заливают через литник, сделанный в глиняном валике, или с помощью металлического хомута, который обеспечивает затекание мастики в раструб. Для того чтобы мастика не прилипала к хомуту, его обмазывают раствором глины.

Асбестоцемент (АП) — один из видов дисперсно-армированного бетона. Асбест в нем играет роль арматуры, равномерно распределенной по объему материала, а затвердевший цементный камень образует плотную матрицу, в которой заключен асбест. Асбест в таком материале находится в связанном состоянии и практически не выделяется в окружающую среду. Прочность АЦ материалов на растяжение довольно высока, что позволяет использовать их для изготовления напорных труб. В водной среде АЦ не коррозирует, а напротив, уплотняется и упрочняется в результате продолжающейся гидратации портландцемента.

Асбестоцементные трубы — один из перспективных видов труб самого широкого назначения, обладающих комплексом ценных свойств. Они не подвержены коррозии (в том числе провоцируемой блуждающими токами), как стальные, значительно легче их и не склонны к обрастанию. Благодаря низкой теплопроводности у АЦ труб меньшие проблемы с промерзанием.

Полимерные трубы проигрывают АЦ трубам по теплостойкости, долговечности и экологической чистоте.

Асбестоцементные трубы водонепроницаемы, стойки к воздействию сточных вод, хорошо поддаются механической обработке и обладают сравнительно небольшой массой. Асбестоцементные трубы разделяют на напорные и безнапорные; первые предназначались для напорных наружных сетей водопровода, вторые — для самотечных сетей канализации и водостоков. Безнапорные трубы выпускают диаметром от 100 до 600 мм. Безнапорные трубы соединяют цилиндрическими асбестоцементными муфтами, имеющими с обоих концов нарезку (2–3 нитки). Стыки в зависимости от назначения труб собирают на резиновых уплотнительных кольцах или конопатят битуминизированной прядью и заделывают асбестоцементной смесью или цементным раствором (рис. 23).



Рис. 23. Соединение асбестоцементных труб


Для облегчения натягивания муфты на трубу необходимо наружную поверхность обточенных концов труб смазать графитоглицериновой пастой или мыльным раствором. Операцию натягивания муфт на трубу необходимо начать, когда трубы разложены на бровке до их опускания в траншею. На одну трубу с двух торцов натягивают муфты, после чего трубу с муфтами опускают на дно траншеи. Следующую на дно траншеи опускают трубу без муфт. Третью трубу

опускают на дно траншеи с двумя муфтами на творцах и т. д. Натягивание муфт на трубы необходимо выполнять с помощью натяжного устройства.

* * *

Существуют и другие решения соединений отопительных, водопроводных и канализационных труб. Каждая фирма-изготовитель в борьбе за рынок разрабатывает свои оригинальные конструкции. Но в целом все решения соединений труб похожи друг на друга и на приведенные выше примеры.

Продолжение следует

ИНСТРУМЕНТАЛКА

Инструменты и их рукоятки

Г.Е. Ефремов

Окончание. Начало см. в № 2, 2007 г.


Стамески и долота

При обработке древесины наравне с применением современных электроинструментов, всевозможных приспособлений и устройств для выполнения очень многих видов работ используются самые простые ручные инструменты — стамески и долота, при беглом взгляде очень похожие друг на друга. Сначала рассмотрим стамески, а затем долота.

Стамески относятся к инструментам широкого и разнообразного применения. Они по устройству, назначению и конструктивному оформлению различаются для столярных и токарных работ, а также для резьбы по дереву.

Столярные стамески применяют для снятия фасок, зачистки шипов, проушин, фальцев и шпунтов, подрезки подгоняемых столярных соединений, выборки сквозных гнезд и неглубоких пазов в тонких столярных деталях, выполнений углублений в оконных и дверных переплетах при установке петель или другой фурнитуры, обработки криволинейных поверхностей и во многих других случаях резания древесины. При обработке древесины и резьбе на стамеску давят только нажимом руки, и только в исключительных случаях допускаются легкие удары деревянной киянкой по рукоятке стамески. Общий вид стамески с насаженной рукояткой показан на рис. 16.



Рис. 16.

Стамеска с плоским полотном с насаженной рукояткой (а); б, в — призматический (11) и конический (12) хвостовики; г — стамеска с конической трубкой (14); 1 — рукоятка с осью 2; 3 — скосы; 4 — ось полотна 6; 5 — фаска с режущим лезвием; 7 — боковая скошенная фаска; 8 — шейка; 9 — венчик; 10 — колпачок; 13 — угол заточки; а, в — ширина и толщина полотна; б — расстояние между полотном и плоскостью, на которой расположена стамеска


Она состоит из полотна с режущей кромкой на одном конце, а на другом — хвостовик, на который насаживают рукоятку. Хвостовик может иметь форму призмы с квадратным сечением (рис. 16,б) или коническую форму (рис. 16,в). Иногда встречаются стамески старых изготовлений с конической трубкой, в которую забивают рукоятку (рис. 16,г). Основное назначение рукоятки — в передаче усилия рук на режущую кромку стамески и управлении ею в процессе работы. Поэтому рукоятки должны быть прочными, удобными и не травмировать руки. Длина рукоятки стамески должна быть в пределах полторы ширины ладони, а ее толщина должна удобно укладываться в самой ладони. В соответствии с этими рекомендациями на рис. 16 приведены размеры. Рукоятки стамесок изготавливают из древесины дуба, клена, березы, яблони, груши, рябины, бука, а также из ударопрочной пластмассы, текстолита и гетинакса. Очень приятные, красивые и прочные рукоятки получаются из ядровой части высушенной древесины яблони. Их можно изготовить круглой, овальной и шестиугольной форм в сечениях. Обычно на практике предпочтение отдают овальным рукояткам, в которых большая ось овала параллельна полотну стамески. Для придания овальности круглым рукояткам, выточенным на токарном станке, на их поверхностях с двух сторон делают скосы (сегменты), как показано на рис. 16. В результате получаются очень удобные рукоятки, позволяющие руке направлять их в необходимом положении при обработке

столярных деталей. В то же время с круглыми и шестиугольными рукоятками рука не чувствует положение режущей кромки стамески. Рукоятки имеют колпачки, которые предохраняют их от раскалывания и придают конструктивную изящность. На рис. 1 показаны стамески, рукоятки которых выполнены из яблони и текстолита и в сечениях имеют овальную форму.

По форме полотна стамески бывают плоские (рис. 16) и полукруглые (рис. 17,а), а иногда в плоских стамесках режущую кромку затачивают полукругом, как нож шерхебеля (рис. 17,в).



Рис. 17. Стамески с полукруглым полотном с наружной (а) и внутренней (б) режущими кромками (3) и стамеска с плоским полотном и полукруглой режущей кромкой (в):

1 — рукоятка; 2 — полотно


Стандартные стамески с плоскими и полукруглыми полотнами изготавливают длиной не менее 240 мм. Длина полотен для лезвия до рукоятки — не менее 110 мм. Стамески с плоскими полотнами выпускают шириной лезвия а = 4, 6, 8, 10, 12, 18, 20, 25, 32,40 и 50 мм, а толщиной b = 3 и 4 мм в зависимости от ширины а. У широких стамесок устраивают боковые фаски, которые облегчают затачивание и улучшают условия резания краем лезвия.

Стамески с полукруглым полотном изготавливают шириной а = 4, 6, 8, 10, 12, 16, 18, 20, 25, 32, 40 мм, толщиной s = 2; 2,5; 3 и радиусом кривизны r = 3 18 мм в зависимости от ширины а. У полукруглых стамесок фаски могут быть выполнены как с наружной (рис. 17,а), так и с внутренней (рис. 17,а, б) сторон. Фаски у стамесок затачивают под углом 20–30°.

Полотна стамесок изготавливают из стали марок 9ХФ, 7ХФ, 9ХС, ХВГ, У7, У7А, У8, У8А. Твердость полотна на длине ~0,7 его рабочей части должна быть HRC 57–64.

Токарная обработка — один из распространенных видов механической обработки древесины, которую широко применяют при изготовлении всевозможных деревянных изделий: точеной посуды, деталей мебели, игрушек, киянок, рукояток напильников, стамесок, долот и т. п. Токарные изделия просто и быстро вытачивают на токарном станке, применяя всевозможные инструменты, большинство которых имеет форму столярных стамесок, но с разнообразными режущими кромками. При вытачивании некоторых простых деталей бывает достаточно использовать несколько плоских и полукруглых стамесок, а в большинстве случаев используют множество разнообразных стамесок. При обработке деталей на токарном станке стамеску устанавливают на подручнике и надежно удерживают двумя руками. Поэтому стамески делают с удлиненными рукоятками 160–200 мм длиной, овальной или овально-граненой формы. Рукоятки изготавливают из твердых пород деревьев. Общая длина токарных стамесок 350–400 мм.

Токарные стамески по их назначению можно разделить на четыре группы:

а) полукруглые стамески-трубки (рейеры) (рис. 18,а), имеющие желобчатую форму, с лезвием, заточенным по дуге с углом заточки 25–30° с наружной стороны. Ширина режущей кромки а = 6-50 и толщина s = 2–3 мм. Применяют их для грубой, обдирочной и черновой обточки, обработки вогнутых поверхностей, точения канавок с полукруглым дном и сверления центральных отверстий в деталях с односторонним прихватом;



Рис. 18. Токарные стамески:

а — полукруглая стамеска-трубка (рейер); б — стамеска-косяк (7); двухугловой (2) и одноугловые резаки (3, 4)



Рис. 18. Токарные стамески (продолжение);

в — стамески для чистовой обработки деталей (7, 2), отрезные (1, 4, 5), расточные (5, 8) и подрезные (3, 7, 8); г — фасонные стамески с фигурными лезвиями (1–6) и крючок с двумя режущими лезвиями (7)


б) стамески-косяки (майсели) (рис. 18,б, I) — плоские стамески с прямым полотном и режущей кромкой, сточенной под углом 60–70° к продольной оси, что позволяет во время работы держать их под углом 45–60° к оси детали. Режущая кромка образуется заточкой с обеих сторон стамески до получения угла 20–30° (для мягких пород деревьев) или 30–40° (для твердых пород). Косяк используют для чистовой отделки поверхности обрабатываемой детали. Скос его полотна дает возможность обрабатывать цилиндрические и выпуклые поверхности, острым углом удобно подрезать торцы и отрезать детали, а тупым углом (пяткой) обтачивать образования углублений. Следует иметь набор косяков с шириной полотна а = 6-50 мм. К этой группе токарных стамесок относятся еще двухугловые резаки — плоские стамески с двумя скосами, имеющими общую вершину с углом 70-130° (рис. 18,б, 2). Ширина полотна а = 6-20 мм, угол заточки 20–30° и 30–40° (для мягких и твердых пород деревьев). Двухугловые резаки применяют для вытачивания выступов, впадин и угловых переходов в деталях, а также для снимания фасок. К этой группе можно также отнести одноугловые резаки — плоские стамески с одними скосами с углом при вершине 60 и 90° (рис. 18,б, 3, 4);

в) стамески для чистовой обработки деталей (к ним относятся плоские стамески с прямой и полукруглой фасками, заточенными только с одной стороны — рис. 16,а, 17,в). В эту группу инструментов входят прямые, полукруглые стамески, косячки и другие стамески с разнообразными лезвиями, некоторые из которых показаны на рис. 18,в. В эту же группу входят отрезные стамески (рис. 18,в, 1, 4, 5), расточные внутри детали (рис. 18,в, 5–8) и левосторонние подрезные и правосторонние (рис. 18 в, 7, 8);

г) к четвертой группе токарных инструментов относятся фасонные стамески с фигурными лезвиями (рис. 18,г, 1–6) и крючки, выполненные в виде круга с двумя режущими лезвиями (рис. 18,г, 7). Фасонные стамески применяют для обтачивания сложных и тонких профилей наружных сторон всевозможных деталей, а крючки — для внутреннего вытачивания и углубления полостей в них.

На рис. 19 представлены некоторые образцы токарных изделий, выточенных с помощью приведенных стамесок.




Рис. 19. Образцы токарных изделий


Художественная резьба по дереву — один из древних и наиболее распространенных видов русского народного искусства. Она по способу исполнения разделяется на объемную и плоскорезную. Объемная резьба, как подсказывает сам термин, связана с созданием объемных форм, например: предметов быта, интерьера, мебели, орудия труда, скульптур и т. п. На рис. 20 показана ковш-птица с ковшиками как образец объемной резьбы. В плоскорезной резьбе орнамент лежит в одной плоскости с поверхностью изделия, например: подкарнизные доски, оконные наличники с резьбой и т. п. На рис. 20 показана пряслица, выполненная плоскорезной резьбой.




Рис. 20. Ковш-утица с ковшиками и пряслица, выполненные объемной и плоско-рельефной резьбой


Она в свою очередь разделяется на геометрическую, плоскорельефную, рельефную, прорезную. Наиболее простая резьба — геометрическая, выполняемая ножами-косяками. Основу ее составляют двух- и трехгранные выемки. Для выполнения других видов плоскорезной работы, а также объемной необходимы наборы плоских и полукруглых стамесок, цезарики и клюкарзы. Рукоятка инструмента для резьбы по дереву имеет большое значение. Каждый мастер выбирает ее такой формы, чтобы она была удобной в процессе работы. Ее длину берут в пределах полторы ширины ладони, то есть не менее 130–150 мм, а диаметр ~30 мм. Форма рукояток должна быть круглой, овальной и граненой. Однако наиболее удобная форма, как у столярных стамесок, со скосами с двух сторон (рис. 16,а). Рукоятки делают из древесины твердых пород деревьев. Длины рабочих частей стамесок для резьбы по дереву составляют ~105–120 мм.

Рассмотрим некоторые инструменты для резьбы по дереву.

A. Косяки-стамески, применяемые при резьбе (рис. 21,а). По форме они такие же, как и токарные (рис. 18,б, I). Их изготавливают шириной а = 20–25 мм и с углом скоса по отношению к оси полотна 60–70° и шириной а = 7-10 мм с углом скоса 30–45°. Толщина полотна косяков в отличие от токарных должна быть не более 2 мм. Угол заострения, образуемый двумя фасками, не более 20°. По оформлению угла заострения косяки изготавливают в двух вариантах, указанных на рис. 21. Широкие косяки применяют в большинстве случаев при геометрической резьбе, а узкие — при других ее видах.



Рис. 21. Стамески для резьбы по дереву:

а — стамески-косяки широкие (1) и узкие (2); б — полукруглые средние (7), отлогие (2) и крутые (3); в — цезарик; г — стамеска-уголок



Рис. 21. Стамески для резьбы по дереву (продолжение):

д — стамески-глюкарзы полукруглые (7), угловые (2) и полукруглые малого диаметра (3)


Б. Прямые стамески по своей форме такие же, как и столярные (рис. 16). В наборе резчика их должно быть не менее 20 с толщиной лезвия в = 3–4 мм и шириной а = 4, 6, 8, 10, 12, 15, 18, 20, 25, 30, 40 и 50 мм и толщиной лезвия до 3 мм и шириной а = 12, 15, 18, 20, 25, 30 и 40 мм. Угол заточки 20–25°. Прямые стамески применяют в основном для зачистки фона в плоскорельефной, рельефной, а также в контурной резьбе.

B. Полукруглые стамески (рис. 21,б) служат основным инструментом для многих видов резьбы, имеют желобчатую форму. Они по своей конструкции такие же, как и столярные полукруглые, затачиваемые с наружной стороны полотна (рис. 17,а) на высоте 5–6 мм, при которой получается угол заточки 18–25°. Толщина полотна s = 2–3 мм. Полукруглые стамески в зависимости от радиуса изгиба г делятся на отлогие, средние и крутые. В наборе резчика должно быть отлогие шириной а = 6, 8, 10, 12, 15, 20, 25, 30, 40 мм, средние — шириной а = 6, 8, 10, 12,15, 20 мм и крутые — шириной а = 6, 8, 10, 12, 15 мм.

Г. Цезарики (рис. 21,в) — узкие полукруглые стамески, которые в поперечном разрезе, кроме крутого изгиба, имеют стенки с двух сторон. Цезарики изготавливают шириной а = 2, 3, 4, 5 мм. Их применяют для прорезания жилок в древесине изготавливаемого изделия. Длина рабочей части цезариков не более 100–105 мм.

Д. Стамески-уголки (рис. 21,г) представляют собой стамески, стороны которых шириной а = 5-15 мм образуют между собой угол 50–70°. Их применяют при выборе узких линий-канавок.

Е. Клюкарзы — стамески с длинной шейкой и изогнутым коротким полотном (рис. 21,д) шириной а = 2-15 мм. Клюкарзы в сечении могут иметь форму полукруга (рис. 21,г), 1,3) с радиусом режущей части r = 4, 8, 12 и 16 мм и форму угла (рис. 21,д, 2) с углами 30, 50, 70 и 90°. Клюкарзы очень широко используют для глубокой резьбы и зачистки фона (рис. 20).

Мы рассмотрели столярные, токарные стамески для резьбы по дереву, из которых в хозяйственных магазинах можно купить только прямые и полукруглые столярные стамески. Большое количество видов необходимых токарных стамесок и стамесок для резьбы никогда в продаже не бывает, и поэтому токари и резчики вынуждены изготавливать их сами или заказывать опытным мастерам, либо кузнецам. Самодельные стамески изготавливают из купленных плоских и полукруглым стамесок, из напильников, машинных рессор, подшипниковых колец, ножовочных полотен механических пил, скальпелей и т. д., предварительно их обжигая. После изготовления стамески необходимого профиля ее дорабатывают на наждачном круге или профильным напильником до окончательной формы, а затем закаливают. Вновь изготовленные стамески насаживают на рукоятки.

Рукоятку нужно насаживать на хвостовик стамески так, чтобы ее продольная ось совпадала с осью стамески. Опытные мастера совпадение осей проверяют следующим образом: стамеску размещают на ровной поверхности стола и сравнивают зазоры 5 между плоскостями ее полотна и поверхностью стола при разных положениях (рис. 16,а). Если зазоры одинаковы при противоположных ее положениях, то рукоятка насажена правильно. Данным способом можно пользоваться при покупке стамесок, долот и отверток.

Рукоятки стамесок изготавливают и насаживают в определенной последовательности. Для примера возьмем столярную стамеску, приведенную на рис. 16,а:

• на токарном станке по заданным размерам вытачивают рукоятку, колпачок из отрезки трубы и крышечку к нему (рис. 22,б, в). Материал колпачка и крышечки — сталь, медь, латунь и дюралюминий;

• насаживают колпачок на выточенную рукоятку. Он должен садиться на свое место с натягом;

• в рукоятке со стороны установленного колпачка и крышечки просверливают отверстие.



Рис. 22. Изготовление рукояток, колпачков и крышечек к ним и насаживание их на хвостовики стамесок:

а — хвостовики призматический и конический; б, в — рукоятки для стамесок с призматическим и коническим хвостовиками; 1 — рукоятка; 2 — отверстие для хвостовика; 3, 4 — колпачок и крышечка к нему



Рис. 22. Изготовление рукоятки (продолжение) и насаживание ее в коническую трубку стамески (г):

1 — коническая трубка; 2 — рукоятка


Как уже говорилось выше, хвостовики в стамесках делают призматические или конические (рис. 16,б, в). При призматическом хвостовике (рис. 22,а) штангенциркулем определяют размер его диагонали d и в рукоятке на глубину длины хвостовика просверливают отверстие диаметром, равным 0,9 х d. Такой уменьшенный диаметр отверстия необходим для плотного насаживания рукоятки на хвостовик. Например, призматический хвостовик стамески длиной 50 мм имеет в сечении квадрат со стороной 8 мм. Его диагональ равна 11,3 мм. Для насаживания рукоятки на хвостовик в ней просверливают отверстие диаметром ~0,9 х 11,3 = 10 мм. Глубина сверления 50 мм. Для насаживания крышечки на хвостовик в ней сверлят отверстие диаметром 11,4 мм;

• если хвостовик конический (рис. 22,а), то для выполнения отверстия в рукоятке поступают так. Длину хвостовика разделяют на три части и в каждой из них штангенциркулем определяют средний диаметр и далее в рукоятке просверливают отверстия трех диаметров, соответствующих каждой разделенной части. Например, конический хвостовик имеет длину 50 мм и наибольший диаметр 9 мм. Разделяют его на три части по ~17 мм, определяют средний диаметр каждой части: 7,5, 4,5 и 1,5 мм. Затем в рукоятке высверливают отверстия: на глубине 17 мм диаметром 7,5 мм, на глубине 34 мм — 4,5 мм и на глубине 50 мм — 1,5 мм. Для насаживания в крышечке просверливают отверстие диаметром 9,2 мм;

• для насаживания рукоятки полотно стамески закрепляют в тисках, на хвостовик надевают крышечку к колпачку и по ней, рукоятку забивают на хвостовик саму рукоятку. Нанося киянкой удары до упора. Для надежного, плотного и устойчивого удерживания рукоятки на хвостовике на нем ножовкой по металлу делают насечки небольшой глубины. Перед забиванием рукоятки в отверстие заливают небольшое количество эпоксидного клея с добавлением металлических опилок;

• через сутки, после затвердевания клея, в рукоятке согласно размерам выполняют скосы, применяя ножовку, стамеску, напильники, нож и шкурки;

• если стамеска изготовлена с конической трубкой (рис. 16,г, 22,г), то сначала на токарном станке по приведенным размерам вытачивают рукоятку с конической частью, соответствующей конической трубке стамески. Для надежного и плотного удерживания рукоятки в конической трубке на ее конусной части ножовкой по металлу насекают небольшие канавочки, обмазывают эпоксидным клеем с добавлением металлических опилок. Затем рукоятку насаживают в коническую трубку, ударяя по ней киянкой. После затвердевания клея в рукоятке выполняют скосы.

Долото — по конструктивному оформлению такой же инструмент, как и стамеска. Применяют для выборки прямоугольных гнезд, шипов и пазов в столярных и плотничных деталях для их соединения между собой. Долото отличается от стамески более толстым и прочным полотном и соответственно рукояткой. А еще на конец рукоятки надевают металлическое кольцо, которое предохраняет ее от разрушений при нанесении ударов. В рукоятках стамесок скосы делают параллельно полотнам, а в рукоятках долот (для удобства в процессе работы) скосы выполняют в плоскостях, перпендикулярных полотнам (рис. 23). При отсутствии стамески вместо нее прекрасно можно использовать долото.



Рис. 23. Долота:

а — столярное; б — плотничное; 1 — полотно; 2 — крышечка к колпачку 3; 4 — скос в рукоятке 5; 6 — предохранительное кольцо


Полотна долот изготавливают из стали марок 7ХФ, 9ХФ, 9ХС, ХВГ, У7, У7А, У8, У8А. Твердость полотна после закалки на длине ~0,7 его рабочей части HRC — 58–65. Угол заточки режущей кромки 20–30°. По назначению и конструктивному оформлению долота подразделяются на столярные и плотничные.

Столярные долота (рис. 23,а) изготавливают с шириной полотен 6, 8, 10, 12, 16, 18 и 20 и длиной 315, 335 и 350 мм. Выточенную на токарном станке рукоятку с установленными колпачком и предохранительным кольцом насаживают на хвостовик долота по методу насаживания рукояток в стамесках, описанному выше. Хвостовики в столярных долотах могут иметь призматическую и коническую формы, как и в стамесках (рис. 16,б, в). Основное назначение рукоятки — в передаче усилия ударов киянки на режущее лезвие долота. Поэтому рукоятка должна быть прочной и вязкой. Выполняют ее из прочных и твердых пород деревьев: дуба, клена, березы, яблони и рябины.

Плотничные долота (рис. 23,б) изготавливают с конической трубкой, в которую забивают деревянную рукоятку с установленным предохранительным кольцом по способу насаживания рукояток в стамесках с конической трубкой, описанному выше. Ширина полотен у плотничных долот 16, 18, 20, 25 и длина 315, 335 и 350 мм.


Инструменты для опиливания материалов

Опиливание — удаление небольшого слоя материала с поверхностей деталей, исполненных из металла, дерева, оргстекла, пластмасс, резины, кожи и т. д. Опиливают с помощью напильников, рашпилей и надфилей. Применяя указанные инструменты в слесарных, столярных и плотничных деталях обрабатывают прямолинейные, выпуклые и вогнутые поверхности, пазы, канавки, отверстия, придавая им требуемые формы и подгоняя друг к другу. На производстве опиливание деталей в большинстве случаев выполняют на специальных станках. Но полностью ручное опиливание они вытеснить не могут, так как подгоночные работы при сборке и монтаже всевозможных устройств, установок и оборудования часто приходится выполнять вручную. В домашних условиях напильники, рашпили и надфили также широко применяются при выполнении всевозможных работ.

Напильник (рис. 24, 25) представляет собой стальной брусок определенного профиля и длины. Он состоит из рабочей части и хвостовика.



Рис. 24. Напильник слесарный плоский остроносый общего назначения:

1 — носок; 2 — рабочая часть (широкая сторона); 3, 4 — вспомогательная и основная насечки; 5 — заплечик; 6 — хвостовик; 7 — зубья (увеличены); 8 — узкая сторона; а х в — ширина и толщина; I — общая длина; I1 — длина рабочей части; n — ширина хвостовика на расстоянии m между заплечиком и рукояткой; с х с — размеры конца хвостовик



Рис. 25. Формы напильников по сечениям:

а — квадратный; б — круглый; в — треугольный; г — полукруглый; д — ромбический; а х в — ширина и толщина; I — общая длина; II1 — длина хвостовика


На его рабочей поверхности выполнены насечки (нарезки), образующие впадины и острозаточенные зубья, снимающие стружку с обрабатываемой поверхности при опиливании материала. Зубья насекают на специальных пилонасекательных станках и после этого рабочие части напильников подвергают термической обработке. Напильники изготавливают из стали марок У10А, У13А, ШХ15 и 13Х.

Хвостовик служит для насаживания рукоятки.

Напильники подразделяют: по форме и величине насечки, длине и форме бруска и по назначению. Чем меньше насечек на 1 см длины напильника, тем крупнее зуб. Различают напильники с одинарной, двойной и точечной (рашпильной) насечкой.

Напильники с одинарной насечкой, выполненной под углом 25° к полотну напильника, применяют при обработке мягких металлов (латуни, цинка, свинца, бронзы, меди, алюминия) и неметаллических материалов (дерево, текстолит, эбонит).

Напильники с двойной (перекрестной) насечкой (рис. 24) применяют для опиливания стали, чугуна и других твердых материалов с большим сопротивлением резанию. В них сначала насекается основная насечка, расположенная под углом 25° к полотну напильника, а затем — вспомогательная, расположенная под углом 45°. Она разрубает основную насечку на большое количество отдельных зубьев, благодаря чему снимаемая стружка больше размельчается, что облегчает опиливание материала. Напильники с двойной насечкой широко используют для заточки пил, ножей, ножниц и т. д.

Напильники по числу насечек на 1 см длины делятся на следующие шесть номеров: 0, 1, 2, 3, 4 и 5.

Напильники с насечкой № 0 и 1 (драчевые) имеют наиболее крупные зубья и служат для грубого опиливания, когда требуется удалить большой слой материала с обрабатываемой детали. Напильники с насечкой № 2 и 3 (личные) применяют для чистового опиливания деталей. Напильники с насечкой № 4 и 5 (бархатные) служат для окончательной отделки обрабатываемой поверхности.

Напильники по форме бруска делятся на следующие типы: плоские (тупоносые и остроносые), квадратные, круглые, полукруглые, треугольные и ромбические.

Плоские (тупоносые и остроносые) (рис. 24) применяются для опиливания наружных или плоских внутренних поверхностей, а также пропиливания шлицев и канавок. Квадратные напильники (рис. 25,а) используются для распиливания квадратных, прямоугольных и многоугольных отверстий, а также для опиливания узких плоских поверхностей. Треугольные напильники (рис. 25,в) служат для опиливания острых углов 60° и более как с внешней стороны детали, так и в пазах, отверстиях и канавках, для заточки пил по дереву. Ромбические напильники (рис. 25,д) используют для опиливания зубьев зубчатых колес, дисков и звездочек, для снятия заусенцев с этих деталей после обработки их на станках, а также опиливанияуглов свыше 15° и пазов. Круглые напильники (рис. 25,б) используют для распиливания круглых и овальных отверстия и вогнутых поверхностей небольшого радиуса. Полукруглые напильники (рис. 25,г) применяют для обработки вогнутых криволинейных поверхностей значительного радиуса и больших отверстий (выпуклой стороной), выпуклых криволинейных поверхностей, плоскостей и углов более 30° (плоской стороной).

Кроме вышеописанных напильников по специальным заказам изготавливают ножовочные напильники, напильники для обработки деталей из цветных и легких металлов и сплавов и неметаллических материалов и алмазные напильники с нанесенным алмазным слоем на их рабочих частях.

В табл. 5 приведены размеры широко используемых плоских, квадратных, круглых, полукруглых и ромбовидных напильников, указаны размеры общих длин I, хвостовиков I – I1 и расстояний между полотнами и насаживаемыми рукоятками m.



Рассматривая рис. 24 и 25, замечаем, что хвостовики плоских, полукруглых и ромбических напильников на любом месте длины имеют ширину большую, чем толщину. А в хвостовиках квадратных, круглых и треугольных напильников ширина и толщина по всей длине приблизительно равны. Это необходимо учитывать при определении размеров отверстий в рукоятках для хвостовиков.

Основное назначение рукоятки — управление напильником в процессе опиливания деталей. Поэтому рукоятки должны быть прочными, удобными и не травмировать руки. Они должны быть насажены на хвостовики очень надежно на расстоянии ш от полотен напильников. Рукоятки вытачивают на токарном станке из древесины дуба, клена, березы, яблони, груши, рябины и сливы. Очень приятные и прочные рукоятки получаются из ядровой части высушенной древесины яблони. Их можно изготовить круглой и овальной формы (обычно на практике предпочтение отдают овальным рукояткам). Для придания овальности на поверхностях с двух сторон выполняют скосы, и в результате получаются очень удобные рукоятки. На рукоятку со стороны хвостовика насаживают колпачок, предохраняющий ее от раскалывания.

Размеры рукояток напильников должны соответствовать их длинам I. В табл. 6 приведены размеры рукояток, колпачков, скосов в них и параметры отверстий для хвостовиков в зависимости от длин напильников. Обозначения диаметров и длин соответствуют рис. 26.



Рис. 26. Насаживание рукоятки на хвостовик напильника:

2 — отверстие для хвостовика 1, 3 — рукоятка со скосами 4; 5 — колпачок; I - I1 — длина хвостовика; I2, диаметр d4 и диаметр d5 — размеры рукоятки



Для определения размеров отверстий в рукоятках для хвостовиков напильников пользуются методом, примененным выше при насаживании рукояток стамесок на конические хвостовики. На рис. 26 показано использование этого метода при насаживании рукояток напильников. Длину глубины насаживания хвостовика I – I1m разделяют на три равные части m1 = m2 = m3 и в каждой из них штангенциркулем определяют среднюю ширину хвостовика, каждая из которых соответственно равна d1, d2 и d3. Согласно этим данным составляют чертеж ступенчатого отверстия, в котором длины ступеней равны разделенным частям. По чертежу в рукоятке высверливают отверстия: в первой ступени на глубине m1 отверстие диаметром d1, во второй ступени на глубине m1m2 отверстие диаметром d2 и в третьей ступени на глубине m1 + m2 + m3 отверстие диаметром d3.

Пример 3. Определить размеры рукоятки для плоского напильника длиной I = 255 мм.

Из табл. 5 определяем размеры хвостовика: I – I1 = 55, m = 4, n = 9 и с х с = 3 x 3 мм, а из табл. 6 — размеры рукоятки: длина I = 120, диаметры d4 = 32, d5 = 38 мм, размеры колпачка: наружный и внутренний диаметры 30 и 28 и ширина 14 мм. Размеры ступенчатого отверстия в рукоятке для хвостовика: глубина 51 и ширина каждой ступени m1 = m2 = m3 = 17 мм. По размерам хвостовика составляем чертеж и по нему графически находим среднюю ширину в каждой ступени; они равны: d1 = 8, d2 = 6 и d3 = 4 мм. По найденным размерам вытачиваем на токарном станке рукоятку и колпачок, который насаживаем на нее. Затем в рукоятке высверливаем ступенчатое отверстие для хвостовика: в первой ступени на глубине 17 мм отверстие диаметром 8 мм, во второй ступени на глубине 34 мм — отверстие диаметром 6 мм и в третьей ступени на глубине 51 мм — отверстие диаметром 4 мм.

Для насаживания рукоятки на хвостовик напильника его полотно закрепляют в тисках. На хвостовик надевают рукоятку и, ударяя киянкой по ней, забивают ее до упора. Для надежного, плотного и устойчивого удержания рукоятки ножовкой по металлу выполняют насечки на хвостовике небольшой глубины. После насаживания рукоятки в ней выполняют скосы. Крепление хвостовика в рукоятке можно считать прочным и надежным, если он в ней держится крепко, не качается и в процессе работы начальная прочность крепления не снижается.

Рашпили (рис. 27) предназначены для обработки мягких металлов и сплавов (свинец, олово, медь и др.) и неметаллических материалов и сплавов (дерево, кожа, резина, пластмассы), когда обычные напильники непригодны из-за того, что их насечки быстро забиваются стружкой, и они перестают опиливать материал.



Рис. 27. Рашпили:

а, б — с хвостовиком и без него; I — общая длина; I - I1 — длина хвостовика


Рашпили выпускают в двух вариантах: с хвостовиками и без них (рис. 27, а, б). В, зависимости от профиля рашпили общего назначения подразделяют на плоские (тупоносые и остроносые), круглые и полукруглые с насечкой № 1 и 2 и длиной от 250 до 350 мм. Зубья рашпиля имеют большие размеры и вместительные канавки. Они получаются вдавливанием металла трехгранными зубилами на специальных станках.

Рукоятки к рашпилям с хвостовиками выполняют по тому же способу, как и в напильниках.

Надфили (рис. 28) — небольшие напильники, применяемые для лекальных, граверных, ювелирных работ и для зачистки деталей в труднодоступных местах (отверстий, углов, коротких участков профиля и др.).



Рис. 28. Надфили и рукоятки для них:

а, б — рукоятки с винтовым и цанговым зажимами; 1 — рукоятка с колпачком 2; 3 — винт М3; 4, 5 — рукоятка и рабочая часть надфиля; 6 — цанговый зажим с гайкой под ключ 12


Надфили имеют такую же форму, как и слесарные напильники. Их изготавливают из стали марок У12, У12А, У13 и У13А. Длины надфилей равны 80, 120 и 160 мм, а на рабочих частях на длине 50, 60 и 80 мм насечены зубья. Надфили имеют перекрестную насечку — основную и вспомогательную, как в напильниках. В зависимости от количества насечек, приходящихся на 10 мм длины, надфили разделяют на пять типов — № 1, 2, 3, 4 и 5 и на рукоятке каждого из них наносится номер насечки: № 1 — 20–40 насечек, № 2 — 28–56 и № 3, 4 и 5 — 40-112 насечек.

Кроме надфилей общего применения выпускают алмазные надфили для обработки твердосплавных материалов, различных видов керамики, стекла, а также для доводки режущего твердосплавного инструмента.

Надфиль состоит из рабочей части с нанесенной насечкой и круглой рукоятки 0 3 мм. Обычно на практике для удобства работы надфили насаживают в рукоятки, выполненные из дерева, оргстекла, текстолита, гетинакса и эбонита. На рис. 28 показаны два варианта рукояток надфилей, выполненных из яблони.

В первом варианте (рис. 28,а) рукоятку и колпачок по данным размерам вытачивают на токарном станке, в рукоятке для введения надфиля просверливают отверстие диаметром 3,5 мм на глубину 55 мм, устанавливают колпачок на свое место. В нем и древесине нарезают резьбу под винт М3. При работе надфиль вводят в отверстие рукоятки и зажимают его винтом.

Во втором варианте (рис. 28,б) в рукоятке с установленным колпачком и просверленным отверстием насаживают (со стороны колпачка) в выполненное гнездо диаметром 8 мм цанговое устройство с гайкой под ключ 12. Такой цанговый зажим с внутренним отверстием 0 3,5 мм (он очень хорошо подходит для закрепления надфилей) можно взять из широко распространенных переменных сопротивлений типа ППЗ-11, применяемых в радиотехнических устройствах. Сначала разбирают сопротивление, освобождают цанговый зажим, а затем его устанавливают в рукоятке на эпоксидном клее с добавлен

На рис. 1 показаны напильники с насаженными рукоятками и две рукоятки с цанговыми зажимами для надфилей.


Инструменты для завинчивания винтов, болтов и шурупов

К инструментам для завинчивания и отвинчивания винтов, болтов, шурупов и круглых гаек со шлицем на торце относятся отвертки с прямым и крестовидными шлицами (рис. 29, 30, 31), которыми очень широко пользуются электрики, слесари, столяры и плотники. Каждая отвертка состоит из стального круглого стержня, редко — квадратного или шестигранного. Один ее конец запрессован в пластмассовую или насажен в деревянную рукоятку, а другой является рабочей частью, выполненной в виде лопатки (с вырезом и без выреза) и с крестовидным шлицем. Стержни отверток с рабочей частью и расплющенным концом, для насаживания в рукоятку изготавливают путем штамповки круглых или квадратных, а также шестигранных заготовок из стали марок У7, 40Х и 50ХФА. Затем их рабочие части закаливают до твердости HRC 46–51.



Рис. 29. Отвертки с пластмассовыми рукоятками:

а, е — с клиновидной лопаткой (4) без гайки и с гайкой (7); б — с крестовидным концом; в — с лопаткой с параллельными сторонами; г — с квадратным стержнем; д — с лопаткой с вырезом; 1, 6 — рукоятки с буртиком 2 и без него; 3 — стержень с лопаткой 4 и расплющенным концом 5I — общая длина; II - I1 — длины рабочего стержня и рукоятки; диаметр d1, d2 — диаметры стержня и рукоятки


Отвертки (по материалу рукояток) изготавливают с пластмассами, деревянными, накладными рукоятками и рукоятками, выполненными из самих же стержней. В свою очередь, каждая отвертка отличается друг от друга размером, формой сечения стержня и конструктивным оформлением рабочей части.

Основное назначение рукоятки — в передаче вращающегося усилия от рук на шлиц винтов и гаек в процессе откручивания и закручивания последних. Поэтому рукоятки должны быть удобными, не травмировать руки. Сами же стержни должны быть прочно насажены в рукоятках. Пластмассовые рукоятки выполняют с небольшими канавочками и возвышениями во избежание проворачивания ее в руках в процессе работы. А деревянные рукоятки, выпускаемые промышленностью, имеют гладкую поверхность. И пластмассовые и деревянные рукоятки изготавливают с буртиком (редко — без него), чтобы рука не соскальзывала во время работы. Длина рукоятки отвертки должна быть такой, как размер полторы ширины ладони, а толщина должна позволять удобно укладываться в ней. В соответствии с этими рекомендациями выработана зависимость между длиной I2 и толщиной диаметром d2 рукоятки отвертки: она приблизительно равна 4:1. Например, если рукоятка отвертки имеет длину 90 мм, то ее толщину выбирают равной 22–23 мм.

Отвертки с пластмассовыми рукоятками изготавливают во всех конструктивных вариантах (рис. 29). Наиболее широко распространены отвертки с круглыми стержнями и редко — квадратными и шестигранными (рис. 29,а, г). Последние обладают устойчивостью против

изгиба и их применяют, кроме прямого назначения, как ломик и зубило. Промышленность по специальным заказам изготавливает еще отвертки с шестигранной гайкой под ключ 8-17 мм, приваренной на стержне возле рукоятки (рис. 29,е). Ими пользуются, когда винт или шуруп обычной отверткой не отвернуть. При использовании отвертки с гайкой левой рукой надавливают на ее рукоятку и гаечным ключом, зажатым в правой руке, отворачивают винт или шуруп, «застрявшие» в отверстии.

Наиболее широко используются отвертки с бочкообразными и клиновидными лопатками и редко — с лопатками с параллельными сторонами (рис. 29,а, в). Каждая лопатка в отвертках имеет ширину а и толщину в (табл. 7).



Они строго соответствуют определенному шлицу в винтах и шурупах. Поэтому каждый мастер должен иметь набор отверток с разными размерами лопаток. В отвертках с круглыми стержнями лопатки с параллельными сторонами имеют ширину а = диаметр d1, а в отвертках с квадратными стержнями лопатки выполняют по диагонали квадрата. Их ширина равна а = 1,4 х d1 (d1 — сторона квадрата). Отвертки, имеющие лопатки с параллельными сторонами, применяют для закручивания и откручивания винтов и шурупов, расположенных глубоко в отверстиях всевозможных механизмов и машин. Промышленность выпускает еще отвертки, имеющие лопатки с вырезом. Обычно в таких отвертках а > диаметр d1. Ими пользуются при закручивании и откручивании гаек со шлицем на торце, расположенных в углублениях всевозможных узлов аппаратов и приборов.

Отвертки с крестовидным концом (рис. 29,б) также широко применяют для винтов и шурупов с крестовидным шлицем. Их изготавливают диаметром стержней 3, 4, 6, 8, 10, а длиной 105, 135, 190, 250 и 310 мм.

В табл. 7 приведены размеры отверток, описанных выше; буквенные обозначения соответствуют рис. 29.

Деревянные рукоятки у отверток (рис. 30,а), как подсказывает само название, вытачивают из твердых пород деревьев. В рукоятки насаживают расплющенные концы стержней. Металлический колпачок, насаженный на конец рукоятки, предохраняет ее от раскалывания. Отвертки с деревянными рукоятками изготавливают с круглыми стержнями и клиновидными или бочкообразными лопатками. Их размеры: I = 160–320, диаметр d1 = 3-10, а = 3-10, b = 0,5–2, I2 = 80-140, диаметр d2 = 20–35 мм.



Рис. 30. Отвертки с точеной (а) и накладной (б) рукоятками из дерева:

1 — стержень; 2 — колпачок; 3 — рукоятка; 4 — заклепка; 5 — плоская часть стержня; 6 — обушок; I — общая длина; II - I1 — длины рабочего стержня и рукоятки; диаметр d1, d2 — диаметры стержня и рукоятки; m x n — сечение рукоятки


Рукоятки отверток (и пластмассовые и деревянные) из-за неправильного использования и хранения могут расколоться, то есть стать непригодными для работы. В этих случаях вышедшую из строя рукоятку заменяют новой. Ее изготавливают из дерева твердой породы с сохранением прежних размеров или по тем данным, которые приведены в табл. 7. Выточенный колпачок устанавливают на свое место. При насаживании стержня в рукоятку в нем ножовкой по металлу выполняют небольшие канавочки и в отверстие заливают эпоксидный клей с добавлением металлических опилок. После высыхания клея стержень в рукоятке держится прочно и надежно.

Отвертки с накладными рукоятками (рис. 30,б). В них стержень отштамповывают вместе с лопаткой и плоской площадкой для рукоятки. На последнюю с двух сторон прикрепляют накладные рукоятки с помощью медных заклепок. Сами рукоятки выполняют из твердых пород деревьев, текстолита или гетинакса. Но самые прочные и красивые рукоятки получаются из яблони. В конце рукоятки имеется обушок, благодаря чему отвертку можно использовать как зубило и молоток. Размеры выпускаемых отверток с накладными рукоятками: I = 160–320, диаметр d1 = 3-12, а = 3-12, b = 0,6–2,6, I2 = 85-125, m = 22–32, n = 18–26 мм.

В случае выхода из строя накладных рукояток их заменяют новыми.

Отвертки, в которых рукоятки выполнены из самих же стержней, показаны на рис. 31,а,б. Такие отвертки мастера изготавливают сами из прутков горячекатаной стали диаметра 8-10 мм с лопатками клиновидной, бочкообразной форм и с параллельными сторонами. Их длины могут доходить до 500 мм.

Эти отвертки используют для закручивания винтов и болтов, расположенных в глубоких и труднодоступных местах машин и аппаратов.

На рис. 31, в показана самодельная отвертка, изготовленная из пружинистой проволоки (например, из пружины мебели). Их выполняют с прямыми лопатками клиновидной и бочкообразной форм и с параллельными сторонами.



Рис. 31. Отвертки из горячекатаной стали и стальной проволоки (b):

а — Г-образная; б — прямые с овальными рукоятками


Мы рассмотрели наиболее широко распространенные отвертки. Но выбор отверток огромен. В продаже бывают всевозможные наборы специализированных отверток: с гибкими стержнями, с храповыми механизмами и цанговыми устройствами со сменными насадками, с рукоятками, позволяющими работать под напряжением до 1000 В, с фиксаторами, удерживающими винты и шурупы в труднодоступных местах, и т. д.


Инструменты для строгания специального назначения

К инструментам ручного строгания относятся хорошо нам знакомые шерхебели, рубанки, фальцгебели, шпунтубели и т. д. К ним же можно отнести и струги (скобели), представляющие из себя бескорпусные инструменты с широким ножом и двумя рукоятками, насаженными на хвостовики (рис. 32).



Рис. 32. Струги:

а, б — с плоским и слегка выгнутым полотнами и прямолинейными лезвиями; в — с плоским полотном и дугообразным лезвием; 1 — полотно струга; 2 — рукоятка; 3 — хвостовик



Рис. 32. Струги (продолжение):

г — с дугообразно изогнутым полотном и прямолинейным лезвием; д — рукоятка; 2 — полотно струга; 3 — рукоятка с колпачком 5 и отверстием 4 для хвостовика 1


Струги в прошлом широко применяли в бондарном, колесном и санном производствах. В настоящее время они незаслуженно забыты и применяются редко, хотя для многих мастеров они являются незаменимыми инструментами при грубой обработке древесины, когда необходимо удалить ее большой слой, придать древесине определенную форму после обработки топором, а также при обдирке коры и сучков в бревнах.

Чем отличается струг от рубанка?

Прежде всего конструктивными оформлениями и направлениями движения при обработке древесины. Нож рубанка имеет ширину 50 мм, угол заточки β = 20–30°. Он жестко закрепляется в корпусе под углом резания, равным δ = 45°. При обработке древесины рубанком мастер движет его руками вперед, снимая тонкую стружку (рис. 33,а). Нож струга имеет ширину 150–390 мм, угол заточки, как и в рубанке β = 20–30°, а угол резания δ регулируется наклоном рукояток (рис. 33,б, в), от которого зависит качество поверхности обрабатываемой древесины.



Рис. 33. Обработка древесины:

а — рубанком; б, в — стругом при малом и большом углах резания δ1 и δ2, г — ножи стругов направлены против волокон и по ним; 1 — колодка рубанка с ножом 2; 3 — обрабатываемая древесина; 4 — нож струга


При обработке древесины стругом мастер притягивает его руками на себя, регулируя угол резания ножа. При малом угле резания δ нож струга образует в древесине опережающую трещину, в результате она раскалывается. Если увеличить угол резания до δ1, то происходит ускоренное заламывание стружки, при котором обрабатываемая поверхность древесины улучшается, но потребуется большое усилие резания. Еще на качество обработки поверхности древесины большое влияние оказывает направление движения ножа струга относительно наклона волокон (рис. 33,г). При движении ножа против волокон древесины получаются крупные опережающие трещины, идущие вглубь. В результате разламывания стружек на поверхности остаются большие неровности, а при обработке древесины стругом по направлению волокон ее поверхность получается ровной и гладкой. На качество остроганной поверхности древесины также влияет острота ножа струга. Острый нож легко и хорошо режет древесину, а при работе тупым ножом качество обработки ухудшается и увеличивается усилие резания.

Промышленность струги не выпускает, их изготавливают мастера сами или заказывают кузнецам, которые выковывают из автомобильных рессор, плоских напильников, шарикоподшипниковых колец или из стальных полос марок У9, У9А, У10, У10А, 9X9, OXC, Р9 или Р12. При изготовлении стругов материал подвергают термической обработке: отжигу, закалке и отпуску. Правильно проведенная термическая обработка придает ножу струга прочность, твердость и износоустойчивость.

При обработке древесины стругами наиболее широко применяют следующие их конструкции: с плоским и слегка выгнутым полотнами и прямолинейными лезвиями длиной 240–390 и шириной 40–50 мм (рис. 32,а, б), плоским полотном и выгнутым лезвием длиной 180–260 и шириной 40–50 мм (рис. 32,в) и с сильно изогнутым полотном и прямолинейным лезвием длиной по дуге 150–180 и шириной 40 мм (рис. 32,г).

Основное назначение рукояток — управление стругом в процессе обработки древесины. Поэтому они должны быть удобными, прочными, не травмировать рук и надежно насажены на хвостовики. На рис. 32,д приведен общий вид рукоятки с указанием размеров. Рукоятки вытачивают из древесины твердых пород деревьев, на них насаживают металлические колпачки, предохраняющие от раскалывания. Ступенчатое отверстие, необходимое для насаживания на хвостовик, выполняют по принципу, описанному выше (рис. 26). На хвостовике для надежного, плотного и устойчивого удерживания рукоятки ножовкой по металлу выполняют насечки небольшой глубины, в отверстие рукоятки заливают небольшое количество эпоксидного клея с добавлением металлических опилок. Забивают рукоятку на хвостовик, ударяя по ней киянкой.

Крепление рукояток на хвостовиках считается прочным и надежным, если они держатся крепко, не качаются и в процессе работы начальная прочность крепления не снижается.


Хозяйственные ножи

Нож — инструмент, которым пользуемся ежедневно в продолжении всей жизни при выполнении всевозможных работ. Мы без него — как без рук. Область применения ножей по сравнению с другими инструментами очень широка и каждый мастер-профессионал имеет свой нож, в котором конструктивное оформление лезвия и рукоятки выработано временем.

Многие специализированные заводы и фирмы выпускают ножи, но наряду с ними отдельные мастера и любители изготавливают их в домашних условиях. Каждый личный нож может свидетельствовать о богатой фантазии мастера. Заводы, фирмы, мастера и любители периодически устраивают выставки, выпускают альбомы и каталоги. В последнее время стал выходить журнал «Ножъ», где можно ознакомиться с ранее выпущенными и выпускаемыми ножами.

Любой нож состоит из лезвия, рукоятки и дополнительных элементов, придающих определенные качества.

Основную роль в ноже играет лезвие. От него зависит ценность ножа. Лезвие изготавливают из специальных марок стали: коррозионностойкой — марок 20X13, 30X13, 40X13, 65X13, 50Х14МФ, 95X18, 110X18, ШХ15 (примеры применения указанной стали: режущий и хирургический инструмент, детали подшипников), быстрорежущей — марки Р6М5 (инструмент для обработки конструкционных материалов), инструментальной — марок Х6ВФ, 5ХНМ, ХВГ (фрезерный инструмент, ножовочные полотна), углеродистой — марки 50 ХГА (автомобильные рессоры), а в более дешевых ножах лезвия изготавливают из углеродистой стали марок У7, У8, У9, У7А, У8А и У9А. Перечисленные выше стали в своем составе содержат кремний, марганец, хром, ванадий, молибден, титан, вольфрам. Они придают стали твердость, упругость, прокаливаемость, коррозионную стойкость, структурную стабильность при закалке и теплостойкость. В конечном счете перечисленные стали образуют после закалки тонкую режущую кромку и сохраняют заточку при работе лезвия в течение долгого времени. Лезвия изготавливают кузнечной ковкой с последующей термической обработкой по технологии, соответствующей определенной марке стали.

Список материалов, применяемых для выполнения рукояток ножей, очень длинный: яблоня (сердцевина), туя, береза карельская, кап березовый, корень можжевельника, бук, самшит, рог оленей, баранов и другого рогатого скота, толстая кожа оленей и быков, гетинакс, эбонит. Каждый мастер и любитель изготавливает рукоятки по своему замыслу целыми, набранными и накладными, но всегда удобными для работы.

Большинство ножей имеет дополнительные элементы: колпачки, ограничители для рук, детали укреплений лезвий на рукоятках. Их выполняют из латуни, бронзы, нержавеющей стали и дюралюминия. Они придают ножам безопасность, прочность и художественную красоту.

В этой небольшой статье предлагается конструкция универсального хозяйственного ножа, общий вид которого приводится на рис. 34. Нож можно использовать при выполнении многих работ: в саду для прививки плодовых деревьев, при ремонте обуви и мебели, плетении корзин и туесков, в переплетном и скорняжном деле и т. д.



Рис. 34. Нож универсальный:

а — общий вид; б — процесс изготовления; 1 — лезвие; 3 — рукоятка с насаженным колпачком 2; 4 — заготовка рукоятки одной половинки с нарисованным контуром 5; 6 — неглубокие отверстия; 7 — углубление для хвостовика 8 лезвия


Форма и размеры лезвия выработаны временем, оно хорошо подходит для перечисленных выше работ, имеет одностороннюю заточку с углом заострения 10–12°. Лезвие выполняют из ножовочного полотна от механической пилы толщиной 2 мм (сталь быстрорежущая марки Р6М5) или из дисковой пилы, вышедшей из строя (сталь инструментальная марок У8Г, ХВГ, У9). Указанные стали хорошо держат заточку в течение долгого времени, что очень важно для хозяйственного ножа. Лезвие изготавливают следующим образом. Контур лезвия с хвостиком (рис. 34,б) предварительно рисуют на ватмане, вырезают из него, приклеивают клеем ПВА на выбранное полотно или диск. После высыхания клея на отрезном станке или при помощи «болгарки» вырезают контур лезвия, окончательные размеры доводят на заточном станке и на этом же станке затачивают нож, снимая фаску с одной стороны. Для надежного насаживания лезвия в рукоятке на хвостовике выполняют зазубрины. Лезвие до установки в рукоятке шлифуют и полируют. (Предупреждение: при вырезании контура лезвия из полотна или диска отрезным камнем нельзя допускать состояние стали до синеватого цвета, так как сталь в этом случае теряет свои качества.)

Лезвие с указанными размерами можно заказать кузнецу, который откует его из подшипникового кольца или автомобильной рессоры, проведет термообработку и заточит.

Рукоятку в предлагаемом ноже выполняют из двух половинок, надежно склеенных между собой. Материалом для них служит сердцевина яблоневого ствола. Рукоятку изготавливают в следующей последовательности (рис. 34,б):

• в обеих половинках с размерами 145х44х12 мм на фрезерном станке разравнивают по одной продольной плоскости, чтобы эти половинки при приложении подходили друг к другу без зазора. В каждой из фрезерованных плоскостей карандашом отмечают контуры рукоятки и хвостовика лезвия (в каждой половинке контуры рукояток изображают зеркально);

• в обеих плоскостях половинок по контуру хвостовика выполняют углубление (глубиной ~1,2 мм), чтобы при приложении их друг к другу, в полученное отверстие свободно проходил хвостовик лезвия. Углубления в половинках выполняют узкой стамеской. Еще в обеих половинках в контурах рукояток просверливают сверлом диаметром 2 мм отверстия глубиной до ~2 мм, в которые при склеивании половинок заливают клей. В результате половинки приклеиваются друг к другу крепко и надежно;

• из трубы с наружным диаметром 22 мм и толщиной стенки 1 мм изготавливают овальный колпачок, размеры которого приведены на рис. 34,б. Материал колпачка — латунь, медь или нержавеющая сталь. В половинках рукоятки, приложенных друг к дугу, ножовкой по металлу и ножом подготавливают посадочное место для колпачка;

• фрезерованные поверхности половинок обмазывают тонким слоем эпоксидного клея с добавлением мелкого металлического порошка. Отверстия заполняют клеем и половинки зажимают в тисках. Затем колпачок, также на клею, устанавливают на свое место. В последнюю очередь в отверстие для хвостовика заливают небольшое количество клея и забивают в него сам хвостовик лезвия до упора киянкой. Лишний клей удаляют;

• через сутки рукоятку ножа снимают с тисков и ей придают форму, приведенную на рис. 34,а, применяя ножовку по металлу, плоские и полукруглые напильники, нож и шкурки. Далее рукоятку шлифуют и покрывают лаком.

Рукоятку ножа можно изготовить и по другому способу. В заготовке рукоятки размером 145х44х26 мм отверстие для хвостовика лезвия просверливают сверлом диаметром 2 мм, прожигают стальной проволокой и отверстие необходимых размеров доводят долотиком, выполненным из квадратного надфиля. Далее в выполненные посадочное место и отверстие на эпоксидном клее забивают колпачок и хвостовик лезвия. После высыхания клея рукоятке придают необходимую форму.

По предлагаемому способу можно изготовить прекрасные ножи из сломанных ножей, скальпелей и стамесок. Рукоятки можно выполнить из корней можжевельника, березового капа и сердцевины яблоневого ствола.


Шилья

Шило — широко распространенный инструмент, применяемый для прокалывания отверстий в материалах при выполнении всевозможных работ. Область применения шильев очень широка, их применяют и школьники, и любители мастерить, и профессионалы. Шилья в продаже бывают только небольших размеров с конусообразной заточкой. Поэтому любители и профессионалы изготавливают себе наборы шильев по своим размерам и формам в домашних условиях.

Шило (рис. 35) состоит из круглого прямого или изогнутого стержня с заостренным концом и рукоятки с насаженным колпачком. При их изготовлении в качестве стержней берут швейные иглы, вышедшие из строя отвертки, отрезки рояльной проволоки и мебельной пружины, а также можно использовать плашечные метчики, надфили и круглые напильники. Из перечисленных заготовок выходят качественные шилья, они после заточки долго сохраняют острие, и их можно использовать при работе с твердыми и прочными материалами.



Рис. 35. Шилья, применяемые при выпиливании лобзиком и в столярном деле (а) и для ремонта обуви и изделий из кожи (б):

1 — стержень из мебельной пружины или рояльной проволоки с хвостовиком 3; 4 — рукоятка с насаженным колпачком 2; 5 — швейная игла



Рис. 35. Шилья (продолжение), применяемые при изготовлении и ремонте мягкой мебели и конской сбруи и упряжи (а):

1 — прямой стержень; 2 — изогнутый



Рис. 35. Шилья (продолжение), применяемые при плетении ажурных и хозяйственных корзин (г)


При изготовлении шильев заготовки необходимых размеров насаживают в рукоятки и заостряют на заточном станке (кроме швейных игл). А при использовании надфилей и напильников с их поверхностей удаляют насечки на том же станке. При насаживании стержня в рукоятку на нем ножовкой по металлу или отрезным камнем выполняют небольшие насечки. В выполненное заранее отверстие заливают эпоксидный клей с добавлением металлических опилок. После высыхания клея стержень в рукоятке держится прочно, надежно и не проворачивается.

В зависимости от выполняемых работ острие шила бывает конусообразным и трехгранной заточки. Шилья с конусообразным острием применяют для прокалывания отверстий в мягких материалах: бумаге, картоне, коже, текстиле и резине, когда не требуется таких усилий, как, например, при плетении корзин. Шилья трехгранной заточки (рис. 35,а) применяют для выполнения отверстий в плотных материалах (фанера, доска, эбонит, текстолит). Они при вращении работают как сверла, подрезают и выворачивают волокна материала, предохраняя его от раскалывания.

Далее рассмотрим конструктивные оформления шильев, используемых любителями и профессионалами:

• шилья, применяемые для протыкания сквозных отверстий в фанере для пилок при выпиливании лобзиком, а также в столярном деле при выполнении разметки и для накалывания мест для гвоздей и шурупов на досках и фанере (рис. 35,а). В этих шильях острие трехгранное;

• шилья, применяемые для ремонта обуви (туфли, сапоги) и других изделий из кожи (сумки, дубленки). В этих шильях стержни изготавливают из швейных иголок, которые насаживают в рукоятки (рис. 35,б);

• шилья, используемые при изготовлении и ремонте мягкой мебели (диваны, диван-кровати, стулья), конской сбруи и упряжи для верховой езды (хомуты, седелки, седла, уздечки, чересседельники и поводья). В этих шильях острие конусообразное и стержни имеют прямую и выгнутую формы (рис. 35,в);

• шилья, используемые при плетении ажурных и хозяйственных корзин.

В этих шильях острие конусообразное и стержни имеют прямую и изогнутую под разными углами формы (рис. 35,г).

При плетении изделий из ивовой и липовой ленты и бересты (лукошки, хлебницы, вазы) применяют плоское изогнутое шило — кочедык, общий вид которого приводится на рис. 36. Его изготавливают из стальной полосы и хвостик насаживают в рукоятку.


Рис. 36. Кочедык


Послесловие

Мы рассмотрели широко применяемые инструменты и изготовление рукояток к ним. Для предохранения от влаги, коробления и сохранения естественной красоты применяемой древесины в выполненных рукоятках поступают так:

• обрабатывают поверхность рукоятки плоским и полукруглым напильниками и шкуркой, сначала среднезернистой, а затем — мелкозернистой;

• удаляют древесный ворс на поверхности рукоятки, оставшийся после обработки шкуркой. Для этого поверхность сначала обильно увлажняют, а затем тампоном удаляют излишки влаги. После просушки вновь ее обрабатывают среднезернистой и мелкозернистой шкуркой до полного удаления поднявшегося ворса;

• грунтуют поверхность рукоятки при заполнении пор и лучшей связи лака с древесиной, применяя смесь олифы и скипидара в соотношении 3:1. Смесь наносят тампоном в марлевой оболочке на поверхность рукоятки и просушивают ее двое суток. После этого обрабатывают ее вдоль волокон мелкозернистой шкуркой;

• лакируют поверхность рукоятки лаком НЦ-22 или НЦ-228. Сначала лак разбавляют растворителем в соотношении 4:1 и тампоном наносят его на поверхность рукоятки вдоль волокон в одном направлении, делая 3–5 проходов. Затем лак просушивают двое суток и после этого обрабатывают поверхность мелкозернистой шкуркой до исчезновения блеска. Второе лакирование производят так же, как и первое. При этом полностью восстанавливается блеск, более приятный и устойчивый, чем первый. Через 2–3 суток инструментом можно пользоваться.

Далее рассмотрим, как сохранить инструменты в течение долгого времени в хорошем рабочем состоянии. Давно замечено, что от порядка и организации труда во многом зависят результаты выполняемой работы. Недаром говорят, что порядок — половина ожидаемого успеха. Четкий порядок в размещении инструментов в мастерской и на рабочем месте способствует лучшей их сохранности и, в конечном счете, быстрому выполнению планируемой работы. Следует приучать себя с младых лет к твердому правилу — класть инструменты каждый раз на одно и то же место. Это со временем входит в привычку, руки и глаза приучаются к месту расположения каждого инструмента. Что будет, если инструменты навалены на верстачном или рабочем столе? В этом случае уходит немало драгоценного времени на поиск необходимого инструмента. Во время же перекладывания заточенные лезвия стамесок, рубанков, зубьев пил и ножовок легко повреждаются, а рукоятки исцарапываются.

Инструменты должны храниться на инструментальных щитах, развешанных на стене над верстаком или рабочим столом. Шиты выполняют из фанеры или плиты ДСП толщиной 15–20 мм, для красоты их по периметрам обивают рейками, очищают шкуркой и окрашивают бесцветным нитролаком ЧЦ-222 или НЦ-228. Всевозможные крючки, гребенки, держатели, зажимы и полочки, выполненные своими руками или купленные в хозмагазинах, устанавливают в просверленные отверстия в щитах или прикрепляют шурупами.

При размещении инструментов на щитах необходимо соблюдать следующие правила:

• не надо загромождать щиты инструментами, между ними должны быть зазоры;

• наиболее часто применяемые инструменты располагают в центре щита, легкие — наверху, а более массивные — внизу, а однотипные (например, клещи, бокорезы, круглогубцы или рубанки, фуганок, шерхебель, фальцгебель и др.) размешают на одном месте;

• ножовки, пилы, струбцины, линейки развешивают на крючках, стамески, долота, отвертки, молотки, клещи, ножницы размещают в гребенках, а рубанки, фуганок, шерхебель укладывают боком на полочках;

• тяжелые инструменты (съемные тиски, электрорубанок, фрезерная машина, электроточило и др.) должны храниться на полках, выполненных в верстаке или в рабочем столе, а легкие инструменты (сверла, метчики, плашки, шурупы) должны находиться в коробочках, развешанных на щите;

• измерительный и разметочный инструмент (линейки, угольники, рейсмус, угломер, штангенциркуль, циркуль) должны размешаться на щите на отдельном месте;

• рабочее место должно освещаться достаточно.

На рис. 37 показан один из щитов с размещенными инструментами, который вывешен на стене. При наличии большого количества инструментов развешивают несколько таких щитов, расположенных рядом друг с другом.



Рис. 37. Инструментальный щит с развешенными инструментами


Может оказаться, что выполняемая работа располагается за пределами верстака или рабочего стола. В этом случае для транспортировки инструментов понадобится чемодан или инструментальный ящик. На рис. 38 приводится общий вид одного из таких ящиков. Его изготавливают на фанеры толщиной 7–8 мм.



Рис. 38. Инструментальный ящик:

1, 4 — торцевая и боковая стенки; 2 — рукоятка; 3 — ячейка с перегородкой 6; 5 — дно


Объем ящика разделяют на отделения с перегородками из фанеры толщиной 5 мм. При хранении стамесок, долот, топора и ножовки в отделениях на их режущие лезвия одевают куски резинового шланга. Чемодан и инструментальный ящик позволяют сохранить инструменты в исправном состоянии и способствуют в любом месте иметь под рукой необходимый инструмент.

К любому инструменту, которым пользуются на работе и который хранится на инструментальном щите или в переносном столярном ящике и чемодане, необходимо относиться бережно. После окончания работы надо аккуратно сложить инструменты в ящик или развесить их на щите — каждый на свое место. Перед этим каждый инструмент очищают от пыли и стружек, а металлические части протирают промасленной тряпкой.

Тот, кто содержит свои инструменты в хорошем состоянии, не только экономит средства на их покупку, но и облегчает себе выполнение всевозможных работ.

Успехов вам, уважаемые читатели!


Литература

1. Барадулин В.А. Сельскому учителю о народных промыслах. — М.: Просвещение, 1979.

2. Буриков В.Г., Власов В.Н. Домовая резьба. — М.: Нивы России, 1992.

3. Глинкин М.С. Декоративные работы по дереву. — М.: Лесная промышленность, 1987.

4. Гусарчук Д.М. 300 ответов любителю художественных работ по дереву. — Л.: Лесная промышленность, 1986.

5. Коваленко П.И. Ремонт обуви. — Ростов-на-Дону: Феникс, 2000.

6. Кулебякин Г.И. Столярное дело. — М.: Стройиздат, 1983.

7. Макиенко Н.И. Общий курс слесарного дела. — М.: Высшая школа, 1984.

8. Сахаров М.Д. Инструменты сельского столяра и плотника. — М.: Нивы России, 1993.

9. Семенихин В.П. Изготовление инструментов в школьных мастерских. — М.: Просвещение, 1987.

ПРИРОДА И ТВОРЧЕСТВО

Полезных птиц завлекаем в свой сад

А.В. Язучиев


В № 2 за 1996 год в рубрике «Ждем ответа» Баженов Г. М. из Белгородской области спрашивает о том, как привлечь полезных птиц на садовый участок. Я могу поделиться с ним и читателями журнала своим опытом.

Для того чтобы птицы «приняли приглашение» жить в вашем саду, надо поддержать их в самый тяжелый для них период — зимой, когда холодно и голодно. Особенно от голода страдают синицы. Эти птицы, кстати говоря, самые полезные для сада, так как они съедают вредных насекомых весом больше, чем свой собственный! Выводки у них бывают очень большие (8–9 птенцов). Это не выдумано — я наблюдал это сам. Большой выводок говорит о том, что за прошедшую зиму погибло большое число птиц, и природа старается восполнить потерю.

К привлечению птиц готовиться надо летом. Начинать нужно с кормушек и кормовых домиков. Переделав множество кормушек, я пришел к выводу, что лучше всего сделать 1–2 стационарные кормушки и несколько передвижных кормовых домиков.

Кормушку рекомендуется сделать как следует, основательно и надолго. Из материалов наилучшими будут дерево, фанера с последующей обработкой олифой.

Стационарная кормушка представлена на рис. 1.



Рис. 1


Строить ее надо с «чердака», для чего вырезаем прямоугольный кусок фанеры (8-12 мм толщиной) (рис. 2,а), затем две стойки (рис. 2,б).



Рис. 2


В одной из них делаем леток и отверстие под жердочку. Края летка надо обязательно скруглить напильником и зачистить наждачной бумагой. Жердочку вытачиваем на токарном станке или вручную (L = 200 мм). Из металла жердочку лучше не делать, таккак у металла плохие теплоизоляционные свойства, да и вес большой.

Сборку «чердака» производят с помощью клея ПВА и гвоздей.

Затем приступаем к изготовлению дна и боковин. Дно вырезаем из фанеры толщиной 5–8 мм (рис. 3,а). Два боковых каркаса собирают из реек, имеющих паз 4 мм или выборку для установки стекла (рис. 3,б).



Рис. 3


Передний и задний каркасы собирают из реек 20х20 мм. Переднюю стенку изготавливают из фанеры толщиной 8-12 мм, в ней вырезают 2 летка, а заднюю делают без летков — она глухая. После сборки всех каркасов их надо раза два промазать горячей олифой «Оксоль» (необходимо брать только эту марку олифы!). Греют ее на водяной бане. Для этого берут кастрюлю, наливают холодной воды, на дно кладут тряпку (чтобы бутылки не лопнули) и ставят олифу. Нагревают воду до кипения и оставляют на медленном огне, чтобы олифа была постоянно горячей. Наливают понемногу, так как олифа очень быстро остывает, каждый нанесенный слой сушат сутки-двое, затем наносят следующий.

После того, как олифа впитается и высохнет, каркасы собираются в одно целое. Сверху набивают лист оцинкованного железа толщиной 0,5 мм, а с двух боковых сторон вставляют стекла. Это делают для того, чтобы было видно, кто прилетает, сколько корма осталось, в то же время крупные птицы (сойки, вороны, галки) не смогут разорить кормушку, так как летки позволяют попасть в кормушку только мелким птицам. А именно они приносят большую пользу саду.

Вид у законченной стационарной кормушки такой, как на рис. 4.



Рис. 4


Красить кормушку нет необходимости — любой вид краски отпугивает птиц. Покрытая олифой, кормушка прослужит очень долго.,

Закрепить стационарную кормушку можно несколькими способами. Можно закрутить 2 шурупа под крышей кормушки и подвесить ее на дерево за веревки. А можно ко дну прибить две планки и за эти планки привязать к веткам дерева. Корм засыпается в летки «чердачной» части и нижней. Для синиц хорошим кормом будут семечки и кусочки несоленого сала, для других птиц можно добавлять семена рапса, конопли, репейника, овса, пшеницы и др.

На рис. 5 показан вид сверху стационарной кормушки с рейками крепления.



Рис. 5


После того, как изготовлены стационарные кормушки, приступают к изготовлению кормовых домиков (рис. 6).



Рис. 6


Крышка кормового домика делается съемной для того, чтобы легко было контролировать наличие корма и засыпать новую порцию, а весной чистить и сушить домик. Стенка с отверстием летка должна быть неструганной с внутренней стороны, а если она уже струганная, надо нанести топором зарубки — тогда птицам легко будет из домика выбираться. После изготовления кормовой домик обрабатывают олифой «Оксоль», как и стационарную кормушку. Кормовой домик можно сделать и круглым. Для этого я брал пластмассовую трубу диаметром 100 мм и резал ее на отдельные секции (рис. 7).



Рис. 7


К отдельной секции я изготовлял дно и крышку.

Дно можно сделать несколькими способами.

Можно вырезать из доски толщиной 20–30 мм круг, равный внутреннему диаметру трубы, подогнать его, чтобы дно заходило плотно, а затем зафиксировать его в трубе гвоздями или шурупами.

Можно вырезать из доски той же толщины круг, равный внешнему диаметру трубы, затем на деревообрабатывающем станке с помощью шаблона вырезать круг, равный внутреннему диаметру трубы (рис. 8).



Рис. 8


А можно вырезать из фанеры толщиной 10–12 мм два круга диаметрами, равными наружному диаметру трубы и внутреннему. Затем эти 2 круга соединяют вместе при помощи клея ПВА и шурупов. Крышка и дно имеют одинаковый вид. После изготовления их покрывают олифой «Оксоль». Крышку делают съемной, кормовой домик подвешивают с помощью 2 шурупов, вкрученных в трубу (рис. 9, а).



Рис. 9


Развешивают кормушки и кормовые домики, как только выпадет снег (это самый главный враг для птиц — особенно для синиц, так как под снегом корма не сыщешь!). Располагают кормушки на такой высоте, чтобы удобно было их обслуживать (засыпать корм, чистить от снега). Жилые домики можно развесить ранней осенью. Так как вешать их надо высоко (не ниже 3 м), по холодной погоде это сделать будет проблематично.

Прежде чем приступить к изготовлению жилых домиков для птиц, нужно рассчитать, сколько их необходимо. Если сделать их малое количество, сад будет не полностью защищен от вредителей, а если сделать их много, семейства птиц будут враждовать между собою, деля территорию сада. Чтобы выяснить, сколько и каких домиков необходимо сделать, нужно измерить площадь своего сада. Затем полученную площадь делят на 100 и получают площадь в арах (в сотках, так как 1 ар = 100 м). Например, длина сада — 30 м, а ширина — 20 м, общая площадь — 600 м:100 = 6 соток, или аров. Орнитологи рекомендуют на площади 600 м размещать 1–2 синичника, 1 скворечник и 1 домик для трясогузки.

А теперь о том, что представляют из себя жилые домики для птиц.

1. Синичник-I (рис. 10). Высота развески — 2–5 м.



Рис. 10


В таком домике могут поселиться большая синица, синица-лазоревка, вертишейка, горихвостка, поползень.

Большая синица — очень привередливая птичка, селится в основном в дуплах деревьев, поэтому внутренность синичника лучше всего сделать или круглой или восьмигранной (рис. 11,а).

Для получения восьмигранника брус 50х50 мм разрезают по диагонали (рис. 11,б), полученный треугольный профиль прибивают изнутри к стенкам синичника.



Рис. 11


Получить круг куда сложнее. Для этого берут кусок бревна нужной длины, раскалывают его пополам, а потом выбирают лишнюю древесину (рис. 12).



Рис. 12


В одной из половинок высверливают леток. После того как обе половины готовы, их сбивают. Получается дуплянка. Сверху ее закрывают съемной крышкой; ее можно сделать тоже из куска бревна (рис. 13).



Рис. 13


Кору с готовой дуплянки лучше не счищать, с ней она (дуплянка) будет выглядеть более естественной.

Выточить дуплянку можно и на токарном станке по дереву. Это займет куда меньше времени. Правда, для этого нужны очень длинные резцы для выборки внутреннего диаметра дуплянки. Готовая дуплянка имеет такой вид (рис. 9,б).

2. Синичник-II (рис. 14,а). Высота развески — 3 м и выше.

В таком синичнике могут поселиться синица-московка, гаичка, гренадерка, мухоловка-пеструшка.

3. Скворечник (рис. 14, б). Высота развески — 3 м и выше.



Рис. 14


4. Домик для горихвостки и трясогузки (рис. 14,в). Высота развески — 3 м и выше.

5. Домик для дятла, сизоворонки и галки (рис. 14,г). Высота развески — 3 м и выше.

А можно придерживаться таких размеров (все размеры — внутренние).

1. Для мухоловки-пеструшки и белошейки (рис. 15,а). Высота развески — 3 м и выше.

2. Для большой синицы и лазоревки (рис. 15,б). Высота развески — 2–5 м.

3. Для полевого воробья, горихвостки (рис. 15,в). Высота развески — 3 м и выше.

4. Для скворца (рис. 15,г). Высота развески — 3 м и выше.



Рис. 15


Методов крепления птичьих домиков существует несколько. Вот некоторые из них (рис. 16).



Рис. 16


Домики должны находиться в 15–20 м друг от друга, чтобы птицы могли поделить сад на свои зоны. Леток домика должен быть направлен в сторону, противоположную основному господствующему ветру в данном районе.

Готовые домики лучше всего не окрашивать, а покрыть горячей олифой «Оксоль» 1–2 раза, с промежуточной сушкой.

Хочется еще отметить вот что. Если вы взялись подкармливать птиц зимой, то делать это надо обязательно каждую зиму (как только выпадет снег). Прекращать кормить нельзя, так как птицы до последнего момента будут надеяться на вас и на вашу помощь, и если ее не будет, они могут погибнуть от голода (особенно синицы!). Так что пернатых друзей предавать никак нельзя, как, в общем, и прочих друзей. Птицы в отличие от людей этого никогда не делают, поверьте моим длительным наблюдениям.

Если читатели журнала захотят узнать больше об искусственных гнездовьях, я могу поделиться с ними своим опытом по изготовлению искусственных гнезд для городских ласточек («воронков»), стрижей и др.

ЧТО СТАРЕНЬКОГО?

Багеты, карнизы, рамы

В.В. Попов


Какая картина, какой портрет обойдется без рамы? Или, как очень образно называют ее рамочных дел мастера, одежды? А для одежды изготавливают багет (в прошлом веке его еще называли нежно в женском роде — багета), что в переводе с французского означает «деревянная планка», окрашенная или позолоченная и предназначенная для дальнейшего изготовления рам и карнизов. Багет нередко украшают резьбой, но чаще грунтовкой и лепкой по ней. А уж сверху золотят, серебрят или покрывают поталью, шумихой. Это уже от вкуса, желания, от возможностей.


О дереве и профилированных брусках

Основной материал, идущий на изготовление багета, — это дерево. Обычно для рамочных профилированных брусков (листеля) применяют дерево мягкое — липу. Если она отсутствует, ее заменяют елью или сосною. Независимо от породы древесины к ней предъявляют следующие требования: она должна быть прямоствольной, здоровой, желательно без сучков, хорошо просушенной, обессмоленной. Эти требования диктуются характером самого изделия, так как при их соблюдении картинная рама не будет коробиться. А при покрытии краской, лаком или позолотой уменьшается вероятность появления пятен из-за вдруг проступившей природной смолы.

Для изготовления рамок, карнизов, багета используют профилированные бруски. Их делают либо целиковыми, либо склеенными из отдельных частей (в том случае, когда нужно изготовить рамки или карнизы с глубокой нисходящей кромкой). Бруски получили название профилированные, потому что в сечении у них одна из сторон имеет наклонную прямую или волнистую линию. В профиль эта линия, как правило, бывает восходящей. А раз так, то целесообразно при распиловке брусков сначала отрезать (точнее, отпилить) брусок двойной ширины. Потом его распиливают вдоль по наклонной прямой АБ (рис. 1).



Рис. 1


Таким способом расход древесины будет более экономный. Как водится, бруски шириною до 20–30 мм делают цельными. Более толстые рекомендуется склеивать из нескольких частей. При склейке 2–3 частей в брусок стараются сделать так, чтобы нижняя часть образовывала фальц, а другие более или менее соответствовали профилю бруска. Каждая сторона профилированного бруска имеет свое название (рис. 2).



Рис. 2. Сечение профилированного бруска


Сторона аб называется задней, бв — нижней, вгд — фальцем, де — бочком, еа — профилем. При склеивании брусков из отдельных реек казеиновый клей предпочтительнее столярного, так как последний при повышенной влажности может отсыреть. Рейки перед склеиванием тщательно подгоняют и даже подогревают. Это необходимо для того, чтобы намазанный клей лучше впитался в древесину. Затем рейки зажимают в нескольких местах струбцинами и сушат в течение суток.

Строгание брусков. Подготовленные бруски (цельные или склеенные) обстругивают. Эту операцию производят на специальном верстаке (рис. 3).



Рис. 3. Верстак:

1 — верхняя доска с пазами; 2 — прихватки


На нем укрепляют верхнюю доску, у которой имеются пазы, соответствующие сечению наших брусков. Понятно, что бруски и размещают в пазах, где они держатся крепко, не выгибаясь при строгании (рис. 4).



Рис. 4. Укрепление брусков разного сечения в верхней доске верстака


Узкие бруски менее 20 мм в толщину также нуждаются в фиксации. На верстаке имеются две прихватки, привинчиваемые к верхней доске с помощью деревянных или обычных металлических винтов. Прихватки могут вращаться. Бруски на верстаке строгают частями. Вначале строгают нижнюю сторону, затем под прямым к ней углом — заднюю. Далее строгают бочок специальным рубанком, на подошве которого прикреплены две планки (рис. 5).



Рис. 5. Рубанок с укрепленными на подошве двумя планками


Естественно, планки делают из твердых пород деревьев (дуб, клен, бук и т. п.). Фальц снимают отборником или фальцгобелем. Можно выбрать фальц и шпунтубелем с последующей подчисткой зензубелем или отборником.

Профилирование брусков осуществляют на верстаке (рис. 6), где имеются специальные тиски А, Б, изготовленные из двух деревянных брусков.



Рис. 6. Верстак для строгания профилей у брусков:

А, Б — тиски; В — винт


С помощью четырех винтов В, соединенных общей штангой, эти бруски могут сближаться. Благодаря общему соединению четыре винта В одним поворотом ручки приходят во вращательное движение, зажимая в тисках сфальцованный рамочный брусок (рис. 7).



Рис. 7


По сути дела, в зажимное движение приходит один брусок (Б). Другой (А) наглухо привинчен к верстаку. Для прочности тиски еще обивают жестью. После зажима осуществляют фигурное строгание, то есть брускам придают определенный профиль. Для этого пользуются специальным стругом (рис. 8) — калевочником.



Рис. 8. Струг, или калевочник


Разновидностей у этого инструмента может быть очень много в зависимости от изменения профиля подошвы и ножа. У профильного струга две ручки. При необходимости (когда нужно прострогать слишком широкий и длинный рамочный брусок) за переднюю ручку берутся двое работающих, за заднюю — всегда один. Применение подобного струга позволяет сделать рамочные бруски одинаковыми и по профилю, и по высоте. Профилирование можно осуществить и на обычном верстаке, на котором предварительно надо будет укрепить скобообразную пластину. В этой пластине на расстоянии 30–50 см должны быть отверстия с резьбой. Снизу в эти отверстия ввинчивают конусообразные винты либо шурупы, закрепляя таким образом рамочный брусок с нижней стороны (рис. 9).



Рис. 9. Профилирование бруска на обычном верстаке при помощи скобообразной пластины


Рисунки профилей у рамочных брусков (листеля), как мы уже отмечали, могут быть чрезвычайно разнообразными. Подробнее с ними можно ознакомиться в приложении «Различные профили багета». Но при всем этом они подчиняются художественным, архитектурным закономерностям. В расчет принимается и материал (бывает, что выбранный профиль данному материалу не подходит — работа выйдет невыразительной, некрасивой), и, конечно, учитывают будущую отделку поверхности бруска. На последнее обстоятельство следует особенно обращать внимание. Так, например, при золоченой поверхности глубокие выемки убивают, скрадывают эффект позолоты. Глубокие выемки больше соответствуют темной или матовой окраске рам. Вообще существует негласное правило: при дальнейшей позолоте не следует делать слишком узкие и глубокие поверхности, так как в этом случае золотить почти невозможно. Отдельные участки профильной линии надо стараться так сопоставлять между собой, чтобы на углубления приходились только тупые или закругленные углы. Сравните рисунки профилей А и Б (рис. 10).



Рис. 10


Профиль А выполнен совершенно верно. Но на профиле из позолота будет чище, потому что и углубление меньше, и углы скруглены. Если в дальнейшем багет предполагается грунтовать, то вносят соответствующее изменение в его профиль. А поступают так. Параллельно линии нашего профиля, но ниже, на расстояние будущей грунтовки, проводят еще один профиль. Именно по этому нижнему профилю и следует тогда строгать. Соответствующие изменения вносят и в профиль подошвы струга. На рисунке 11 показано сечение бруска с тремя профильными линиями. Верхняя линия соответствует профилю уже загрунтованного багета, средняя — профилю подошвы струга, а нижняя — профилю необходимого строгания.



Рис. 11


При изготовлении профильных брусков, помимо будущей отделки, учитывают также и характер той картины, для рамки которой листель предназначают. И тут всех рецептов дать невозможно. В конечном счете все зависит от художественного вкуса мастера. Но некоторые общие рекомендации все же дадим. Например, глубокая рама под старую бронзу подходит для художественных портретов. Золотая широкая рама хорошо соотносится с пейзажем. Плоские гладкие рамы под дуб или красное дерево хороши для художественных гравюр. Стиль рамки картины еще очень важно увязать с отделкой мебели в комнате, с цветом стен, с рисунком обоев, с окном, дверью и т. д.

Изогнутые профилированные бруски используют для получения багета соответствующих карнизов, овальных, а также полуовальных картинных рам. Обычно их делают из сосны. Профилированный изогнутый брусок может быть выпуклым или вогнутым целиком или частично. В начале работы рисуют отдельные изогнутые части на доске согласно выбранному рисунку. Затем эти части выпиливают. Далее строгают специальным рубанком, называемым горбачом. Последний используют двух видов: вогнутый или выпуклый в зависимости от того, какую поверхность нужно обработать. Для, получения профиля пользуются стругом, аналогичным уже описанному. Но подошва у него должна быть не прямой, а изогнутом согласно наибольшей кривизне профилируемого бруска. При обработке каждого кривого профиля применяют два струга — правый и левый. То есть профиль строгают в зависимости от направления волокон то слева направо, то справа налево. Естественно, легче обрабатывать, скажем, не весь выгиб целиком, а поделив его на части, каждую в отдельности. При этом струг должен быть как можно короче. Из профилированных брусков делают овальные рамы. Точность и тщательность особенно необходимы при склейке отдельных частей ее. Сфугованные плоскости не должны быть под прямым углом к профилю, иначе на грунтовке рано или поздно появятся трещины. И еще одним правилом руководствуются при склейке. Когда одну часть наклеивают на другую, следят за тем, чтобы волокна у них не совпадали, а перекрещивались.


Соединяем бруски в рамы

Всякая портретная или картинная рамка состоит из четырех брусков, соединенных либо в квадрат, либо в горизонтальный или вертикальный прямоугольник. Наиболее распространенное соединение у рамок с фальцем на ус со вставным сквозным шипом (рис. 12).



Рис. 12. Соединение на ус вставным шипом


Соотношение размеров вставного шипа с размерами соединяемых брусков следующее. Толщина одинарного шипа S1 должна составлять примерно 0,4 толщины рамочного бруска S. А длина l равняется примерно 0,8…1,2 ширины бруска В. Разумеется, толщина и ширина брусков будущей рамки находятся в прямой зависимости от размеров самой рамки, а также портрета, фотографии, картины. Наиболее распространенная толщина брусков под небольшие рамки от 20 до 30 мм. Ширина брусков под небольшие рамки также находится в приблизительных пределах от 20 до 50 мм. Рассмотрим подробнее изготовление рамки с фальцем (рис. 13).



Рис. 13. Скрепление рамки (а, б):

в — сечение бруска; г — приспособление, при помощи которого фиксируют рамку при склейке


Делают ее в следующей последовательности. В подобранных необходимого размера брусках выбирают фальц, если он не выбран уже. Затем размечают и спиливают в стусле углы. Рамку собирают для проверки плотности соединения. При необходимости осуществляют подгонку. Теперь склеивают рамку, сжимая ее при помощи шнура и специального приспособления. После того как клей высохнет, делают пропилы, изготавливают и вклеивают вставные шипы. Дав клею высохнуть, углы рамки застругивают. Готовую рамку ошкуривают и покрывают лаком либо краской и т. п.

При соединении брусков на ус с фальцем в две трети толщины бруска можно обойтись без вставного шипа.

Этот шип формируют на одном из двух брусков. А на другом бруске делают проушину. Последовательность операций такова. Сначала размечают и запиливают проушину. Далее выстругивают фальц в две трети толщины бруска. Потом выдалбливают проушину. Выдалбливать следует сначала с одной стороны до середины толщины бруска, затем с противоположной, чтобы не допустить отщепов. Теперь размечают в другом бруске шип, запиливают его по продольной разметке. Выстругивают фальц. И наконец запиливают шип по поперечной разметке, уже непосредственно формируя сам шип. Далее производят соединение брусков (рис. 14) рамки известным нам способом, проклеивая и скрепляя при помощи шнура и угловых приспособлений.



Рис. 14. Соединение на ус сквозным шипом, бруски сфальцованы на две трети


Соединение фальцованных брусков на ус со вставными шкантами показано на рисунке 15.



Рис. 15. Соединение на ус вставными шкантами


Сами шканты представляют собой вставные шипы цилиндрической формы диаметром от 6 до 20 мм, длиной 25…160 мм. На концах у них имеются фаски, а, на боковой поверхности — пазы, через которые при забивании их в отверстия при проклейке выходит воздух.

Скрепление на ус со сквозным шипом представлено на рисунке 16.



Рис. 16. Соединение на ус сквозным одинарным шипом


И еще расскажем об одном способе соединения рамочных брусков, просто фальцованных, а также профилированных. Скрепление производят при помощи потайного шипа (рис. 17). Из рисунка понятно, как это делается. Последовательность подготовки шипов, проушин, фальца и соединения брусков в рамку примерно та же, о которой речь шла ранее.



Рис. 17. Соединение на ус потайным шипом


Соединение профилированных брусков такое же, как и у непрофилированных, хотя профиль бруска, конечно, наложит свой отпечаток на конфигурацию шипа и проушины. В зависимости от профиля и габаритов брусков умелец сам может выбрать наиболее рациональный способ соединения их в рамку. Чем мощнее рама и составляющие ее бруски, тем крепче и надежнее должно быть соединение. В таких случаях достаточно прочное соединение дают два вставных шипа-шканта, а также скрепление на ус со сквозным шипом, одинарным или двойным. Дополнительно еще крепят рамы с изнанки при помощи металлических планок или уголков (косынок) и шурупов.


ПРИЛОЖЕНИЕ. Различные профили багета







О клее

Казеиновый клей, если не удается его приобрести, можно изготовить самому. Как известно, он состоит из творога и извести. Поэтому берут творог (чем свежее, тем лучше — клей получится прочнее), заворачивают в марлю и помещают его в холодную воду, чтобы избавиться от сыворотки. Можно творог также просто вымешивать в холодной воде. Затем творог тщательно отжимают и помещают в прохладное место. Теперь свежеобожженную известь окунают на несколько секунд в воду, вынимают и дают распасться до получения пушистого порошка (пушонка). Известь должна быть совершенно чистой, без какой-либо примеси песка. Порошок пересыпают в стеклянную банку, которую плотно закрывают крышкой. Итак, для приготовления казеинового клея 1 часть известкового порошка смешивают и растирают с 3 частями творога. Растирают как можно тщательнее и мельче. Это тоже необходимо для получения качественного клея. Далее к смеси порошка и творога добавляют воду и размешивают до киселеобразного или сметанообразного состояния. Этот процесс размешивания сухого казеинового клея в воде многим знаком.

Как известно, казеиновый клей через час-два начинает твердеть. Поэтому его готовят столько, сколько необходимо для склейки деталей.

Для столярных клеев основным сырьем являются кости, хрящи, кожа. В них содержится коллаген — белковое вещество. При нагревании до 80–90 °C коллаген превращается в желатин. Последний, как правило, чистым не бывает. так как содержит в себе прочие белки (кератин, эластин, муцин, хондрин), разные неорганические соли и воду (до 15 %). Продолжительным кипячением (4–5 часов) из кожи и костей выделяют клеящие вещества. Цвет клея — не показатель его качества. Оно скорее зависит от чистоты и вида сырья.

Кожный клей от костного отличается тем, что его водный раствор при добавке квасцов не мутнеет. Он очень упруг, эластичен. Последнее свойство крайне важно при изготовлении меловых грунтов.

Кроличий клей — разновидность кожного. Производят его в виде плиток (чаще квадратных) коричнево-серого цвета. У золотильщиков и столяров, изготавливающих рамы, считается наилучшим при работе с меловыми грунтами под золото.

Костный клей — обычный, столярный клей. Эластичность и клеящая способность ниже, чем у кожного клея. Продают в виде коричневых толстых плиток, либо гранул. Можно его приготовить и самому путем продолжительной варки рогов, костей, отходов кожевенных заводов, боен, сапожных мастерских. Варить лучше на водяной бане или в котле, внутри которого уложена корзина или деревянное решето. Тогда клей не будет пригорать. О готовности клея судят при помощи ареометра. Есть еще один старинный способ. В половину яичной скорлупы наливают сваренный клей. Саму скорлупу опускают на поверхность холодной воды. Если через несколько минут в скорлупе образуется достаточно густой студень, клеи считается сваренным. При самостоятельной варке столярного клея следят за тем, чтобы сырье было чистым, без остатков мездры, частичек крови, мяса, жира и т. п.

Растворимость клея. Как типично коллоидное вещество клей в воде не растворяется, но набухает. При этом он поглощает столько воды, сколько сам минимально весит. При нагреве набухших плиток клея до 35–50 °C он плавится, превращаясь в сиропообразную жидкость. При охлаждении вновь затвердевает. В жидком состоянии при комнатной температуре клей может сохраниться только тогда, когда его сильно разбавят водой (пропорции 1:50). Пользуются клеем обычно так: кладут на 12 часов в воду. Потом набухший клей плавят на водяной бане, доводя до кипения. По своим свойствам клей относится к обратимым коллоидам, то есть его после затвердевания вновь можно растворить в воде. Однако отдельные вещества способны придать ему характер необратимого коллоида, например квасцы, формалин и таннин; Квасцы добавляют в количестве от 0,2 до 0,35 веса сухого клея. Более эффективны хромовые квасцы (окрашивают клей в желтый цвет). Под действием формалина клей превращается в водостойкое вещество — форможелатин (разрушить можно только при длительном кипячении в воде или 15 %-ной соляной кислотой).

Очистка клея. В промышленности клей отбеливают хлорной известью или серной кислотой. В результате он обычно содержит остатки этих веществ. Если вода, куда мы положили клей для набухания, окрашивается в коричневый или зеленоватый цвет, значит, в клее находятся растворимые соли. Тогда воду несколько раз меняют, пока она не будет чистой. Наличие кислоты в воде устанавливают при помощи синей лакмусовой бумажки. Если она покраснеет, клей нейтрализуют нашатырным спиртом. Последний добавляют по каплям, пока лакмусовая бумажка вновь не посинеет.

Упругость клея. При изготовлении грунтовок на упругость клея обращают первостепенное внимание. Неприемлем для грунтовок казеиновый клей, гумиарабик. Подойдет не всякий сорт и кожного клея. Выбирают наиболее качественный, так как пересохший на солнце или при повышенной температуре клей может послужить причиной, ускоряющей разрушение грунтовки. Чтобы увеличить упругость клея, сопротивляемость на изгиб, в него добавляют немного гигроскопических веществ — мед, глицерин, патоку, леденцовый сахар.

Прочность клея. В сухом месте клей бывает очень прочным. Не разрушается столетиями и древесина, пропитанная им. По истечении долгого времени клей стареет, меньше набухает в воде, становится нерастворимым. Клей относится к наиболее прочным органическим веществам. Смешанный с мелом или с необожженным гипсом клей дает такие грунты, которые сохраняются тысячелетиями. Клей непрочен во влажной среде, в которой под действием микроорганизмов разлагается. Для того чтобы увеличить его сопротивляемость влажной среде, в клей добавляют квасцы, карболовую или борную кислоту (от 10 до 30 % от веса сухого клея).


Сусальное золото, серебро, поталь, шумиха

Сусальное золото — это тончайшие листки металла, получаемые путем ковки. Толщина их бывает различной. Наиболее тонкие просвечивают на свет. Лучи, преломляемые в них, приобретают зеленоватый оттенок. Известен еще так называемый двойник (выбивают из золота и серебра), который менее прозрачен.

Изготовлением сусального золота издавна славилась Москва и ее окрестности. Изготавливают его следующим образом. Небольшие по весу и размерам брусочки золота пропускают через два вращающихся стальных валика. Получают золото в форме ленты. Эти ленты навивают на деревянные дощечки и проковывают на наковальне. Затем сворачивают в трубочки. Далее трубочки прожигают на углях, развертывают, раскатывают в пластинки. Вес каждой — около 8,5 г, приблизительный размер 6x12 см. Такое вальцованное золото получило название жеребьевого. Именно оно служит материалом для получения различных сортов сусального золота. Например, для получения полузолотникового золота (вес книжки 0,5 золотника, или 2,133 г) берут 5,5 жеребьев, то есть 42…44,5 г. При весе 5,5 пластинок золота 42 г все их разрезают на 30 равных частей. При весе 44,5 г того же количества пластинок (5,5) — на 32 части. Затем полученные листки золота проковывают между пленками. Последние выделывают из кожицы или плевы, снимаемой с печени забитого скота (в основном бычьей). Эту кожицу промывают в воде, вымачивают в щелоке, квасят в так называемых квасцах или киселях, приготавливаемых из овсяной и крупчатой муки, воды и дрожжей. Квасят не одну кожицу, а сразу 3–4 тысячи штук в бочке, размещаемой в теплом месте. Квасят в течение полугода (с ноября по май). После такой обработки кожица бычьей печени становится эластичной, нежной, тянучей, просвечивающейся. Кожицы, вынутые из бочки, промывают в воде, кладут на специальные деревянные лотки, прочищают с лица и изнанки. После этого их растягивают на лотках и сушат на открытом воздухе. Из высушенных кожиц или пленок собирают подводки и снасти. Подводок представляет собой пачку пленок невысокого качества. Сюда же попадают и обрезки пленки и просто брак. Первый, или малый, подводок состоит из 260 листков пленок размером 9 см в длину и 6 см в ширину. Второй, или большой, подводок также состоит из 260 листков, но размером побольше: 12x8 см. Назначение малого и большого подводков — первоначальная, подготовительная проковка золотых листков. Для дальнейшей обработки применяют снасти. Это те же пленки, но лучше по качеству и крупнее по размеру (каждая пленка 14 см в длину и 11 см в ширину). Снасти, перед тем как сложить в пачки, натирают с лицевой стороны охрой с красным подкрасом или алебастром с белым подкрасом. При использовании снасти ее листки располагают так, чтобы два из них были обращены друг к другу лицевой стороной. Так же поступают, впрочем, и с подводками. Для каждой снасти и подводка сусальщик вырезает так называемые «застенки», то есть два листка животного пергамента или тонкой кожи, соответствующих по размеру для сумки. В нее вкладывают пачку пленок, закрывают специальными клапанами и разбивают плоским молотком, сначала без золота. Золотые листки (32 шт.) перед ковкой протирают сукном, чтобы не осталось жирных пятен от рук. Затем размещают в малый подводок между лицевыми сторонами пленок. Этот подводок прикрывают пергаментными «застенками», закрывают сумку и расколачивают понемногу плоским молотком на шлифовальном или гранитном камне, вделанном в отрубок дерева. Ковку продолжают обычно в течение 3 часов до тех пор, пока пластинки золота не станут разбиты по всей величине подводка. Теперь золотые листки вынимают, сортируют, разрезают пополам, получая 64 листка, последние опять размещают в малый подводок и в пергаментные «застенки» сумки и проколачивают плоским молотком в течение 2 часов. Расплющенные 64 золотые листка опять, вынув, разрезают пополам, удваивая таким образом их число. 128 золотых листков проковывают в большом подводке сначала плоским, а затем острым концом молотка. Вынутые из большого подводка листки также разрезают пополам. Эти 256 листков размещают в две круглые снасти, разбивают одним острым концом молотка. Затем подобную операцию проделывают еще два раза, исправляя попутно появившиеся в листках дырочки и свищи. Перед разбивкой снасть размещают в особо устроенном забое. Он представляет собой березовый брус, квадратный в сечении, длиной 100–110 см. В этом брусе по длине выдалбливают желоб, куда и вкладывают снасти. Сумки со снастями размещают в забое последовательно друг с другом, перекладывая дощечками. По выходе из последней снасти золотые листки (их число достигает 1024 шт.) сортируют на верстаке, обрезают по мерке и размещают в приготовленные книжки из неклеенной тонкой бумаги. Обычно в каждую книжицу кладут 60 листков сусального золота. Таким же способом выделывают и серебро, и другие сорта сусального золота. Самое плотное и тяжелое из них — трехчетвертное. Напомним, что название соответствующего сорта сусального золота связано с определенной долей старинной меры веса — золотника (4,266 г). Итак, вес трехчетвертного золота составляет 3,1 г. Для его выбивки обычно берут 60,5 г жеребьевого золота, которое делят на 30 частей. Получают 16 книжечек по 60 листов в каждой. Общее количество листов — 960. Общий вес — 48–50 г. В обрезки идет 8,5—10,5 г золота.

Девятизолотниковое золото получают из 38 г жеребьевого. Общий вес 16 книжечек без обрезок — 30 г. Для получения восьмизолотникового золота берут 34 г жеребьевого. Соответственно для семизолотникового нужно 7 золотников, или 30 г жеребьевого золота. Для шестизолотникового — 25,5 г. О получении полузолотникового сусального золота речь уже шла выше.

Кроме перечисленных сортов изготавливают поддельное сусальное золото — поталь и шумиху. Для их получения берут 11 частей меди и 2 части цинка или 12 частей меди и 3 части цинка. Поталь, к примеру, выбивают столь чистой, мягкой и тонкой, столь похожей по цвету на сусальное золото, что от последнего бывает трудно отличить, особенно когда сверху еще покрывают бесцветным лаком.


Грунтовка багетов и лепка

Мы придали нашему багетному бруску соответствующий профиль. Но приступать к золочению еще рано. Багет нужно покрыть грунтовкой, затем лепкой, если таковая запланирована. Само золочение осуществляют либо по масляному лаку, либо по полименту.

Грунт, или левкас, приготавливают следующим образом. Столярный клей (лучше кожный) заливают водой на 12 часов. После того как он набухнет, его варят на водяной бане в течение 6–8 часов. Соотношение сухого клея и воды 1:5. То есть, скажем, на 1 кг сухого клея берут 5 кг воды. Затем в разварившийся клей небольшими порциями всыпают мел в виде порошка. В нашем случае количество мела должно быть 7–7,5 кг. Всё тщательно размешивают с тем, чтобы получить пепельно-серую жидкую краску, которую и называют левкасом, или грунтовкой. Вместо мела используют еще и фарфоровую глину — каолин.

При грунтовании багетов, карнизов и прочих профилированных брусков применяют железные шаблоны толщиной в 2 см, профилированные в соответствии с профилем листеля. Понятно, что профиль железного шаблона несколько больше, чем профиль бруска. Если этого не будет, то шаблон не сможет выравнивать грунт, он станет скрести дерево. Шаблону придают фиксированное положение. Под ним пропускают брусок с наложенным грунтом, который он и выравнивает. В багетных мастерских грунтуют аналогичным способом на специальном станке. Когда грунтовка высохнет, на нее накладывают (или приклеивают) лепку, заранее приготовленную из замазки в специальной форме или на машине при помощи роликов. Замазка напоминает ту, которую используют для вставки стекол в оконные рамы. Для ее приготовления применяют клей, воду, гарпиус (сосновую смолу), льняное масло (олифу) и мел в следующих весовых частях:

мел — 100 4., клей — 16 ч., вода — 80 ч., гарпиус — 164., льняное масло — 8 ч.

Для отделки рисунка используют особые стальные инструменты с лезвиями различной формы. Для прочистки желобков загрунтованных рам, карнизов пользуются так называемыми дорожниками. Их делают толще обычных расчисток. Если в грунтовке встречаются ненужные неровности, их убирают шлифовкой. Для этого применяют пемзу или песчаник, наждачную шкурку, а также хвощ.


Золочение

Распространены два способа золочения: 1) по масляному грунту (после этого золото нельзя полировать); 2) по полименту (в этом случае золото полируют при помощи агата).

Золочение по масляному грунту. Грунтом в данном случае может служить вареное масло (олифа) или жирный масляный лак (микстион). Масляный лак наносят кистью тонким слоем на любой материал (металл, дерево, камень, гранит и т. д.). В нашем случае — на деревянную раму. Затем ему дают просохнуть, но не до конца. К золочению приступают, когда лак досыхает и дает слабый отлип. Тонкие листки золота переносят из книжечек на кожаную подушечку специальным золотарным ножом (рис. 18), который изготавливают из тонкой гибкой стали.



Рис. 18


Его лезвие обычно бывает длиною 16–18 см, шириною 2–2,5 см, на конце округлено. Сама подушечка (рис. 19) для золочения представляет собой дощечку (16x22 см) небольшой толщины (10 см), с одного конца которой сделаны ширмочки.



Рис. 19


На дощечку кладут двойной слой фланели, а поверх нее кусочек кожи. Все это прикрепляют к дощечке гвоздиками. На подушечке золото разрезают на листочки нужной формы и размера. С помощью специальной волосяной кисти золото переносят на лаковую поверхность и очень слабо прижимают той же мягкой кистью или фланелью. Окончив золочение, всю поверхность на несколько дней оставляют сохнуть. Потом кистью остатки золота удаляют.

Как мы уже говорили, позолоту, нанесенную на масляный грунт, полировать нельзя. Блеск золота полностью зависит от гладкости грунта. Поэтому приготовление последнего — важнейшая операция при золочении. Если поверхность грубая, ее перед покрытием масляным лаком выравнивают шлифовкой. Деревянную поверхность, как в нашем случае, выравнивают, нанося слой мела, смешанного с клеем. Золочение по масляному грунту целесообразно применять главным образом тогда, когда рама или какой-либо другой предмет подвергается атмосферному воздействию.

Второй способ — золочение по полименту. Он более трудоемкий, зато позолота получается красивее, так как золото можно полировать до сильного блеска. Этот способ золочения применим только на тех материалах (дерево, пергамент), на которые можно нанести меловой клеевой грунт либо тонкую известковую или гипсовую штукатурку, а уже сверху тонкий слой полимента. Состав мелового клеевого грунта: 2 ч. мела + 1 ч. раствора кожного клея (соотношение сухого клея и воды 5:100). Достаточно толстый и тщательно отшлифованный меловой грунт покрывают пленкой клеевого раствора (соотношение с водой 7:100) и после высыхания последнего наносят полимент. Он представляет собой отмученную красную глину (красный армянский болюс), в которую при кипячении с водою добавляют смесь небольшого количества (0,04 от общего веса) в равных долях воска и марсельского мыла (это мыло готовят на основе оливкового или хлопкового масла). Бывает и готовый полимент в виде палочек или призм. Его измельчают и растирают либо с яичным белком (очень старый способ: на 0,5 кг полиментной глины берут белок от 15–25 яиц) или с раствором клея (соотношение с водою 10:100).

Полимент можно приготовить также из обычной жирной глины. Предварительно ее замачивают в воде на месяц. Чем дольше она будет находиться там, тем лучше. Органические вещества в глине за это время разложатся и сгниют. Для очистки глины от песка и других крупных частиц ее подвергают отмучиванию. Чем чище глина, тем лучше получится полимент. Кроме мыла, к глине прибавляют еще жир и воск. Один из старых рецептов полимента:

глина — 1225 г, марсельское мыло — 42 г, свиное сало (несоленое) — 19 г, белый пчелиный воск — 26 г, спермацет — 13 г.

Все эти вещества, за исключением глины, нагревают с водою до полного растворения. Затем размешивают с глиняным тестом, продолжая нагревать и стремясь получить густую сметанообразную массу.

Другой рецепт приготовления полимента из болюса. Глину обливают водой. Она должна рассыпаться. Рассыпавшийся болюс растирают на камне. Затем эту массу величиной с орех подсушивают на стекле (вообще, следует заметить,что при изготовлении полимента удобно пользоваться стеклянной посудой). Подсушенные комочки болюса размешают в сосуде со спиртом до получения густой кашицы. Последнюю поджигают, помешивая. После выгорания спирта оставшийся болюс смешивают с тонкотертым графитом. На 500 г болюса берут 20 г графита. Далее сбивают белки от 10–12 яиц. С белком смешивают столько болюса, сколько необходимо для получения смеси, похожей на мазь. Теперь добавляют 24 г желтого воска и 2,5 г марсельского мыла при легком нагревании.

Готовый полимент наносят волосяной кистью раза четыре. Один раз вдоль.

После высыхания второй раз — поперек. Когда полиментный слой подсохнет, его полируют фланелевой тряпочкой. Теперь приступают к золочению. Приготавливают смесь из 2 частей воды и 1,5 части этилового спирта.

Этой смесью равномерно, без нажима смазывают полиментный слой. Золотые листки кладут непосредственно на смоченную поверхность. Золотят так же, как и при первом способе. Полировать агатом начинают до того, как грунт подсохнет полностью. Для полировки золота, серебра, потали применяют специальные инструменты — лощила (рис. 20).



Рис. 20


На рисунке мы видим два вида лощил: одно конусообразное, два других крючковидные. Они устроены следующим образом. На деревянную ручку А насажен наконечник Б длиной 4–5 см. В этот наконечник вклеивают агатовый зубок В. С помощью лощил полируют очень короткими движениями при определенном нажиме. Если полимент был приготовлен правильно, золото слегка уплотнится, приобретая сильный блеск. В заключение заметим, что золочение по полименту очень стойко, сохраняется долгое время.

СЕКРЕТЫ МАРЬИ-ИСКУСНИЦЫ

Полсотни «ленивых» узоров для вязания

Н.П. Коноплева


Лучшее украшение вязаной одежды — орнаменты в народном стиле, вывязанные из пряжи разных цветов. Яркие и многоцветные — для детской одежды; изящные в двух-трехцветовой гамме — для женских нарядов; строгие и сдержанные — для мужских свитеров, — они всегда в моде.

Найти подходящий орнамент в книжке по рукоделию или даже придумать его самостоятельно не так уж трудно. Годятся, например, узоры для вышивки крестом.

Но вывязывать такой узор из разноцветной пряжи удается далеко не всякой вязальщице. Тут нужен не только большой опыт и хороший глазомер, но и неиссякаемое терпение и напряженное внимание. А работа идет так медленно, что в другой раз не захочется браться за эту трудоемкую вязку.

Ведь, если, например, вы захотите вывязать трехцветный орнамент, то вязать придется одновременно от трех клубков. На протяжении каждого ряда приходится много раз сменять нити по рисунку. Если нет опыта, клубки катаются, нитки путаются. Не участвующие в работе нити проходят по изнанке и стягивают вязание. На тех участках, где вертикальная граница двух цветов составляет больше двух рядов, необходимо перекрещивать нити, чтобы нитка нового цвета прижимала ту, которой кончили сейчас вязать. Иначе в этих местах образуются вертикальные прорехи.

Работа идет медленно, а качество оставляет желать лучшего.

Но известно несколько узоров, которые вязать очень легко. Они остроумно придуманы: каждые два ряда провязываются от одного клубка, а узор получается за счет снятых в определенном порядке и вытянутых петель предыдущего ряда — они другого цвета. Нет ни путающихся клубков, ни прорех, ни стянутого по изнанке вязания. Вот почему эти узоры очень популярны, многие вязальщицы стараются пользоваться ими. Однако таких «ленивых» орнаментов известно немного, и они давно примелькались. То и дело видишь их на вязаных шапочках, свитерах, варежках.

Придумывать новые «ленивые» узоры не так-то просто. Дело в том, что они подчиняются определенным закономерностям. Поэтому, нарисовав какой-нибудь вариант на клетчатой бумаге, надо тщательно проверить его на выполнение всех этих закономерностей. Работа скучная, кропотливая и не всегда кончается успехом.

И вот был найден способ придумывать такие «ленивые» узоры по всем правилам. Что за правила — мой секрет, но вот эти узоры перед вами. Можно их вязать вручную, можно и на машине. Ведь если при вязании обычного двухцветного орнамента каждый ряд требует двух проходов каретки, то по-«ленивому» достаточно одного.


Как пользоваться описаниями и схемами

Ко всем «ленивым» узорам здесь даны подробные описания. Каждая петля, каждый ряд, составляющие орнамент, перечислены в строгом порядке. Поскольку предлагаемые узоры периодичны, то через определенное число петель и рядов все действия нужно повторить. Такой период орнамента называется «раппорт». Разумеется, нет смысла повторять описание каждого ряда с начала до конца. Договоримся, что повторяющиеся петли в тексте будут заключены между звездочками (*).

Нет надобности повторять и описания одинаковых рядов. Просто, провязав указанное в тексте число рядов, возвращайтесь к первому ряду и повторяйте все операции.

Для вязания узорчатой каймы перечень рядов в описании дается полностью.

Обратите внимание, что в текстах перечислены только нечетные ряды. Дело в том, что четные, то есть изнаночные, во всех узорах этого типа вяжутся по одному принципу:

ПЕТЛИ, ПРОВЯЗАННЫЕ НАЛИЦО В ПРЕДЫДУЩЕМ НЕЧЕТНОМ РЯДУ, ВЯЖИТЕ В ЧЕТНОМ РЯДУ ТЕМ ЖЕ ЦВЕТОМ ИЗНАНОЧНЫМИ. СНЯТЫЕ U ПРЕДЫДУЩЕМ РЯДУ ПЕТЛИ СНОВА СНИМАЙТЕ НЕ ПРОВЯЗЫВАЯ, ПРИЧЕМ РАБОЧАЯ НИТЬ ДОЛЖНА ИДТИ ПОВЕРХ ЭТИХ ПЕТЕЛЬ.

Если четный ряд был полностью провязан лицевыми петлями, значит, следующий — нечетный — вяжется целиком изнаночными.

Обратите внимание, что каждый нечетный ряд должен вязаться нитью другого цвета, чем предыдущий четный. А чтобы не запутаться в названиях цветов, которые у вас могут оказаться совсем другими, давайте договоримся: самый темный цвет, участвующий в орнаменте, мы будем всегда называть цветом А следующий по насыщенности — В, более светлый — С.

И пусть начинающих вязальщиц не смущают длинные перечни рядов в описаниях. Если раппорт понравившегося вам узора кажется очень длинным, это не значит, что вязание сложное. Все наши орнаменты одинаково просты. Смело беритесь за любой из них — и через несколько рядов уловите закономерность, по которой строится узор. Дальше можно вязать, не заглядывая в описание. Оно дано полностью лишь для того, чтобы время от времени сверяться, если понадобится.

Цвета нитей на схемах чаще всего не показаны, ведь они могут быть у вас совсем другими, чем на наших образцах. Следите только, чтобы нить сменялась по цвету каждые два ряда. В случае сомнений в чередовании цветов загляните в словесное описание.

Изображения узоров даны условно. Не пытайтесь вывязать их, глядя только на рисунки. Из-за участия вытянутых петель их число в рядах может оказаться другим. Руководствуйтесь подробными словесными описаниями.

УЗОР 1. «Норвежский». Он назван так, потому что выполнен в стиле традиционных народных узоров для вязания, распространенных в странах Скандинавии. Обратите внимание, что эта многоцветная орнаментальная полоса позволяет сделать красивый переход от темного фона вязания к светлому, или наоборот. Так, низ свитера может быть связан васильковой пряжей, а кокетка, отделенная орнаментом, — светло-голубой. Вот как вяжется такой узор.

1-й ряд (синяя нить, цвет А): все петли лицевые.

3-й ряд (голубая нить, цвет В): 1 лицевая, 1 снять

5-й ряд (цвет А): 1 снять, 3 лицевые

7-й ряд (цвет В): * 2 лицевые, 1 снял. *

9-й ряд (белая нить, цвет С): * 1 лицевая, 1 снять *

11-й ряд (цвет В): * 1 снять, 3 лицевые *

13-й ряд (цвет С): 2 лицевые, 1 снять, * 3 лицевые, 1 снять *

15-й ряд (цвет А): * 1 лицевая, 1 снять *

И так далее…

Как вязать четные ряды, мы с вами договорились. Если в предыдущем нечетном ряду нет снятых петель (как, например, в 1-м), то следующий четный вяжется просто изнаночными.




УЗОР 2. «Сороконожка». Этот некрупный узор хорош для детских вещей, а также для жилетов, шарфов, лыжных шапок и варежек. Он очень просто вяжется. Для образца наберите на спицу петли темной нитью (цвет А), а вязать начинайте светлой нитью (В).

1-й ряд (цвет В): * 1 петлю снять, 3 лицевые *

3-й ряд (цвет А): 2 лицевые,* 1 петлю снять, 3 лицевые *.

Повторяйте ряды с 1-го по 4-й (как вяжутся четные, мы договорились вначале).



Несмотря на внешнюю простоту, «сороконожка» может иметь много вариантов, если использовать не два, а больше цветов нитей и по-разному их чередовать.


УЗОР 3. Связан по описанию «сороконожки», но добавление третьего цвета заметно оживляет его. На нашем образце он составлен из темно-коричневого, бежевого и белого. У вас, возможно, будут совсем другие цвета пряжи. В нашем примере А — коричневый, В — бежевый, С — белый. Вяжите по-описанию узора 2, но цвета чередуйте так:

1-й и 2-й ряды — В

3-й и 4-й ряды — А

5-й и 6-й ряды — С

7-й и 8-й ряды — А и т. д.



УЗОР 4. Это та же «сороконожка», связанная по схеме узора 2, хотя в это трудно поверить. Так влияет на вид узора порядок чередования цветов. Здесь он такой:

1—2-й ряды — цвет А

3—4-й ряды — цвет В

5—6-й ряды — цвет С

7—8-й ряды — цвет А



УЗОР 5. «Диагональ». Это модный элегантный узор для мужской и женской одежды. Чтобы вывязать цветные диагональные полосы обычным способом, приходится вязать изделие, начиная от угла и постепенно прибавляя петли с двух сторон. Для получения нужной формы, даже самой просто прямоугольной, требуются сложные расчеты числа петель.

Наш способ позволяет легко вязать асимметричные модели с диагональным узором, не задумываясь над числом петель в ряду. Цветные чуть извилистые линии будут тянуться по диагонали, хотя вязать вы будете привычным вам способом по горизонтали. Очень хорош такой узор для вязаной юбки строгого покроя.

Для вязания образца наберите на спицу петли темной пряжи (цвет А). Теперь присоедините светлую нить (В) и начинайте вязать.

1-й ряд (цвет В): * 3 лицевые, 1 снять*

3-й ряд (цвет А): 2 лицевые,* 1 снять, 3 лицевые *

5-й ряд (цвет В): 1 лицевая, * 1 снять, 3 лицевые *

7-й ряд (цвет А): * 1 снять, 3 лицевые*

Как вяжутся лицевые ряды, мы уже договорились вначале.

Если вам понадобится вывязать такой узор с наклоном диагоналей в другую сторону (например, для симметричных деталей — полочек для жакета или клиньев юбки), то следуйте нашему описанию «задом наперед», то есть 1-й яд вяжите как 7-й, 3-й — как 5-й, 5-й — как 3-й, а 7-й — как 1-й.



УЗОР 6. «Перистые облака». Этот узор вяжется по той же схеме, что и узор 1, только в вязании участвуют всего два цвета: цвет фона (А) и цвет орнамента (В).

1-й, 5-й, 7-й, 11-й, 15-й ряды вяжутся цветом А

остальные — цветом В.



УЗОР 7. «Зигзаги». Это популярный орнамент для современной модной одежды. Особенно эффектен он в контрастных цветах: черный и белый, коричневый и бежевый.

Наберите на спицы нужное число петель цветом А

1-й ряд (цвет В): * 1 снять, 2 лицевые *

3-й ряд (цвет А): * 1 лицевая, 1 снять, 3 лицевые, 1 снять *

5-й ряд (цвет В): 2 лицевые,* 1 снять, 1 лицевая, 1 снять. 3 лицевые *

7-й ряд (цвет А): * 1 снять, 2 лицевые*

9-й ряд (цвет В): * 1 лицевая, 1 снять, 3 лицевые, 1 снять *

11-й ряд (цвет А): 2 лицевые, *1 снять, 1 лицевая, 1 снять, 3 лицевые* Четные ряды вяжите, как условились раньше.



УЗОР 8. «Цепочка». Этот очень простой в исполнении узор хорош для отделки вязаных вещей из толстой пряжи. Достаточно проложить по низу изделия одну-две такие цветные каймы, и однотонная одежда сразу станет наряднее.

Для вязания каймы на фоне цвета А сначала провяжите 2 ряда цветом В. Они отделят кайму от основного фона. Затем провяжите 4 ряда цветом А и начинайте вывязывать цветом В «цепочку».

1-й ряд (цвет В): * 5 лицевых, 1 снять *

3-й ряд (цвет А): * 1 снять, 3 лицевые, 1 снять, 1 лицевая *

5-й ряд (цвет В): 2 лицевые,* 1 снять, 5 лицевых *

7-й ряд (цвет А): * 1 снять, 3 лицевые, 1 снять, 1 лицевая *

9-й ряд (цвет В): * 5 лицевых, 1 снять *

«Цепочка» готова. Отделите ее четырьмя рядами цвета А и двумя рядами цвета В. Нарядная кайма завершена.

Повторяя раппорт непрерывно, вы можете получить симпатичный сплошной узор. Провязывайте ряды с 1-го по 10-й (10-й и все четные ряды вяжите, как сказано в начальном разделе), а потом делайте 2 или 4 ряда цветом А (фона) и снова повторяйте 1—10-й ряды.



УЗОР 9. «Волны». Приятный спокойный рисунок для любой одежды, в том числе и детской. Хорошо будет смотреться на вязаной шапке, шарфе, варежках. Он вяжется очень легко.

1-й ряд (цвет А): 2 лицевые, * 1 снять, 1 лицевая, 1 снять, 3 лицевые *

3-й ряд (цвет В): 3 лицевые, * 1 снять, 5 лицевых *

5-й ряд (цвет А): * 1 снять, 5 лицевых*

7-й ряд (цвет В): * 1 лицевая, 1 снять, 3 лицевые, 1 снять *

Раппорт состоит из 8 рядов, где четные вяжутся по правилу, оговоренному в начальном разделе.

Если каждые 8 рядов менять один из цветов пряжи или оба сразу, можно получить нарядные пестрые узоры для детской одежды.



УЗОР 10. «Волна на песке». Не правда ли, похоже, как морская волна разливается по песчаному пляжу? А если выполнить этот узор в желто-коричневых тонах, это напомнит рябь песчаных дюн.

Такие мелкие узоры без четкой периодичности сейчас очень популярны в модной современной одежде.

1-й ряд (цвет А): * 1 снять, 3 лицевые *

3-й ряд (цвет В): 3 лицевые,* 1 снять, 5 лицевых *

5-й ряд (цвет А): 2 лицевые,* 1 снять, 3 лицевые *

7-й ряд (цвет В): 1 лицевая, * 1 снять, 5 лицевых *

Как вязать четные ряды, мы уже договорились вначале.



УЗОР 11. «Журавлики». Вяжется просто, хорош для любых изделий.

Наберите на спицу число петель, кратное 6, цветом А. Присоедините нить цвета В и начинайте вывязывать цветной узор.

1-й ряд (цвет В): * 3 лицевые, 1 снять, 1 лицевая, 1 снять *

3-й ряд (цвет А): 1 лицевая, * 1 снять, 5 лицевых *

5-й ряд (цвет В): * 3 лицевые, 1 снять, 1 лицевая, 1 снять *

7-й ряд (цвет А): 4 лицевые, * 1 снять, 5 лицевых *

9-й ряд (цвет В): 1 лицевая, * 1 снять, 5 лицевых *

11-й ряд (цвет А): 4 лицевые, *1 снять, 5 лицевых *

Повторяйте 12 рядов, вывязывая четные, как сказано в начальном разделе.



УЗОР 12. «Лабиринт». Рисунок подходит для модных жакетов и свитеров, а также для мужских жилетов.

1-й ряд (цвет В): * 3 лицевые, 1 снять *

3-й ряд (цвет А): * 1 снять, 1 лицевая, 1 снять, 5 лицевых *

5-й ряд (цвет В): 1 лицевая, * 1 снять, 4 лицевые, 1 снять, 2 лицевые *

7-й ряд (цвет А): * 1 снять, 7 лицевых*

9-й ряд (цвет В): * 7 лицевых, 1 снять*

11-й ряд (цвет А): 6 лицевых, * 1 снять, 7 лицевых *

13-й ряд (цвет В): * 1 снять, 4 лицевые, 1 снять, 2 лицевые *

15-й ряд (цвет А): 4 лицевые, * 1 снять, 1 лицевая, 1 снять, 5 лицевых *

16-й ряд, как и все черные ряды, вяжется по правилу, данному вначале.



УЗОР 13. «Окошки». Узор подходит для вязания детских вещей из толстой мягкой пряжи.

1-й ряд (цвет В): * 3 лицевые, 1 снять, 1 лицевая, 1 снять, 1 лицевая, 1 снять *

3-й ряд (цвет А): 4 лицевые, 1 снять, 1 лицевая, 1 снять, 5 лицевых *

5-й ряд (цвет В): * 3 лицевые, 1 снять, 1 лицевая, 1 снять, 1 лицевая, 1 снять *

7-й ряд (цвет А): все лицевые

9-й ряд (цвет В): * 1 лицевая, 1 снять, 3 лицевые, 1 снять *

11-й ряд (цвет А): 1 снять, 1 лицевая, 1 снять, 5 лицевых *

13-й ряд (цвет В): * 1 лицевая, 1 снять, 1 лицевая, 1 снять, 3 лицевые, 1 снять

15-й ряд (цвет А): все лицевые.

Раппорт узора включает 16 рядов. Четные ряды вяжутся, как договорились вначале.



УЗОР 14. «Мелкая клеточка». Подходит для шарфов, спортивной одежды. Может неплохо получиться жилет.

1-й ряд (цвет А): * 3 лицевые, 1 снять, 1 лицевая, 1 снять, 1 лицевая, 1 снять *

3-й ряд (цвет В): все лицевые

5-й ряд (цвет А): * 3 лицевые, 1 снять, 1 лицевая, 1 снять, 1 лицевая, 1 снять *

7-й ряд (цвет В): все лицевые

9-й ряд (цвет А): * 1 лицевая, 1 снять *

11-и ряд (цвет В): 4 лицевые, * 1 снять, 1 лицевая, 1 снять, 5 лицевых *

13-й ряд (цвет А): * 1 лицевая, 1 снять *

15-й ряд (цвет В): все лицевые.

Последний, 16-й ряд раппорта вяжется сплошь изнаночными петлями. Четные ряды вяжутся по правилу, установленному вначале.



УЗОР 15. «Гортензия». В ее соцветиях четырехлепестковые цветки расположены так же плотно. Рисунок особенно хорош для вязаных шапок, шарфов, жакетов.

1-й ряд (цвет А): * 1 снять, 3 лицевые *

3-й ряд (цвет В): * 5 лицевых, 1 снять *

5-й ряд (цвет А): * 1 снять, 3 лицевые *

7-й ряд (цвет В): 1 лицевая, * 1 снять, 1 лицевая, 1 снять, 3 лицевые *

9-й ряд (цвет А): 2 лицевые, *1 снять, 3 лицевые *

11-й ряд (цвет В): * 5 лицевых, 1 снять *

13-й ряд (цвет А): 2 лицевые, *1 снять, 3 лицевые *

15-й ряд (цвет В): 1 лицевая, *1 снять, 1 лицевая, 1 снять, 3 лицевые *

Повторяйте 16 рядов, вывязывая четные по общему правилу.



УЗОР 16. «Женя». Отделочная кайма для детской одежды. Ее элементы — стилизованное изображение начальной буквы имени. А, может быть, это просто жужжат жуки: ж-ж-ж…

Провяжите несколько рядов фона (А).

1-й ряд (цвет В): * 2 лицевые, 1 снять, 1 лицевая, 1 снять, 2 лицевые, 1 снять *

3-й ряд (цвет А): 1 лицевая, * 1 снять, 1 лицевая, 1 снять, 1 лицевая, 1 снять, 3 лицевые *

5-й ряд (цвет В): * 1 снять, 5 лицевых. 1 снять, 1 лицевая *

7-й ряд (цвет А): * 2 лицевые, 1 снять, 1 лицевая, 1 снять, 2 лицевые, 1 снять *

9-й ряд (цвет В): * 1 снять, 5 лицевых, 1 снять, 1 лицевая *

11-й ряд (цвет А): 1 лицевая, * 1 снять, 1 лицевая, 1 снять, 1 лицевая, 1 снять, 3 лицевые *

13-й ряд (цвет В): * 2 лицевые, 1 снять, 1 лицевая, 1 снять, 2 лицевые, 1 снять *

Кайма состоит из 14 рядов, где четные вяжутся по общему правилу. Повторяя ряды 1-14, можно получить сплошной узор по всему полю. Для этого каждый раз после 14-го ряда нужно вывязывать 2 ряда цветом фона: нечетный — лицевыми петлями, а четный — изнаночными.



УЗОР 17. «Рыбья кость». Так издавна называется распространенный ткацкий узор для верхней мужской и женской одежды. Этим узором можно связать пальто или толстую мужскую куртку. Хорошо будет выглядеть и тонкий свитер либо жилет.

1-й ряд (цвет А): * 1 лицевая, 1 снять, 5 лицевых, 1 снять *

3-й ряд (цвет В): * 1 снять, 1 лицевая, 1 снять, 5 лицевых *

5-й ряд (цвет А): * 5 лицевых, 1 снять, 1 лицевая, 1 снять *

7-й ряд (цвет В): * 1 снять, 5 лицевых, 1 снять, 1 лицевая *

9-й ряд (цвет А): 3 лицевые, * 1 снять, 1 лицевая, 1 снять, 5 лицевых *

11-й ряд (цвет В): 4 лицевые, * 1 снять, 1 лицевая, 1 снять, 5 лицевых *

13-й ряд (цвет А): 1 лицевая, * 1 снять, 1 лицевая, 1 снять, 5 лицевых *

15-й ряд (цвет В): 2 лицевые, * 1 снять, 1 лицевая, 1 снять, 5 лицевых *

Повторяйте эти 16 рядов, вывязывая четные ряды по общему правилу.



УЗОР 18. Кайма «Пятерочки». Каждый ее элемент составлен из пяти квадратиков. Узор хорош для отделки любой одежды. Лучше выбирать контрастные цвета.

Провяжите несколько рядов цветом А (фон). Вывязывать кайму начинайте с нечетного ряда.

1-й ряд (цвет В): * 3 лицевые, 1 снять *

3-й ряд (цвет А): * 1 снять, 1 лицевая *

5-й ряд (цвет В): * 7 лицевых, 1 снять *

7-й ряд (цвет А): 2 лицевые, * 1 снять, 1 лицевая, 1 снять, 5 лицевых

9-й ряд (цвет В): * 7 лицевых, 1 снять *

11-й ряд (цвет А): 1 снять, 1 лицевая *

13-й ряд (цвет В): 3 лицевые, 1 сиять *

Узор каймы состоит из 14 рядов, где четные вяжутся, как мы договорились вначале. Из этих мотивов получается и неплохой сплошной орнамент. Для этого, провязав цветом А 2 ряда (15-й — лицевыми, а 16-й — изнаночными), снова повторяйте ряды 1—24 нужное число раз.



УЗОР 19. «Куриная лапка». «Pied de poule» — так назвали французские ткачи ткацкий узор, элементы которого напоминают след птичьей лапки. Известный очень давно, он и сейчас популярен для одежды классического покроя. Но если на ткацком станке получить подобное переплетение нитей довольно просто, то имитировать в вязанье очень нелегко, но можно.

Вот как вяжется первый вариант.

1-й ряд (цвет А): * 3 лицевые, 1 снять, 1 лицевая, 1 снять, 1 лицевая, 1 снять *

3-й ряд (цвет В): * 1 снять, 1 лицевая, 1 снять, 5 лицевых *

5-й ряд (цвет А): * 3 лицевые, 1 снять, 1 лицевая, 1 снять, 1 лицевая, 1 снять *

7-й ряд (цвет В): 4 лицевые, * 1 снять, 7 лицевых *

9-й ряд (цвет А): 1 лицевая, * 1 снять, 1 лицевая, 1 снять, 5 лицевых *

11-й ряд (цвет В): 4 лицевые, *1 снять, 1 лицевая, 1 снять, 5 лицевых *

13-й ряд (цвет А): * 1 лицевая, 1 снять, 5 лицевых, 1 снять *

15-й ряд (цвет В): 6 лицевых, * 1 снять, 7 лицевых *

Повторяйте 16 рядов, провязывая четные ряды, как договорились вначале.



УЗОР 20. «Куриная лапка» — 2-й вариант.

1-й ряд (цвет А): * 1 лицевая, 1 снять, 3 лицевые, 1 снять *

3-й ряд (цвет В): 2 лицевые, * 1 снять, 5 лицевых *

5-й ряд (цвет А): 1 лицевая, * снять, 5 лицевых *

7-й ряд (цвет В): * 1 снять, 1 лицевая *

9-й ряд (цвет А): * 5 лицевых, 1 снять*

11-й ряд (цвет В): 4 лицевые, * 1 снять, 5 лицевых *

Раппорт узора состоит из 12 рядов, где четные вывязываются по общему правилу.



УЗОР 21. Отделочная кайма «Рушничок». Она имитирует простую национальную вышивку крестом. Когда-то ею отделывали полотенца-рушники, одежду. Поэтому лучше использовать ее для отделки платьев, юбок. Кайма может быть уместна и на рукавах, низе нарядного женского или детского свитера.

Провяжите несколько рядов цветом В (фон).

1-й ряд (цвет А): * 1 лицевая, 1 снять *

3-й ряд (цвет В): все лицевые

5-й ряд (цвет А): 1 лицевая, * 1 снять, 3 лицевые *

7-й ряд (цвет В): * 3 лицевые, 1 снять*

9-й ряд (цвет А): * 1 снять, 1 лицевая*

11-й ряд (цвет В): 1 лицевая, * 1 снять, 3 лицевые *

13-й ряд (цвет А): * 3 лицевые, 1 снять *

15-й ряд (цвет В): все лицевые 17-й ряд (цвет А): * 1 лицевая, 1 снять *

19-й ряд (цвет В): все лицевые 21-й ряд (цвет А): * 3 лицевые, 1 снять *

23-й ряд (цвет В): 1 лицевая, *1 снять, 3 лицевые *

25-й ряд (цвет А): * 1 снять, 1 лицевая *

27-й ряд (цвет В): * 3 лицевые, 1 снять *

29-й ряд (цвет А): 1 лицевая, *1 снять, 3 лицевые *

Кайма включает 30 рядов, где четные вяжутся по общему правилу. Дальше вяжите цветом фона.



УЗОР 22. «Гуси-гуси». Узор подходит для детских вещей. Его хорошо вывязывать из толстой мягкой пряжи малоконтрастных цветов.

1-й ряд (цвет А): * 2 лицевые, 1 снять*

3-й ряд (цвет В): * 1 снять, 5 лицевых*

5-й ряд (цвет А): 1 лицевая, * 1 снять, 2 лицевые *

7-й ряд (цвет В): 3 лицевые, * 1 снять, 5 лицевых *

Повторяйте 8 рядов, вывязывая четные по изнанке по нашему общему правилу.



УЗОР 23. «Крестики-нолики». Несмотря на свое детское название, этот орнамент подходит и для нарядных мужских и женских свитеров, жакетов. Хорош он на шарфах, варежках и спортивных шапках.

1-й ряд (цвет В): * 3 лицевые, 1 снять, 1 лицевая, 1 снять *

3-й ряд (цвет А): * 1 снять, 1 лицевая, 1 снять, 3 лицевые *

5-й ряд (цвет В): * 3 лицевые, 1 снять, 1 лицевая, 1 снять *

7-й ряд (цвет А): 4 лицевые, * 1 снять, 5 лицевых *

9-й ряд (цвет В): 1 лицевая, * 1 снять, 5 лицевых *

11-й ряд (цвет А): 4 лицевые, * 1 снять, 5 лицевых *

Повторяйте 12 рядов, следя за правильностью вывязывания четных (изнаночных) рядов.



УЗОР 24. «Федя». Неплохо, если вязаный свитер будет украшен инициалами его владельца? Это может восприниматься и как симпатичный абстрактный орнамент. Тем более, что русская кириллица сейчас в большой моде во всем мире. Попробуйте и сами составить интересные узоры из своих инициалов.

Наберите петли на спицу пряжей цвета В.

1-й ряд (цвет А): * 5 лицевых, 1 снять, 1 лицевая, 1 снять *

3-й ряд (цвет В): * 1 снять, 1 лицевая, 1 снять, 1 лицевая, 1 снять, 3 лицевые *

5-й ряд (цвет А): * 5 лицевых, 1 снять, 1 лицевая, 1 снять *

7-й ряд (цвет В): 2 лицевые, * 1 снять, 3 лицевые *

9-й ряд (цвет А): 1 лицевая, * 1 снять, 1 лицевая, 1 снять. 5 лицевых *

11-й ряд (цвет В): * 1 снять, 3 лицевые, 1 снять, 1 лицевая, 1 снять, 1 лицевая *

13-й ряд (цвет А): 1 лицевая, * 1 снять, 1 лицевая, 1 снять, 5 лицевых*

15-й ряд (цвет В): 2 лицевые, * 1 снять, 3 лицевые *

Раппорт состоит из 16 рядов. Четные вяжутся по общему правилу.



УЗОР 25. «Ковровый». Напоминает элементы узоров восточных ковров. Хорош для шарфа или свитера. Орнамент станет наряднее, если каждые 16 рядов заменять один из цветов.

1-й ряд (цвет А): * 1 лицевая, 1 снять, 5 лицевых, 1 снять *

3-й ряд (цвет В): 2 лицевые, * 1 снять, 3 лицевые *

5-й ряд (цвет А): 3 лицевые * 1 снять, 1 лицевая, 1 снять, 5 лицевых *

7-й ряд (цвет В): * снять, 7 лицевых *

9-й ряд (цвет А): * 1 лицевая, 1 снять*

11-й ряд (цвет В): * 1 снять, 7 лицевых *

13-й ряд (цвет А): 3 лицевые, * 1 снять, 1 лицевая, 1 снять, 5 лицевых *

15-й ряд (цвет В): 2 лицевые,* 1 снять, 3 лицевые.

Не забудьте, как правильно вывязывать четные ряды.



УЗОР 26. «Розовые лягушата». А может быть, и не розовые, если вы возьмете пряжу других цветов. И, может быть, вовсе не лягушата; ведь, как посмотреть — розовое на сером или серое на розовом… В любом случае это подходящий узор для детских вещичек.

1-й ряд (цвет А): * 1 лицевая, 1 снять, 3 лицевые, 1 снять *

3-й ряд (цвет В): 2 лицевые, * 1 снять, 1 лицевая, 1 снять, 3 лицевые *

5-й ряд (цвет А): 3 лицевые, * 1 снять, 5 лицевых *

7-й ряд (цвет В): * 1 снять, 5 лицевых *

9-й ряд (цвет А): * 3 лицевые, 1 снять, 1 лицевая, 1 снять *

11-й ряд (цвет В): 2 лицевые * 1 снять, 5 лицевых *

Раппорт узора состоит из 12 рядов, где четные вяжутся по общему правилу.



УЗОР 27. «Ромбики». Узор напоминает традиционный ковровый орнамент. Подходит для вязаных шапок, варежек, свитеров.

1-й ряд (цвет В): * 3 лицевые, 1 снять, 1 лицевая, 1 снять *

3-й ряд (цвет А): * 1 снять, 1 лицевая, 1 снять, 3 лицевые *

5-й ряд (цвет В): 1 лицевая, * 1 снять, 2 лицевые *

7-й ряд (цвет А): * 1 снять, 1 лицевая, 1 снять, 3 лицевые *

9-й ряд (цвет В): * 3 лицевые, 1 снять, 1 лицевая, 1 снять *

11-й ряд (цвет А): 1 лицевая, * 1 снять, 5 лицевых *

13-й ряд (цвет В): * 1 снять, 1 лицевая *

15-й ряд (цвет А): 1 лицевая, * 1 снять, 5 лицевых *

Повторяйте 16 рядов, вывязывая четные, как договорились вначале.



УЗОР 28. «Крапинки». Простой и скромный узор для вязаной одежды. Его выгодно применять, когда не хватает пряжи и приходится добавлять другую. В этом случае удается обойтись без надоевших цветных полосок и вставок. Кроме того, можно использовать в этом рисунке выцветшую, подлинявшую пряжу — равномерные крапинки скроют недостатки.

1-й ряд (цвет В): * 1 снять, 1 лицевая

3-й ряд (цвет А): все петли лицевые

5-й ряд (цвет В): * 1 лицевая, 1 снять *

7-й ряд (цвет А): все изнаночные

4-й и 8-й ряды вяжутся целиком изнаночными. Остальные четные ряды вяжутся по общему правилу.



УЗОР 29. «Искорки». Вяжется так же, как и предыдущий — «крапинки». Но добавление еще двух цветов делает этот простенький рисунок очень нарядным. Он хорош для детской одежды. Наберите на спицы пряжу цвета А.

1-й ряд (цвет В): * 1 снять, 1 лицевая *

3-й ряд (цвет А): все лицевые

5-й ряд (цвет С): * 1 лицевая, 1 снять *

7-й ряд (цвет А): все лицевые

9-й ряд (цвет Д): * 1 снять, 1 лицевая *

11-й ряд (цвет А): все лицевые и т. д.



УЗОР 30. «Ступеньки». Строгий геометрический узор для мужской и женской одежды.

1-й ряд (цвет А): 4 лицевые, * 1 снять, 1 лицевая, 1 снять, 5 лицевых *

3-й ряд (цвет В): 3 лицевые, * 1 снять, 1 лицевая, 1 снять, S лицевых *

5-й ряд (цвет А): 2 лицевые, * 1 снять, 1 лицевая, 1 снять, 5 лицевых *

7-й ряд (цвет В): 1 лицевая, * 1 снять, 1 лицевая, 1 снять, 5 лицевых *

9-й ряд (цвет А): * 1 снять, 1 лицевая, 1 снять, 5 лицевых *

11-й ряд (цвет В): 1 лицевая, * 1 снять, 1 лицевая *

13-й ряд (цвет А): * 1 снять, 5 лицевых, 1 снять, 1 лицевая *

15-й ряд (цвет В): * 5 лицевых, 1 снять, 1 лицевая, 1 снять *

После 16-го ряда повторите раппорт сначала. Четные ряды провязывайте, как договорились.



УЗОР 31. «Элодея». Так называются водоросли, стебли которых напоминает наш рисунок. Этот строгий узор подходит для вязания юбок прямого покроя, женских костюмов и мужских курток.

1-й ряд (цвет А): * 3 лицевые, 1 снять*

3-й ряд (цвет В): 2 лицевые, * 1 снять, 3 лицевые *

5-й ряд (цвет А): * 1 снять, 3 лицевые *

7-й ряд (цвет В): 1 лицевая, * 1 снять, 3 лицевые *

Четные ряды вяжите по общему правилу.



УЗОР 32. «Змейки». Хорош для детского пальто или курточки, но годится и для женской и мужской одежды.

1-й ряд (цвет А): * 3 лицевые, 1 снять *

3-й ряд (цвет В): 2 лицевые, * 1 снять, 3 лицевые *

5-й ряд (цвет А): 1 лицевая, 1 снять, 3 лицевые *

7-й ряд (цвет В): 2 лицевые, * 1 снять, 3 лицевые *

После 8 рядов узор повторяется. Четные ряды вяжутся, как сказано в начальном разделе.



УЗОР 33. «Точка-тире». Расположение деталей рисунка здесь кажется случайным, хотя это не так. Раппорт узора состоит из 6 петель и 12 рядов. Такие мелкие беспорядочные рисунки сейчас в моде. Используйте его для современных мужских и женских свитеров и жакетов.

1-й ряд (цвет А): все петли лицевые

3-й ряд (цвет В): * 1 лицевая, 1 снять, 3 лицевые, 1 снять *

5-й ряд (цвет А): все лицевые

7-й ряд (цвет В): * 1 снять, 1 лицевая, 1 снять, 3 лицевые *

9-й ряд (цвет А): все лицевые

11-й ряд (цвет В): * 1 снять, 3 лицевые, 1 снять, 1 лицевая *

Не забудьте, что после рядов, состоящих сплошь из лицевых петель, следуют четные ряды изнаночных.



УЗОР 34. «Пружинки». Этот узор можно выполнить в двух вариантах: темные контуры — на светлом и наоборот. Этот выразительный асимметричный рисунок годится для любой модной современной одежды.

1-й ряд (цвет А): 2 лицевые, * 1 снять, 5 лицевых *

3-й ряд (цвет В): * 1 лицевая, 1 снять, 3 лицевые, 1 снять *

5-й ряд (цвет А): 4 лицевые, * 1 снять, 5 лицевых *

7-й ряд (цвет В): 1 лицевая, * 1 снять, 1 лицевая, 1 снять. 3 лицевые *

9-й ряд (цвет А): * 1 снять, 5 лицевых*

11-й ряд (цвет В): * 3 лицевые, 1 снять, 1 лицевая, 1 снять *

Четные ряды вяжите по правилу, о котором говорилось вначале.



УЗОР 35.Отделочная кайма «Шашечки». Для образца наберите на спицу петли пряжей цвета А (фон).

1-й ряд (цвет В): 1 лицевая, * 1 снять, 1 лицевая, 1 снять, 1 лицевая, 1 снять, 3 лицевые *

3-й ряд (цвет А): * 1 снять, 5 лицевых, 1 снять, 1 лицевая *

5-й ряд (цвет В): 3 лицевые, * 1 снять, 7 лицевых *

7-й ряд (цвет А): * 1 снять, 1 лицевая *

9-й ряд (цвет В): * 7 лицевых, 1 снять *

11-й ряд (цвет А): 2 лицевые, * 1 снять, 1 лицевая, 1 снять, 5 лицевых *

13-й ряд (цвет В): * 1 лицевая, 1 снять, 3 лицевые, 1 снять, 1 лицевая, 1 снять *

После 14-го ряда (который, как и все четные, вяжется по общему правилу) переходите на вязание гладкого фона цветом А.



УЗОР 36. «Светлячки». Он подходит для женской и детской одежды, хорош для лыжных шапочек и варежек.

1-й ряд (цвет В): 1 лицевая, * 1 смять, 1 лицевая, 1 снять, 5 лицевых *

3-й ряд (цвет А): 2 лицевые, * 1 снять, 3 лицевые *

5-й ряд (цвет В): * 5 лицевых, 1 снять, 1 лицевая, 1 снять *

7-й ряд (цвет А): 1 лицевая. * 1 снять, 1 лицевая, 1 снять, 5 лицевых *

9-й ряд (цвет В): * 5 лицевых, 1 снять, 1 лицевая, 1 снять, *

11-й ряд (цвет А): 2 лицевые, * 1 снять, 3 лицевые *

13-й ряд (цвет В): 1 лицевая, * 1 снять, 1 лицевая, 1 снять, 5 лицевых *

15-й ряд (цвет А): * 5 лицевых, 1 снять, 1 лицевая, 1 снять *

16-й ряд раппорта, как и все четные ряды, вяжите по общему правилу.



УЗОР 37. Декоративная кайма «Башенки». Провяжите нужное число рядов основным цветом (обозначим его А). Это — фон.

Теперь провяжите два ряда цветом С (отделочные полоски). Снова провяжите два ряда цветом А и начинайте вывязывать орнамент.

1-й ряд (цвет В): * 1 лицевая, 1 снять *

3-й ряд (цвет А): * 1 снять, 7 лицевых *

5-й ряд (цвет В): 2 лицевые, * 1 снять, 1 лицевая, 1 снять, 1 лицевая, 1 снять, 3 лицевые *

7-й ряд (цвет А): * 1 лицевая, 1 снять, 5 лицевых, 1 снять *

9-й ряд (цвет В): * 1 снять, 3 лицевые*

11-й ряд (цвет А): 3 лицевые, * 1 снять, 1 лицевая, 1 снять, 5 лицевых *

13-й ряд (цвет В): * 1 снять, 1 лицевая, 1 снять, 3 лицевые, 1 снять, 1 лицевая *

15-й ряд (цвет А): 4 лицевые, * 1 снять, 7 лицевых *

17-й ряд (цвет В): * 1 лицевая, 1 снять *

После 18-го ряда, как и все четные, вяжется по общему правилу, свяжите два ряда цветом А, затем два ряда цветом С. Кайма завершена.



УЗОР 38. Кайма «Тюльпаны». Чтобы оправдать это весьма условное название, нужно использовать именно те цвета, что показаны на нашем образце. Поэтому будем называть их своими именами.

Провяжите несколько рядов белой пряжей.

1-й ряд (черный): * все лицевые

3-й ряд (белый): 3 лицевые, * 1 снять, 7 лицевых *

5-й ряд (нужен зеленый, но у нас — серый): * 1 снять, 5 лицевых, 1 снять, 1 лицевая *

7-й ряд (белый): 1 лицевая, 1 снять, 1 лицевая, 1 снять, 1 лицевая, 1 снять, 3 лицевые *

9-й ряд (у нас — серый): * 1 снять, 1 лицевая *

11-й ряд (белый): 3 лицевые, 1 снять, 7 лицевых *

13-й ряд (красный): * 1 снять, 5 лицевых, 1 снять, 1 лицевая *

15-й ряд (белый): 1 лицевая, * 1 снять, 3 лицевые *

17-й ряд (красный): * 1 снять, 1 лицевая *

19-й ряд (белый): 1 лицевая, * 1 снять, 3 лицевые *

21-й ряд (красный): * 2 лицевые, 1 снять, 1 лицевая, 1 снять, 2 лицевые, 1 снять

После 22-го ряда, который, как и все четные ряды, вяжется по общему правилу тем же цветом, что предыдущий нечетный ряд, вяжите, белой пряжей фон.



УЗОР 39. Кайма «Маки». Цвет фона может быть произвольным, остальные цвета необходимо соблюдать точно, иначе это и без того весьма условное название окажется несостоятельным.

Свяжите несколько рядов фона. (У нас на образце — белый.)

1-й ряд (черный): все петли лицевые.

3-й ряд (белый): 2 лицевые, * 1 снять, 5 лицевых *

5-й ряд (нужен зеленый, у нас — серый): * 5 лицевых, 1 снять *

7-й ряд (белый): * 1 снял», 1 лицевая *

9-й ряд (у нас — серый): * 1 лицевая, 1 снять *

11-й ряд (белый): 2 лицевые, * 1 снять, 5 лицевых *

13-й ряд (красный): * 5 лицевых, 1 снять 4

15-й ряд (белый): * 1 снять, 3 лицевые, 1 снять, 1 лицевая *

17-й ряд (красный): * 1 лицевая, 1 снять *

19-й ряд (белый): * 1 снять, 3 лицевые, 1 снять, 1 лицевая *

21-й ряд (красный): * 5 лицевых, 1 снять *

Кайма заканчивается 22-м рядом. Как вязать нечетные ряды, мы договорились. Дальше вяжите цветом фона.



УЗОР 40. Кайма «Васильки». Это название может оправдать только яркая васильковая пряжа в последних шести рядах.

Провяжите достаточное число рядов цветом фона (в данном случае — красным).

1-й ряд (черный): все петли лицевые

3-й ряд (красный): * 5 лицевых, 1 снять *

5-й ряд (белый): 1 лицевая, * 1 снять, 5 лицевых *

7-й ряд (красный): * 1 снять, 3 лицевые, 1 снять, 1 лицевая *

9-й ряд (белый): * 1 лицевая, 1 снять, 3 лицевые, 1 снять *

11-й ряд (красный): 3 лицевые, * 1 снять, 5 лицевых *

13-й ряд (серый): * 5 лицевых, 1 снять *

15-й ряд (красный): 1 лицевая, * 1 снять, 1 лицевая, 1 снять, 3 лицевые*

17-й ряд (серый): * 5 лицевых, 1 снять *

Четные ряды вяжите, как сказано вначале. После 18-го ряда продолжайте вязать фон красным.



УЗОР 41. Декоративная кайма «Пирамида». Хороша для отделки в контрастных цветах.

Провяжите несколько рядов цветом В (фон). Вязать орнамент начинайте с нечетного (лицевого) ряда.

1-й ряд (цвет А): * 1 снять, 3 лицевые *

3-й ряд (цвет В): * 2 лицевые, 1 снять, 2 лицевые, 1 снять, 1 лицевая, 1 снять *

5-й ряд (цвет А): * 1 лицевая, 1 снять,

2 лицевые, 1 снять. 1 лицевая, 1 снять *

7-й ряд (цвет В): * 1 снять, 3 лицевые *

9-й ряд (цвет А): * 2 лицевые, 1 снять, 2 лицевые, 1 снять, 1 лицевая, 1 снять *

22-й ряд (цвет В): 1 лицевая, * 1 снять, 1 лицевая, 1 снять, 2 лицевые, 1 снять, 2 лицевые *

13-й ряд (цвет А): * 1 снять, 3 лицевые *

Кайма состоит из 14 рядов, где четные вяжутся по общему правилу.



УЗОР 42. «Плетенка». Наберите петли нитью цвета А. Вязать начинайте цветом В.

1-й ряд (цвет В): * 5 лицевых, 1 снять, 1 лицевая, 1 снять, 1 лицевая, 1 снять, 1 лицевая, 1 снять *

3-й ряд (цвет А): 6 лицевых, *1 снять, 1 лицевая, 1 снять, 1 лицевая, 1 снять, 7 лицевых

5-й ряд (цвет В): * 5 лицевых, 1 снять, 1 лицевая, 1 снять, 1 лицевая, 1 снять, 1 лицевая, 1 снято *

7-й ряд (цвет А): 6 лицевых, * 1 снять, 1 лицевая, 1 снять, 1 лицевая, 1 снять, 7 лицевых *

9-й ряд (цвет В): * 5 лицевых, 1 снять, 1 лицевая, 1 снять, 1 лицевая, 1 снять, 1 лицевая, 1 снять *

11-й ряд (цвет А): все лицевые

13-й ряд (цвет В): * 1 лицевая, 1 снять, 1 лицевая, 1 снять, 1 лицевая, 1 снять, 5 лицевых, 1 снять *

15-й ряд (цвет А): * 1 снять, 1 лицевая, 1 снять, 1 лицевая, 1 снять, 7 лицевых *

17-й ряд (цвет В): * 1 лицевая, 1 снять, 1 лицевая, 1 снять, 1 лицевая, 1 снять, 5 лицевых, 1 снять *

19-й ряд (цвет А): * 1 снять, 1 лицевая, 1 снять, 1 лицевая, 1 снять, 7 лицевых *

21-й ряд (цвет В): * 1 лицевая, 1 снять, 1 лицевая, 1 снять, 1 лицевая, 1 снять, 5 лицевых, 1 снять *

23-й ряд (цвет А): все лицевые

Что делать с четными рядами, вы уже знаете. Ряды 11-й и 24-й вяжите цветом А изнаночными. Повторяя ряды 1-24, вы получите цветной узор, напоминающий плетеную корзинку. И, конечно, вам не придется то и дело заглядывать в это длинное описание. Многие ряды повторяются, и закономерность очень проста. Вы уловите ее, провязав всего несколько рядов.



УЗОР 43. «Клеточка». Раппорт узора состоит из 23 рядов. Но пусть это не смущает вас: в вязании он прост и хорошо подходит для мужских свитеров и жилетов.

Наберите на спицы число петель, кратное 12, нитью цвета А и провяжите ею несколько рядов лицевой, платочной вязкой или резинкой. Узор начинайте вывязывать нитью цвета В.

1-й ряд (цвет В): * 1 лицевая, 1 снять, 1 лицевая, 1 снять, 1 лицевая, 1 снять, 5 лицевых, 1 снять *

3-й ряд (цвет А): все лицевые

5-й ряд (цвет В): как 1-й ряд

7-й ряд (цвет А): все лицевые

9-й ряд (цвет В): как 1-й ряд

11-й ряд (цвет А): все лицевые

13-й ряд (цвет В): * 5 лицевых, 1 снять, 1 лицевая, 1 снять, 1 лицевая, 1 снять, 1 лицевая, 1 снять *

15-й ряд (цвет А): все лицевые

17-й ряд (цвет В): как 13-й ряд

19-й ряд (цвет А): все лицевые

21-й ряд (цвет B): как 13-й ряд

23-й ряд (цвет А): все лицевые

О четных рядах мы договорились вначале. После рядов, где все лицевые, вяжутся тем же цветом изнаночные четные ряды.



УЗОР 44. «Вертикальные полоски». Издавна считалось, что вязание спицами вертикальных полос невозможно. В крайнем случае достаточно широкие полоски вывязывали каждую от отдельного клубка и перекрещивали нити на стыке цветов, чтобы вязание не распалось. Узкие полоски, если они так уж необходимы по художественному замыслу, приходилось вышивать иголкой с ниткой.

Но теперь мы можем преодолеть это ограничение. Вот как вяжется простой изящный узор, составленный из групп по три узких вертикальных полос.

1-й ряд (цвет А): * 1 лицевая, 1 снять *

3-й ряд (цвет В): 2 лицевые, * 1 снять, 1 лицевая, 1 снять, 1 лицевая, 1 снять, 3 лицевая *

Повторяйте 4 ряда, провязывая четные, как сказано в начальном разделе.

Нетрудно сообразить, как вывязать подобный рисунок из групп по две, четыре, пять полос.

Правда, в отличие от горизонтальных вязаных полос, эти не могут быть разноцветными. Но вы вполне можете попробовать чередовать три, четыре и больше цветов через *четное число рядов. Посмотрите, что получится.



УЗОР 45. «Шотландка». Обычными способами этот узор, имитирующий расцветку популярной ткани, невозможно вывязать. В крайнем случае вывязывают горизонтальные полоски клеток, а вертикальные вышивают. Но узор 45 убедил нас, что вертикальные полоски очень легко вязать. Вязаная «шотландка» хороша для юбок, платьев, женских костюмов и мужских курток.

Наберите на спицы нужное число петель цветом А.

1-й ряд (цвет В). * 1 лицевая, 1 снять *

3-й ряд (цвет А): 2 лицевые, * 1 снять, 1 лицевая, 1 снять, 1 лицевая, 1 снять, 3 лицевые *

5-й ряд (цвет В): * 1 лицевая, 1 снять *

7-й ряд (цвет А): 2 лицевые, * 1 снять, 1 лицевая, 1 снять, 1 лицевая, 1 снять, 3 лицевые *

9-й ряд (цвет С): все лицевые

11-й ряд (цвет А): 2 лицевые, * 1 снять, 1 лицевая, 1 снять, 1 лицевая, 1 снять, 3 лицевые *

13-й ряд (цвет В): все лицевые

15-й ряд (цвет А): 2 лицевые, * 1 снять, 1 лицевая, 1 снять, 1 лицевая, 1 снять, 3 лицевые *

Повторяйте 16 рядов,вывязывая четные ряды тем же цветом, что предыдущие нечетные, по общему правилу.



УЗОР 46. «Шотландка» — 2-й вариант. Наберите на спицы нужное число петель цветом А.

1-й ряд (цвет С): * 1 лицевая, 1 снять *

3-й ряд (цвет А): 2 лицевые, * 1 снять, 1 лицевая, 1 снять, 1 лицевая, 1 снять, 3 лицевые *

5-й ряд (цвет В): все лицевые

7-й ряд (цвет А): 2 лицевые, * 1 снять. 1 лицевая, 1 снять, 1 лицевая, 1 снять, 3 лицевые *

9-й ряд (цвет С): все лицевые

11-й ряд (цвет А): 2 лицевые, * 1 снять, 1 лицевая, 1 снять, 1 лицевая, 1 снять, 3 лицевые *

13-й ряд (цвет В): все лицевые

15-й ряд (цвет А): 2 лицевые, * 1 снять, 1 лицевая, 1 снять, 1 лицевая, 1 снять, 3 лицевые *

Четные ряды вяжите тем же цветом по общему правилу.



УЗОР 47. «Треугольники». Наш образец выполнен в три цвета, но узор может быть и двухцветным.

Наберите на спицу петли цветом фона (обозначим его В).

1-й ряд (цвет А): 1 лицевая, * 1 снять, 1 лицевая, 1 снять, 3 лицевые *

3-й ряд (цвет В): * 1 снять, 3 лицевые, 1 снять, 1 лицевая *

5-й ряд (цвет А): 2 лицевые, * 1 снять, 5 лицевых *

7-й ряд (цвет В): * 1 лицевая, 1 снять *

9-й ряд (цвет А): все лицевые

11-и ряд (цвет В): 2 лицевые, * 1 снять, 5 лицевых *

После 12-го ряда повторите все операции сначала. Для получения трехцветного рисунка в новых 12 рядах замените цвет А на цвет С. В узоре может участвовать и больше цветов. По желанию в каждой группе из 12 рядов заменяйте цвет орнамента, оставляя цвет фона прежним. Многоцветный узор уместен для детской одежды: пальтишек, кофточек, шапок. Строгий двухцветный узор может быть использован для мужского свитера или жакета.



УЗОР 48. Кайма «Летний сад». Орнамент напоминает рисунок садовой ограды. Впрочем, он необязательно должен быть черным. Главное — цвета должны быть контрастными. Уместен для отделки подола юбки, платья или объемного мужского свитера.

Свяжите нужное число рядов цветом В (фон).

1-й ряд (цвет А): все лицевые

3-й ряд (цвет В): * 3 лицевые, 1 снять*

5-й ряд (цвет А): * 1 снять, 5 лицевых, 1 снять, 1 лицевая *

7-й ряд (цвет В): * 1 лицевая, 1 снять *

9-й ряд (цвет А): * 1 снять, 1 лицевая*

11-й ряд (цвет В): * 1 лицевая, 1 снять *

13-й ряд (цвет А): все петли лицевые

15-й ряд (цвет В): * 1 лицевая, 1 снять *

17-й ряд (цвет А): * 1 снять, 1 лицевая *

19-й ряд (цвет В): 1 лицевая, 1 снять *

21-й ряд (цвет А): * 1 снять, 5 лицевых, 1 снять, 1 лицевая *

23-й ряд (цвет В): * 3 лицевые, 1 снять *

25-й ряд (цвет А): все лицевые

После 26-го ряда вяжите цветом В (фон). Ряды 2-й, 14-й и 26-й вяжите цветом предыдущего ряда изнаночными, остальные четные ряды — как условились вначале.

Размеры каймы можно изменить по своему вкусу, если ряды 7-10-й и 15-18-й повторить еще несколько раз. Или, наоборот, исключите ряды 11-12-й и 15-16-й и тогда элементы «садовой ограды» превратятся в квадраты-«оконца».



УЗОР 49. «Барабаны». Возможно, эта фигурки мало напоминают барабаны, но тогда, может быть, ряды точек символизируют барабанную дробь? Выполненный в сдержанной цветовой гамме, этот рисунок может подойти для костюма или свитера строгого покроя.

1-й ряд (цвет А): * 5 лицевых, 1 снять, 1 лицевая, 1 снять, 1 лицевая, 1 снять *

3-й ряд (цвет В): 1 лицевая, * 1 снять, 1 лицевая, 1 снять, 7 лицевых *

5-й ряд (цвет А): * 5 лицевых, 1 снять, 1 лицевая, 1 снять, 1 лицевая, 1 снять *

7-й ряд (цвет В): 1 лицевая, 1 снять. 1 лицевая, 1 снять, 7 лицевых *

9-й ряд (цвет А): * 5 лицевых, 1 снять, 1 лицевая, 1 снять, 1 лицевая, 1 снять *

11-й ряд (цвет В): все лицевые

13-й ряд (цвет А): * 1 снять, 1 лицевая, 1 снять, 1 лицевая, 1 снять, 5 лицевых *

15-й ряд (цвет В): 6 лицевых, * 1 снять, 1 лицевая, 1 снять, 7 лицевых *

17-й ряд (цвет А): 1 снять, 1 лицевая, 1 снять, 1 лицевая, 1 снять, 5 лицевых *

19-й ряд (цвет В): 6 лицевых, * 1 снять, 1 лицевая, 1 снять, 7 лицевых *

21-й ряд (цвет А): * 1 снять, 1 лицевая, 1 снять, 1 лицевая, 1 снять, 5 лицевых *

23-й ряд (цвет В): все петли лицевые

В 24-м, а также и 12-м рядах все петли провязываются тем же цветом наизнанку, остальные четные ряды вяжутся по общему правилу.



УЗОР 50. Имитация — Клеточки». Хорош для мужских и женских жакетов строгого покроя. На образце показан его трехцветный вариант. Но он неплохо смотрится и двухцветным. На на тем образце белый фон (С), а узор образуют цвета А и В.

Наберите на спицы число петель, кратное 10, цветом С.

1-й ряд (цвет А): * 5 лицевых, 1 снять, 1 лицевая, 1 снять, 1 лицевая, 1 снять, 1 лицевая 1 снять *

3-й ряд (цвет С): все лицевые

5-й ряд (цвет А): как 1-й ряд

7-й ряд (цвет С): все лицевые

9-й ряд (цвет А): как 1-й ряд

11-й ряд (цвет С): все лицевые

13-й ряд (цвет В): * 1 снять, 1 лицевая, 1 снять, 1 лицевая, 1 снять 5 лицевых *

15-й ряд (цвет С): все лицевые

17-й ряд (цвет В): как 13-й ряд

19-й ряд (цвет С): все лицевые

21-й ряд (цвет В): как 13-й ряд

23-й ряд (цвет С): все лицевые

Повторяйте 24 ряда, вывязывая четные ряды по правилу, о котором мы условились в начальном разделе. После сплошных лицевых рядов вяжите четные ряды изнаночными.



СПРАШИВАЙ БЫВАЛОГО

Изготовление общего пленочного покрывала на каркас теплицы

А.И. Герасимов


Практически на каждом садово-огородном участке применяют для выращивания овощей разнообразные по форме и конструкции (арочные, одно- и двухскатные и др.) и по материалу каркаса пленочные теплицы с разными способами их обогрева (солнечное, биологическое, техническое — горячей водой, паром, электрическим током). С недавних пор подобные теплицы начали применять и для выращивания винограда и некоторых ягодных кустарников в средней и северной полосах

России. Используют, но реже, и пристеночные односкатные теплицы, то есть пристыкованные одной стороной к стене дачного или хозяйственного строения. Иногда в соответствующей стене дачи делают проем для обогрева теплицы воздухом из жилого строения. Все работы по уходу за растениями проводят внутри теплиц в отличие от работ в низких парниках, когда всю или частично пленку с каркаса периодически снимаете для доступа работающих к растениям.

Каркасы всех теплиц имеют торцовые стропильные рамы с боковыми опорными элементами и несколько промежуточных стропильных рам, одинаковых по внешним размерам с торцовыми. В торцовых рамах предусмотрены проемы для навешивания дверей или для образования проветривания теплицы. Между собой все рамы последовательно соединяют коньковым продольным металлическим элементом или деревянным брусом, несколькими промежуточными и боковыми такими же элементами (брусами, рейками).

Рамы всех теплиц ставят низом боковых опор на фундаменты. Их делают сплошными по всему периметру каркаса теплицы или прерывистыми только под концами опор. Сплошные фундаменты выкладывают, как правило, из хорошо обожженного красного кирпича в два ряда на цементном растворе. Можно применять и силикатный кирпич, но он при контакте с влажной землей и в условиях осенних и зимних заморозков с оттепелями после 2–3 лет расслаивается и рассыпается. Хорошие фундаменты получаются из значительно больших по размерам, чем кирпич, шлакоблоков в один ряд и даже без раствора, а также в виде одиночных блоков непосредственно под опорами рам. Но в настоящее время блоки приобрести сложно, так как промышленность практически перестала их изготавливать. Можно блоки найти только при разборке старых домов. Но наиболее удобными (по опыту автора) являются сплошные фундаменты из деревянных шпал, пропитанных креозотом. Они очень слабо подвержены гниению, обладают малой теплопроводностью, быстро раскладываются по поверхности выровненного грунта, — оперативно убираются и переносятся на другое место при необходимости изменения-размещения теплицы. В связи с давним решением Министерства железных дорог о замене всех таких шпал под рельсами на железобетонные штабеля из снятых деревянных шпал часто расположены вдоль железных дорог, эти шпалы можно приобрести.

Прерывистые фундаменты под каждым концом рам выполняют, кроме упомянутых выше одиночных шлакоблоков, часто из красных кирпичей по 2 штуки в каждом ряду на цементном растворе обычно тоже в 2 ряда по высоте. Автор же для этих целей изготовил когда-то для одной из теплиц бетонные кубики с размером сторон 20 см, которые отлично служат фундаментом уже более 20 лет.

Для фиксирования каркаса на месте и предохранения от возможного сноса теплицы сильными порывами ветра я вбиваю в грунт крючья из стального прутка (арматуры) диаметром 8-10 мм и длиной около 0,8 м через каждые 1,5 м по периметру каркаса, заводя концы крючьев за нижний брус или за края опор. Однако 2 раза у меня теплицы ветром сдвигало и опрокидывало. После этого я стал вбивать у торцов теплицы на границе боковых стенок по 2 стальных трубы диаметром 3/4 дюйма на глубину около 1 м и привязывать к ним по 2 стальных провода, проходящих на высоте 1 и 1,5 м по поверхности боковых стенок из пленки. Последние 6 лет теплицы стоят устойчиво.

В качестве пленочного материала применяют обычно полиэтилен или хлорвинил. В СССР полиэтиленовая пленка выпускалась 5 типов: нестабилизированная, стабилизированная, стабилизированная гидрофобная, теплоудерживающая, стабилизированная армированная полиэтиленом низкого давления. В любом полиэтилене под воздействием ультрафиолетовых лучей солнца происходит постепенный разрыв связей в молекулах, материал твердеет, охрупчивается и растрескивается при достаточно слабых растягивающих усилиях. Но время протекания таких реакций в разных типах пленок разное. Пленка нестабилизированная обладала высокой теплопроводностью, что приводило к большой потере тепла через укрытие в ночное время. Срок службы этой пленки на открытом воздухе составлял не более 6 месяцев. Второй тип пленки содержал стабилизатор связей в молекулах, имел меньшую проницаемость для ультрафиолетовых лучей, что в совокупности увеличивало срок службы пленки на 2–3 месяца. Третий тип гидрофильной пленки имел пониженную проницаемость через нее инфракрасных лучей, поэтому теплица теряла ночью меньше тепла. Сохранению тепла способствовал и слой воды, образующийся на внутренней поверхности пленки. Теплоудерживающая пленка имела матово-белесый цвет, она обеспечивала меньшие колебания температуры воздуха в течение суток, что повышало урожай культур до 30 % по сравнению с ним под стабилизированной пленкой. Срок ее службы составлял 7–9 месяцев. Армированная пленка имела толщину около 0,3 мм, она характеризовалась высокой прочностью и сопротивляемостью к разрыву, срок ее гарантированной эксплуатации достигал 2 лет.

Однако при приобретении пленки покупатели не знают, как правило, типы пленок и их характеристики, а это продавцы никогда не объясняют. Обыватели считают все полиэтиленовые пленки одинаковыми по свойствам (кроме армированной) и обычно очень удивляются, что в разные годы «одинаковые» пленки служат разные сроки.

В настоящее время на полиэтиленовую пленку действует со времен СССР ГОСТ 10354-82 Пленка полиэтиленовая. По нему должны выпускать следующие марки пленок:

СТ — стабилизированная для использования в качестве светопрозрачного покрытия теплиц и парников;

СИК — стабилизированная адсорбентом инфракрасного излучения для использования в качестве светопрозрачного покрытия теплиц и парников, обеспечивая повышенный тепличный эффект (гарантийный срок хранения 1 год со дня изготовления при соблюдении условий упаковки, транспортировки и хранения);

Н — стабилизированная и нестабилизированная для изготовления изделий народного потребления, упаковки и бытового назначения;

М — для изготовления транспортировочных мешков (срок хранения до 10 лет) и ряд других марок пленок, не предназначенных для покрытия теплиц и парников. Предельные отклонения по толщине пленки для высшего сорта ± 20 %, для первого сорта — ± 30 %.

В г. Сарове Нижегородской области, где живет автор, продают в магазинах полиэтиленовую пленку указанного ГОСТа только производимую ООО «Пластком» г. Кстово Нижегородской области. В сопровождающих документах указано, что это пленка марки Н, сорт 1, а стабилизированная или нет — товароведы в магазинах объяснить ни разу не смогли. В документах лишь написано, что пленка «не подлежит обязательной сертификации, выпускается методом самоконтроля». Что это означает, можно увидеть из следующего. Я неоднократно микрометром измерял толщины пленок разных партий. Если, например, указана ее толщина 0,1 мм, то фактически ее толщина составляла от 0,08 до 0,06 мм. А так как в цену пленки входит примерно 80 % стоимости объема материала, то следует, что с покупателя берут денег больше до 30 % за несуществующий объем полиэтилена в пленке. Пленка с уменьшенной толщиной имеет меньшую прочность, и потому срок ее службы меньше.

На хлорвиниловую пленку (правильное ее название — поливинилхлоридная) распространяется ГОСТ 9998-86 «Пленки полихлорвиниловые пластифицированные бытового назначения». Марки выпускаемых пленок таковы: ПГВ, ШИ, ПБ, ПИ, ПДХ, ПО, 1111; их толщина изменяется от 0,15 до 0,4 мм с предельными отклонениями по толщине соответственно от + 0,02 до ± 0,03 мм. Гарантийный срок хранения — 1 год со дня изготовления. Срок их службы на открытом воздухе в ГОСТе не приведен, как не отмечены и преимущества использования тех или иных марок перечисленных пленок. Но, по моему опыту, они обычно служат 3 летних срока. Поэтому и 1 м2 этой пленки стоит в 2 раза больше 1 м2 полиэтиленовой.

Продаваемую у нас пленку выпускает ОАО «СИБУР-НЕФТЕХИМ» завод окиси этилена и гликолей в г. Дзержинске Нижегородской области под названием «Пленка поливилхлоридная для парников и теплиц и герметизации помещений». Но приведенный выше ГОСТ почему-то не указывается, а даны только технические условия ТУ 2245-062-52470175-2005 на выпуск этой пленки. Замер толщин пленок показал, что ее выпускают всегда тоньше нижнего допустимого предела.

Вернемся снова к каркасам теплиц. В последние 10 лет наибольшее распространение получили продаваемые арочные каркасы из штампованного листового железа толщиной около 1 мм с профилем, показанным на рис. 1.



Рис. 1


Продаются они негрунтованными и потому неокрашенными, а для предохранения от ржавления покрытыми какой-либо консистентной смазкой. Приобретя каркас из такого профиля в разобранном виде, следует убрать эту смазку, протерев несколько раз поверхности сухой ветошью, а затем — промыть бензином, так как листья или стебли растений, коснувшись смазки, затем отмирают. Да и попавшую на одежду смазку трудно потом отмыть. Если есть ржавчина, то следует ее удалить металлической щеткой. Целесообразно поверхности элементов каркаса покрыть за 2 раза кузбасслаком, продаваемым в магазинах под маркой «Лак битумный БТ-5102». Можно покрасить и каким-либо грунтом по металлу, но это будет стоить дороже.

При сборке и винтовом скреплении каркаса на выбранном месте садово-огородного участка его общая длина составит 520 см при шаге размещения арок 52 см, так что для покрытия используются пленки стандартной ширины 140 или 280 см. В инструкциях на каркас указывается, что пленку на его арках следует закреплять капроновым шпагатом. Для этого край первой пленки у арки с дверью проминается шпагатом, привязанным одним концом к низу данной арки, в центральный паз профиля (рис. 1). Шпагат натягивают, привязывают вторым концом тоже к низу арки у этого ее края. Там, где соседние пленки стыкуются, их продольные края укладывают в паз внахлест и тоже прижимают в паз шпагатом. Практика моя и на соседних участках показала, что такой способ фиксирования пленки на каркасе неудобен. Шпагат периодически ослабевает, его систематически чаде отвязывать и подтягивать, а пленка часто из-под шпагата выходит с образованием продухов. Лучше, если один конец шпагата привязать к пружине, а ее растянуть и закрепить к крюку из стального прутка диаметром 6–8 мм, вбитому в землю на глубину около 60 см. Можно создавать постоянное натяжение шпагата путем привязывания к одному его концу какого-то висящего груза. Хорошо себя показало привязывание по одному силикатному кирпичу. Но это неэстетично, и были случаи, когда при сильном ветре кирпичи несколько раскачивало и они острыми углами прорывали пленку.

Мой 15-летний опыт использования теплиц показывает, что наиболее удобным является изготовление общего пленочного покрывала на каркас (кроме ее торцов), независимо от его типа. Такое покрытие можно быстро надевать и зафиксировать на каркасе, а при необходимости, например, при надолго установившейся теплой погоде, оперативно снять. Фиксируют его на каркасе тоже в пазах арочного профиля шпагатом или гибкой проволокой в полимерной изоляции. Для постоянного натяжения проволоки я привязываю по два провода к стальной трубе длиной около 1,5 м, выполняющей роль груза. Покрывало придает каркасу дополнительную механическую прочность и наиболее устойчиво от раздувания пленки ветром. Если покрывало сделать из качественной поливинилхлоридной пленки, то оно служит 4 года и больше при условии хранения его в зимних условиях при положительной температуре (я обычно храню в погребе). Конечно, осенью покрывало надо промыть от грязи и просушить. Удобно это делать на самом каркасе после снятия шпагата или проволоки.

Такое покрывало я изготавливаю в домашних условиях так. Нужно взять прямой деревянный строганый брус сечением 2x4 см и длиной около 2,5 м. Скруглить грани радиусом примерно 5 мм по краям одной плоскости шириной 4 см на всей длине бруса. На эту сторону бруса по всей его длине надо натянуть ленту из фторопласта (тефлона) шириной около 70–90 мм, часто продаваемую в хозяйственных магазинах. Этот материал имеет температуру плавления свыше 250 °C и очень малую адгезию (прилипание) к другим любым материалам. Пленку надо закрепить к брусу по его торцам несколькими кнопками. Брус кладут на стол пленкой вверх (рис. 2).



Рис. 2.

1 — крышка стола; 2 — брус; 3 — фторопластовая пленка


Нарезают полотна пленки нужной длины с учетом расположения ее концов шириной около 10 см у низа каркаса на земле. Далее сваривание (сплавление) утюгом краев пленки по длинным их сторонам удобнее вести двум лицам. Но предварительно следует на кусочках пленки подобрать температурный и временной режим сварки пленки, тем более что у современных утюгов есть регулятор температуры нагрева. Для этого кладут внахлест на фторопласт бруса на всю его ширину два кусочка пленки, на них тоже фторопласт и сверху ставят утюг так, чтобы он сжимал кусочки пленки по всей ширине бруса. Как правило, для сварки пленки нужна выдержка 3–6 секунд. После этого снимают, за ним — верхний фторопласт и сначала визуально просматривают качество сварки. Если место сварки видно как единый материал без большого количества пузырьков воздуха между слоями, то следует признать такой режим сварки и усилие прижатия утюга нормальными. Правда, в дополнение надо попытаться оторвать слои друг от друга, чтобы убедиться еще и в прочности сварного шва. Здесь следует отметить надобность указанного выше скругления кромок бруса. Если бы кромки были острыми, то при перекосе утюга к одной грани можно было бы прорезать насквозь расплавленные пленки.

После подбора режима сварки укладывают на фторопласт 3 бруса 2 на всю его длину внахлест начала двух первых полотен пленки 4 и 5 (рис. 3), удерживая одним из работающих в таком положении пленки руками.



Рис. 3.

1–3 — см. рис. 2; 4 и 5 — соответственно нижний и верхний листы свариваемых полотен пленок; 6 — верхняя фторопластовая пленка; 7 — утюг; 8 — газеты


Затем сверху на место сварки кладут еще на всю длину бруса кусок пленки из фторопласта 6, и в нескольких местах по длине бруса горячим носиком утюга 7 сваривают локально между собой края пленок. Так пленка оказывается зафиксированной на брусе. Теперь обязательно с обеих сторон от бруса и утюга надо проложить слои газет 8, чтобы случайно не прожечь утюгом пленку. Кроме того, газеты своей массой несколько прогибают пленки вниз.

Практика показывает, что при работе теряется иногда бдительность и пленка без газет местами проплавляется. Далее осторожно ведётся медленно утюг с подобранным временем воздействия на пленки и усилием прижатия его к брусу по его длине. Затем утюг убираем в сторону, снимаем верхний фторопласт и газеты, осторожно приподнимаем сваренные концы полотен от нижнего фторопласта, надвигается на брус последующие подлежащие сварки края полотен и описанная выше процедура продолжается до окончания сварки всех полотен между собой.

Сохранности пленки на каркасе способствует также покрытие несущих конструкций каркаса каким-то белым материалом, особенно со стороны длительного падения на них солнечных лучей. Здесь элементы каркаса наиболее сильно нагреваются и передают тепло пленочному покрытию, которое в местах контакта с этими элементами натянуто (напряжено), как правило, наиболее сильно. Будучи нагретой, пленка быстрее вытягивается и утончается, теряя механическую прочность. Я обычно кладу сверху на профиль белую ленту из стеклоткани, продаваемую тоже в хозяйственных магазинах. Ленту закрепляю с шагом около 1 м к профилю скобами из тонкой медной или иной проволоки.

Всем, кто воспользуется изложенными здесь советами, особенно по изготовлению единого покрывала на весь каркас теплицы, автор желает всяческих успехов.

Практичные фиксаторы положения стеблей растений

Высокие стебли некоторых растений на садово-огородных участках (цветов, ягодников, ряда кустарников) и в домашних условиях требуют почти вертикального фиксирования в процессе развития, так как иначе стебли могут под воздействием ветра, дождя или увеличивающейся со временем массы перегнуться с последующим замедлением или прекращением роста и даже сломаться.

Чтобы этого не произошло, на садово-огородных участках каждое растение огораживают трех- или четырехугольной деревянной рамкой на высоте 300–500 мм над поверхностью грунта, вбивая в землю по углам рамки соответственно три или четыре деревянные опоры. Чаще же вбивают около высокорослого растения одну высокую деревянную опору или металлический стержень диаметром 7-12 мм и привязывают к ним стебли. Деревянные опоры не очень эстетичны и недолговечны (быстро сгнивают в земле), имеют значительное поперечное сечение и потому при их вбивании в грунт они разрывают много корней растения, задерживая его развитие. Стержни обычно готовят из арматурной рифленой стали, имеющей повышенную прочность к изгибу. Но такую сталь достать стало трудно, так как обрезки арматуры принимают за неплохую цену предприятия по сбору металлолома.

Гораздо практичнее и эстетичнее использовать для этих целей долговечные специальной формы проволочные фиксаторы положения стеблей. Самым простым из них является однокольцевой фиксатор (рис. 1), изготавливаемый из металлического провода диаметром 4–6 мм.



Рис. 1. Простейший проволочный фиксатор:

1 и 3 — прямые участки провода; 2 — кольцо, стрелки — места связки тонкой проволокой


Такой фиксатор сделать несложно. Надо начальный участок 1 провода (длина его 400–700 мм зависит от ожидаемой длины стебля растения и прочностного качества грунта) отогнуть под прямым углом; затем в плоскости, перпендикулярной отогнутому участку, согнуть кольцо 2 диаметром примерно 150–300 мм (в зависимости от поперечного размера кустов стеблей), продлив его еще на половину кольца, и сделать здесь еще один отгиб 3, подобный участку 1. Около отгибов кольцо и полукольцо связать подвижно более тонкой проволокой. Такая связка позволяет несколько регулировать диаметр кольца по мере разрастания растения.

В частности, подобные проволочные (диаметр стального провода 1,5–2,5 мм) фиксаторы-подставки я использую не только для вертикального удержания стеблей цветов, но и для предохранения ягод цветоножек клубники от касания ими земли по мере роста массы ягод. Весной вокруг каждого куста устанавливаю на высоте примерно 80-120 мм от поверхности грунта проволочное кольцо, удерживаемое в земле двумя с противоположных сторон кольца воткнутыми в землю на глубину около 100 мм концами этой же проволоки (при других характеристиках грунта возможно понадобится другая глубина заглубления концов). Связку тонкой проволокой мест, указанных на рис. 1 стрелками, не применяю. Можно увеличивать высоту положения кольца над поверхностью грунта по мере роста цветоножек, осторожно вытаскивая из земли оба конца. Сохранность ягод при таких фиксаторах гораздо выше, чем без них, так как ягоды грунта не касаются и потому на них меньше заносятся гнилостные бактерии и, особенно, споры грибка серой гнили. Моллюски (улитки, слизни) под такими свободно продуваемыми воздухом и не дающими большой тени подставками тоже меньше размножаются и потому меньше портят ягоды, до которых они большие «любители». Есть, правда, некоторый недостаток этих проволочных подставок: при большом дожде, обильном поливе из шланга или значительных порывах ветра цветоножки из-за достаточной массы ягод могут перегибаться через тонкий провод и надламываться, что приводит к завяданию ягод и прекращению их роста. Однако если увеличить толщину кольца, например пропустив провод через трубку из полихлорвинила (этот материал на воздухе гораздо долговечнее полиэтилена), и опереть тем самым цветоножку на большую площадь, то это значительно предохранит ее от перегибов через тонкий провод. Расход этого провода тоже сравнительно велик, так как на одну подставку требуется около 1,5 м. Да и установка весной таких подставок вокруг каждого куста требует аккуратности и является довольно трудоемкой операцией. Однако этот агрономический прием дает положительный результат и имеет право на применение в садово-огородных условиях с учетом отмеченных его достоинств и недостатков.

Для высоких же растений, например цветков типа лилий, дельфиниумов и других, оказались удобными фиксаторы, формы которых показаны на рис. 2.



Рис. 2. Фиксатор стеблей высоких растений; участки провода на заднем плане изображены штриховыми линиями:

1 — прямой вертикальный участок провода; 2 — нижнее кольцо; 3 — прямой отогнутый наружу участок провода; 4 — второе кольцо; 5 — прямой отогнутый внутрь участок провода; 6 — верхний участок для привязки стеблей, стрелки — места связки тонкой проволокой


Фиксаторы целесообразно изготавливать во внесезонное время (поздней осенью, зимой), ибо летом время на эти работы не остается. Наиболее подходит для таких фиксаторов стальной пруток диаметром 5–6 мм. При его заглублении в грунт он мало повреждает корни растений. Я гнутые провода нужного диаметра и длины (примерно по 3 м) подобрал на свалке около железной дороги, где раскрепляют привязанные таким проводом привезенные на платформах грузы.

Моя технология изготовления фиксаторов такова. Во-первых, надо выпрямить провод ударами тяжелого молотка на какой-либо металлической или бетонной опоре. Затем на длине около 600 мм от низа первого конца 1 (он левый на рисунке) провода делам отгиб под углом 90°, для чего надо зажать провод в слесарных тисках или загибать его ударами тяжелого молотка на массивном бетонном блоке с прямым углом, куске швеллера или рельса. После этого изгибаем кольцо 2 диаметром примерно 150 мм с заходом его на втором обороте на 1/4 длины окружности. Затем пруток 3 отгибаете вверх с небольшим наклоном наружу и через 350–500 мм выгибаем еще одно кольцо 4 по типу нижнего кольца, но диаметром больше — около 250 мм. Здесь же делаем второй отгиб прутка 5 вниз диаметрально противоположно участку 1 и по форме аналогично участку 3, а затем — и участку 1, выравнивая с этим участком снизу по длине. Нижние концы участков полезно заострить на электроточиле. В местах, указанных стрелками на рис. 2, следует подвижно связать все пересекающиеся здесь провода тонким проводом. Это в сочетании с заходами нижнего и верхнего колец на вторые обороты позволяет как несколько увеличивать диаметры этих колец, так и уменьшать их при необходимости. Заглублять оба нижних конца фиксатора нужно диаметрально противоположно вокруг пучка стеблей цветка на глубину около 300 мм. Для предохранения от ржавления и повышения эстетичности таких фиксаторов целесообразно покрасить их масляной краской зеленоватого цвета, предварительно очистив от ржавчины наждачной бумагой. Эти фиксаторы универсальны и удобны в применении, они долговечные и мало травмируют корни растений.

Конечно, такие фиксаторы можно изготовить составными из двух или трех прутков, концы которых надежно связав дополнительной проволокой или соединив электро- или газосваркой между собой. При необходимости можно сделать и третье (верхнее) кольцо, как и изменить указанные выше размеры.

Многие комнатные цветы тоже требуют удержания их высоких стеблей в близком к вертикальному положению. Для этого в грунт цветочной емкости, например глиняного горшка, вставляют почти до дна деревянный или иной держатель и к нему привязывают (шпагатом, киперной лентой, тонкой проволокой) в одном или в нескольких местах по высоте стебли по мере их роста. Но такой держатель портит часть корней при его втыкании он неустойчив (особенно в мокром грунте), неэстетичен. Практика показала, что и здесь наиболее удобны фиксаторы стеблей тоже из стального провода диаметром 3–4 мм. На рис. 3 показана форма фиксатора применительно к керамическому или пластиковому горшкам конических форм.



Рис. 3. Проволочный держатель стеблей комнатных растений в горшке конической формы:

1 — отогнутый короткий участок начала провода; 2 — горшок (его контуры показаны тонкой линией); 3 — нижнее кольцо (его участок на заднем плане, как и другие участки, изображены штриховыми линиями); 4 — отогнутый вверх по образующей формы горшка участок провода; 5 — верхнее кольцо; 6 — участок для привязки стеблей, стрелки — места связки тонкой проволокой


Изготавливать держатель нужно так. Первоначально отогнуть конец провода 1 длиной около 30 мм под углом, несколько меньше прямого. Затем приложить провод отгибом 1 вверх к горшку 2 (его контуры показаны тонкой линией) и обогнуть до отгиба 1 кольцом 3 провод вокруг горшка от его низа на расстоянии 30 мм (участок кольца на заднем плане, как и другие участки на этом плане, изображены штриховыми линиями). Здесь следует провод 4 отогнуть вверх под прямым углом по форме образующей линии внешней поверхности горшка. Не доходя до верха горшка на 20–30 мм, сделать еще одно кольцо 5 вокруг горшка. Тут нужно отогнуть провод вверх и, дойдя до верхнего края горшка, изогнуть провод горизонтально в сторону оси горшка, а через примерно 20 мм отогнуть провод 6 вверх. Горизонтальная часть является важным элементом фиксатора, так как она будет затем опираться на край горшка, не позволяя кольцам 3 и 5 перемещаться вниз под действием общей массы стеблей, листьев и цветков растения. Для более жесткого закрепления фиксатора на горшке следует отгиб 4 делать не доходя примерно на 5 мм до отгиба 1; отгиб провода 6 тоже нужно начинать с подобным зазором от начала кольца 5. В местах стрелок все примыкающие части фиксатора следует туго стянуть между собой проволокой диаметром 1–1,5 мм и скрутить плоскогубцами ее концы, чтобы кольца 3 и 5 плотно охватывали горшок. Верхняя часть отгиба 6, к которой привязывают стебли, может быть прямой или изогнутой соответственно обшей форме стеблей. Два варианта изгиба части 6, вплоть до касания ею горшка с диаметрально противоположной его стороны, показаны точечными линиями. После заготовки фиксатора и окончательной примерки его к горшку целесообразно перед закреплением фиксатора на горшке покрасить провод на длине, примыкающей к горшку масляной краской под цвет горшка, а часть 6 — зеленым цветом. Если горшок изготовлен из пластика, то в месте опоры горизонтальной части провода 6 на стенку горшка полезно сделать вырез вниз на глубину, примерно равную диаметру провода. Это дополнительно закрепит участок 6 в нужном положении на горшке.

В принципе, если горшок изготовлен из пластика (крашеный полиэтилен, полипропилен и др.), то можно кольцо 5 и не делать, а сразу перевести участок 4 в участок 6. Но для закрепления участка 6 на горшке нужно в стенке около ее верха проделать нагретым на газовом пламени шилом два отверстия с обеих сторон провода. Затем продеть несколько раз в эти отверстия тонкую проволоку, каждый раз охватывая ею провод участка 6, и скрутить осторожно плоскогубцами ее концы, не прорезая проволокой стенку горшка.

Если стенка горшка тонкая, то более надежно закрепляют участок 6 к горшку так. Нужно изготовить из металла (жесть, лента, лист) толщиной t = 0,5–1 мм заготовку по форме, изображенной на рис. 4,а.



Рис. 4. Заготовка (а) из тонкого металла и закрепление с ее помощью проволочного фиксатора на стенке горшка (б):

7 — отверстие для прохода участка провода 6; 8 — отверстия для связки тонкой проволокой; 9 — стенка горшка


В верхней плоской части надо просверлить отверстие 7 диаметром, больше диаметра d провода участка 6 на 0,2–0,3 мм, а в вертикальных стенках — два отверстия 8 диаметром 2–3 мм. Примерные размеры заготовки показаны на рисунке. При этом размер C = 2t + d + s + Д, где t и d — обозначены выше, s — толщина стенки горшка, Д ~ 0,5 мм — добавка для запаса посадки заготовки на стенку горшка. Чтобы не происходила коррозия заготовки, следует использовать нержавеющую, луженую или оцинкованную сталь.

Процедура закрепления фиксатора на горшке такова. Изготавливают фиксатор по изложенному выше методу, но только с одним нижним кольцом 3. Затем на участок 4 надевают отверстием 7 заготовкой дела горизонтальный отгиб участка 4 с переходом его в участок 6. Против места посадки заготовки дела сверху стенки напильником или ножом вырез по ширине заготовки 20 мм глубиной около 1,5–3 мм. Затем проволочный фиксатор надевают кольцом 3 на горшок (рис. 4,б), заготовку опускают на стенку 9 горшка до опирания месте выреза в стенке (вырез» для упрощения рисунка не изображен), фиксатор опуска вниз до опирания его горизонтальной частью на верхнюю плоскость заготовки, после чего тонкой проволокой туго стягивают отгиб 1 и начало участка 4 (см. рис. 3). Теперь надо против отверстий 8 просверлить в стенке или проплавить нагретым шилом отверстия, и привязать тонкой проволокой заготовку к стенке, как это описано выше (на рис. 4,б эта проволока не изображена). Целесообразно низ заготовки предварительно осторожно несколько обогнуть вокруг провода, как это показано на рис. 4,б.

Иногда у верха горшка имеется на стенке кольцевой выступ наружу для ее упрочнения. В этой ситуации возможно понадобится дополнительно фигурно изогнуть провод 6 для обхода выступа. Также может потребоваться фигурно изогнуть и наружную стенку заготовки. Но можно этот выступ сточить напильником по ширине заготовки, введя ее затем в эту прорезь. Тогда не надо будет делать прорезь в торце стенки, как это описано выше.

Для получающих всё большее распространение цветочных пластиковых горшков квадратной или прямоугольной формы проволочные фиксаторы изготавливают и закрепляют аналогичным способом.

Практика показала удобство, долговечность и эстетичность применения таких фиксаторов в садовых и домашних условиях.

Желаю успехов всем огородникам и цветоводам!

ЖДЕМ ОТВЕТА!

• Е.Н. Кузьмина, Сахалинская обл.

Не могли бы вы в журнале напечатать о вышивании. Я точно не знаю, как оно называется. Знаю только, что в специальное приспособление вставляют нитку. Когда прокалывают ткань, образуется вытянутая петелька. И так по всему узору. Раньше так моя мама вышивала цветы на ковре самодельном, на думочках. Опишите также, как изготовить крючок. Возможно, он и продается, но я не знаю, как называется. Узор на изделиях получается как бы выпуклым.

Еще я хочу научиться прясть. Напишите подробно об этом.

• Ю.О. Галимский, Курганская обл.

В России начинает вещание цифровое телевидение. В связи с этим хотелось бы узнать об этом поподробнее, в том числе о плазменном и жидкокристаллическом телевидении.

• Г. Нурбак, Дагестан

1. Хочу узнать рецепт изготовления обувного крема (качественного, как во времена советские).

2. Как можно удалить с жестяных полос (на сундуке) налет ржавчины и вернуть первоначальный вид?

3. Расскажите о секретах полировки, покрытия лаками и красками древесины и металла.

• И. Хафизов, Татарстан

Напечатайте, как из трансформаторов старых телевизоров можно собрать блок питания на 12 В (на автомобильный радиоприемник).

Как можно собрать зарядное устройство для зарядки мотоциклетных и автомобильных аккумуляторов? Лучше бы было, если бы эти устройства были регулируемыми по току и напряжению.

• В.Е. Фролов, Башкирия

Напечатайте, пожалуйста, всё о ножницах: бытовых, по металлу, садовых и др.

Как их правильно затачивать и, может быть, ремонтировать?

И еще у меня просьба: повторяйте, пожалуйста, статьи из давних журналов «Сделай сам». Например: В.А. Волков. Заточка бытового инструмента и абразивы; В.В. Ильин, В.Т. Герасимов. Автономное водоснабжение и водяное отопление в сельском доме.

Ваши журналы в библиотеках практически невозможно найти.

• В.А. Михальков, Краснодарский край

Очень прошу опубликовать в вашем журнале, как сделать скрипку? Литературы по ее изготовлению я найти не могу.

В.А. Чумаков, Башкирия

Прошу опубликовать материал о водяных мельницах на малых реках.

• П.Ф. Носков, Мурманская обл.

Мне хотелось бы узнать более подробно о газовых конвекторах. Напишите о них.

* * *

Уважаемые читатели!

Просим нас извинить за вынужденную меру — сдвоенный номер журнала. Причины тому: инфляция, возросшие цены на типографские, почтовые и прочие расходы. Надеемся на Ваше взаимопонимание и дальнейшее сотрудничество.

Поздравляем Вас с наступившим Новым годом! От всей души желаем Вам удачи, счастья и благополучия!

Редакция журнала «Сделай сам»



* * *

В ближайших номерах журнала «Сделай сам» читайте:

• Советы садоводам, огородникам

• Творений нетленная сила (секреты золотого руна)

• Электроустановочные блоки

• Молотилка от ручного привода

• Сантехнические работы

• Такая многоликая дрель

• Арсенал садовода-огородника

• От столба до лампочки

• Умельцу на заметку

и многое другое

* * *

«ЗНАНИЕ» — остается в силе!

Одно из самых известных издательств «Знание» предлагает услуги по изданию научной, научно-популярной, методической, учебной и художественной литературы. А также принимаются заявки на изготовление буклетов, проспектов, художественных альбомов, брошюр и т. д. Принимаются рукописи любой сложности полиграфического исполнения. Качество и своевременность изготовления гарантируем. В активе авторов издательства ученые и преподаватели МГУ им. Ломоносова, Академии государственной службы при Президенте Российской Федерации и ряда других вузов и научно-исследовательских центров.

Оплата работ производится в 2 этапа: предоплата в размере 60 %; оставшиеся 40 % вносятся после выхода издания в свет и подписания акта приема-передачи.

Одновременно можно разместить материалы и рекламу в журналах Издательства: «Сделай сам», «Знак вопроса». На эти журналы вы можете подписаться через каталог Роспечати, а также в Издательстве. Кроме того, есть возможность приобрести издания через систему «Книга-почтой».

Более подробную информацию о наших изданиях вы найдете на сайте: http://izdznan.narod.ru

Почтовый адрес: 101990, Москва, Лубянский проезд, 4, под.4 Контактный телефон /факс: (495) 628-15-31 E-mail: izdznan@mail.ru



* * *

КНИЖНАЯ РАСПРОДАЖА

Уважаемые читатели!

Непосредственно в издательстве «Знание» и через систему «Книга-почтой» вы можете приобрести следующие книги:

Автор ∙ Название ∙ Год издания ∙ Цена* (руб.)

В.В. Ванслов ∙ Искусство и красота ∙ 2006 ∙ 90,00

А.Затонская, А.Коваль ∙ Индекс доверия ∙ 2006 ∙ 100,00

Ванслов В.В. ∙ Образы искусства ∙ 2006 ∙ 80,00

Ванслов В.В. ∙ Отзвуки минувшего ∙ 2004 ∙ 30,00

Ванслов В.В. ∙ Портреты-воспоминания ∙ 2004 ∙ 30,00

Ванслов В.В. ∙ В мире искусства ∙ 2003 ∙ 45,00

Гуревич П.С. ∙ Культурология ∙ 2002 ∙ 20,00

Тадевосян Э.В. ∙ Социология ∙ 2001 ∙ 20,00

Гуревич П.С. ∙ Популярный психологический словарь ∙ 2001 ∙ 20,00

Кудрявцев В.Н. и др. ∙ Исторический лексикон 14–16 века. Книга 1-я ∙ 2001 ∙ 150,00

   ВИЧ-инфекция и СПИД. Информация и практические советы людям с диагнозом ВИЧ и СПИД ∙ 2001 ∙ 40,00

   Пищевая аллергия и пищевая непереносимость ∙ 2001 ∙ 40,00

Прокофьева Ж. и др. ∙ Менеджмент ∙ 2000 ∙ 20,00

   Родить и возродиться ∙ 2000 ∙ 65,00

Боголюбов С.А. ∙ Правоведение ∙ 1999 ∙ 20,00

Тадевосян Э.В. и др. ∙ Политология ∙ 1999 ∙ 20,00

Снегирев Г.Я. ∙ Звери наших лесов. Раскраски 1∙ 999 ∙10,00

Логинова Н.Н. ∙ Ваш винный погребок ∙ 1999 ∙ 15,00

Непомнин О.Е. ∙ Живая история Востока ∙ 1998 ∙ 50,00

Тархова Л. ∙ Как уберечь ребенка от тюрьмы и панели ∙ 1997 ∙ 20,00

   Театр в лицах ∙ 1997 ∙ 20,00

   Наука и человечество. Международный ежегодник 1995-97 г. ∙ 1997 ∙ 20,00

Тадевосян Э.В. ∙ Словарь-справочник по социологии и политологии ∙ 1996 ∙ 20,00

   Невозможная цивилизация? Сборник ∙ 1996 ∙ 30,00

Зигуненко С.Н. ∙ Робинзоны во вселенной — I ∙ 1995 ∙ 20,00

Зигуненко С.Н. ∙ Робинзоны во вселенной — II ∙ 1996 ∙ 20,00

* цены указаны без почтовых расходов

* * *



Уважаемые читатели, друзья!

В издательстве вышла очередная книга известного искусствоведа, академика Академии художеств России В.В. Ванслова "Искусство и красота". Автор посвятил ее вопросам специфики искусства и его отдельных видов, стилям и направлениям в искусстве, в т. ч. романтизму, реализму и авангардизму, отношениям личности художника и его творчества.



Предлагаем также вашему вниманию книгу известного композитора и дирижера В.П. Голикова "Музыкой служу России". В живой, яркой форме автор повествует о судьбах отечественной музыкальной культуры и ее ярких представителях, с которыми ему довелось дружить и творить.

Москва Издательство “Знание"

Эти книги вы можете приобрести непосредственно в издательстве и по системе «Книга-почтой»

Контактный телефон /факс: (495) 628-15-31 E-mail: izdznan@mail.ru

* * *

Стучитесь во врата истины!

Во всем великолепии и неопровержимости она может осенить Вас именно в те минуты и часы, когда Вы вчитываетесь в страницы выпусков научно-популярной серии "Знак вопроса" издательства "Знание"



• Земля и звезды неразделимы?

• Зачерпнем энергию из эфира?

• Кто живет внутри Земли?

• Праматерь Евы — клон?

• Атлантида — повсюду?

• Война и мир с вирусами?

• Пространство — активное, материальное, левитирующее?

На эти и другие, не менее острые загадки вы получите вдохновляющие мысль ответы от авторов "Знака вопроса"

* * *

Редактор: В.В.Маркин

Художники: О.О.Дирдовская

Техн редактор: Т.П.Богданова

Корректор: А.А.Шерстюк

Оформление обложки Е.М.Карташова с использованием фото В.В.Маркина


Издание зарегистрировано в Комитете РФ по печати. Регистрационный № 1828. Подписано к печати 27.12.2007. Формат бумаги 70x100-1/16. Бумага газетная. Гарнитура «Таймс». Усл. печ. л. 11,70. Тираж 5600 экз. Цена в рознице договорная. Заказ 1903. 

Издательство «Знание». 101990, ГСП, Москва, Центр, Лубянский проезд, д.4 Телефон редакции: (495) 628-15-31. E-mail: izdznan@mail.ru

Отпечатано с оригинал-макета издательства «Знание» ОАО ордена Трудового Красного Знамени «Чеховский полиграфический комбинат».

142300, г. Чехов Московской обл. Тел. 8(49672) 6-25-36, факс. 8(496) 270-73-59. Отдел продажи услуг многоканальный: 8(499) 270-73-59. E-mail: marketing@chpk.ru


Оглавление

  • ДЕЛА КРЕСТЬЯНСКИЕ
  •   Творений нетленная сила (секреты золотого руна)
  • СТРОИТЕЛЯМИ НЕ РОЖДАЮТСЯ
  •   Сантехнические работы. Трубы
  • ИНСТРУМЕНТАЛКА
  •   Инструменты и их рукоятки
  • ПРИРОДА И ТВОРЧЕСТВО
  •   Полезных птиц завлекаем в свой сад
  • ЧТО СТАРЕНЬКОГО?
  •   Багеты, карнизы, рамы
  • СЕКРЕТЫ МАРЬИ-ИСКУСНИЦЫ
  •   Полсотни «ленивых» узоров для вязания
  • СПРАШИВАЙ БЫВАЛОГО
  •   Изготовление общего пленочного покрывала на каркас теплицы
  •   Практичные фиксаторы положения стеблей растений
  • ЖДЕМ ОТВЕТА!