Предисловие
Эта книга является продолжением и развитием тех идей, которые были заложены в моей предыдущей книге «Новый взгляд на современную физику и строение мироздания», изданной в середине 2018 года в Германии. Книга вышла на двух языках: на русском и на английском. Это результат более чем сорокалетней работы над основными положениями Специальной и Общей Теории Относительности Эйнштейна. Будучи академиком, действительным членом ЕАН (Europäische Akademie der Naturwissenschaften), Hannover, я представил книгу в Академию на конкурс, и в результате, она, в числе двух других книг, была номинирована на лучшую книгу 2018 года. В новой книге показано, что преобразования Лоренца, как раз легко и просто получаются, если точка перемещается по некоторой произвольной кривой, а не инерциально. Так же показано, что уравнения Лоренца – Эйнштейна, использующиеся в СТО, несложно выводятся исходя из тех же соображений. Теоретически обоснована и показана возможность перемещения в пространстве со скоростями, превышающими скорость света. Объяснён принцип перехода материи через световой (энергетический) барьер. Обосновано существование Мировой среды, приведён расчёт величин энергетического барьера зоны неопределённости, возникающей при переходе через «световой барьер». Приведены точные вычисления величины космологического красного смещения и температуры фонового излучения Вселенной, как результат процессов, происходящих в зоне неопределённости светового барьера («Кипящем слое вакуума»). Предложена гипотеза наличия белых дыр, внутри космических объектов, как источника энергии, материи и магнитного поля. Рассчитаны параметры белых дыр, предложены физические принципы их возникновения и существования. Предложен новый взгляд на строение и состав внутреннего ядра планет. Приведён расчет изменения основных параметров нашей планеты в течение 280 млн. лет в рамках концепции «Растущей Земли». Показана зависимость параметров планет Солнечной системы от излучения белых дыр внутри них. Сделана попытка объяснения изменения магнитных полей планет Солнечной системы во времени и дрейфа их полюсов. Предложена гипотеза наличия белых дыр, во внутренних ядрах звёзд и галактик, как источника энергии, определяющего параметры этих объектов. Дана классификация различных типов белых дыр, в зависимости от типов космических объектов в которых они находятся. Приведена таблица температуры белых дыр, находящихся в центре звезды, в зависимости от её класса и температуры поверхности. Предложено объяснение структуры и состава внутренних ядер квазаров и галактик, их энергетические характеристики, а так же механизма образования джетов.
Введение. Проблемы современной космологии
Мы живём в трёхмерном мире, который, в настоящее время, обозначаем простым и ёмким словом – Вселенная. В Большом энциклопедическом словаре Вселенная определена, как «Весь существующий материальный мир, безграничный во времени и пространстве, и бесконечно разнообразный по формам, которые материя принимает в процессе своего развития. Это мироздание Вселенная, изучаемая астрономией, – часть материального мира, которая доступна исследованию астрономическими средствами, соответствующими достигнутому уровню развития науки (иногда эту часть Вселенной называют Метагалактикой)». Не удивительно, что человечество с незапамятных времён интересовал вопрос о строении Вселенной. В начале 20-го века доминирующее место заняла тория о возникновении и эволюции нашей Вселенной в результате «Большого взрыва». Общепринятая на данный момент космологическая модель, это модель, описывающая раннее развитие Вселенной, а именно – начало расширения Вселенной, перед которым Вселенная находилась в сингулярном состоянии
[1].
Доказательствами «Большого взрыва» стало обнаруженное американским астрономом Весто Слайфером в 1912–1914 годах красное смещение для галактик. В 1929 году Эдвин Хаббл открыл, что красное смещение для далёких галактик больше, чем для близких, и возрастает приблизительно пропорционально расстоянию (закон красного смещения, или закон Хаббла) и объяснил это эффектом Доплера. Однако в последствие выяснилось, что наблюдаемое красное смещение от галактик нельзя объяснить только эффектом Доплера, в него вносит вклад космологическое красное смещение из-за расширения пространства Вселенной. К тому же имеется не только красное но и фиолетовое смещение эффекта Доплера вследствие собственного движения галактик. При этом на больших расстояниях вклад космологического красного смещения становится преобладающим
[2]. Таким образом, на самом деле, основной вклад в красное смещение вносит не эффект Доплера, а расширение самого пространства, причём, это расширение идёт с увеличивающейся скоростью, в зависимости от расстояния до космического объекта – чем он дальше, тем с большей скоростью от нас удаляется. В начале 1970-х годов для постоянной Хаббла было принято значение H=53,5(км/с)/Мпк. Наиболее надёжная оценка постоянной Хаббла на 2013 год составляла H=67,8±0,77(км/с)/Мпк
[3]. В 2016 году эта оценка была уточнена до H=66,93±0,62(км/с)/Мпк
[4]. Следует отметить, что измерения разными методами дают несколько различающиеся значения постоянной Хаббла. Указанные выше значения получены с помощью измерения параметров реликтового излучения на космической обсерватории «Планк». Опубликованные в 2016 году измерения «местного» (в пределах до z < 0,15) значения постоянной Хаббла путём вычисления расстояний до галактик по светимости наблюдающихся в них цефеид на космическом телескопе Хаббла дают оценку в 73,24 ± 1,74 (км/с)/Мпк,
[5].
На самом деле, с развитием наблюдательной астрономии и повышения точности измерений, в красном смещении обнаруживалось всё больше странностей. Так, Аристарх Аполлонович Белопольский, обнаружил в 1887 году асимметрию «Доплеровских» смещений наиболее ярких звезд нашей Галактики ~5 км/сек в направлении апекс – антиапекс Солнца и расхождение между «Доплеровской» и параллактической скоростями Солнца относительно окружающих звезд. Астрофизик В.В. Кэмпбелл, открыл в 1911 году K-эффект – зависимость красных смещений от абсолютных светимостей звезд нашей Галактики. Астрофизик Р. Дж. Трамплер доказал несоответствие K-эффекта эффекту Доплера и отличие его от гравитационного красного смещения. В 1929 году, после открытия Хабблом красного смещения галактик, астрофизик Аристарх Аполлонович Белопольский заявил, что для создания красного смещения галактики не обязательно должны удаляться: изменение спектра галактик вызывает не эффект Доплера, а какое-то иное физическое явление. Астрофизик Г. Арп открыл связанные космические объекты, имеющие сильно разнящиеся красные смещения.
С помощью звезд реперов, неоднократно определяли расстояние до центра Галактики R
0. Однако единого мнения в этом нет. Оценки R
0 находятся в пределах от 6,5 по звёздам подобным RR Лиры до 10 килопарсек по цефеидам. Для построения межгалактической шкалы выбрали цефеиды. Этим методом определены расстояния до некоторых спиральных галактик, находящихся на расстояниях около 10 мегапарсек, где уже заметно системное «Красное смещение» и рассчитана постоянная Хаббла (H), – 50 км в секунду на мегапарсек, в соответствии с этим «определено время расширения вселенной в 13,8 миллиарда лет». Ясность в вопросе о том, по каким звездам реперам расстояния определены правильнее, внес проект HIPPARCOS в котором были определены параллаксы 118000 звёзд в сфере вокруг Солнца радиусом примерно 500 парсек. В этой сфере оказались и цефеиды, причем расстояния до контрольных цефеид оказались гораздо меньшими, иногда не менее чем на четверть меньшими, чем считалось до этого. То есть расстояние до центра нашей Галактики согласно вычислениям, в рамках проекта HIPPARCOS, не больше 6 килопарсек. И расстояния до ближайших галактик имеющих системное «Красное смещение» явно на 40 % меньше принятых.
О том, что размеры нашей Галактики меньше размеров предполагавшихся ранее, на 221-ом заседании Американского астрономического сообщества, заявила Элис Дисон, астроном университета Калифорнии в Санта – Круз. Элис Дисон и ее коллеги ориентировались на самые далекие звезды в гало Млечного Пути. Разброс скоростей у этих звезд и позволил рассчитать массу Млечного Пути в 500-1000 миллиардов солнечных, что вдвое меньше принятой в настоящее время.
Таким образом, если попытаться объяснить красное смещение космических объектов не эффектом Доплера и не гипотетическим расширением пространства, то, как и говорил Аристарх Аполлонович Белопольский, нам придётся найти для этого «какое-то иное физическое явление».
Наиболее яркими «возмутителями» современной теории расширения Вселенной на основе красного смещения являются квазары.
По-видимому, далекие галактики и квазары убегают от нашей Галактики со скоростями, пропорциональными расстоянию до этих объектов. Если эта линейная связь между скоростью и расстоянием справедлива для квазаров, то расстояние до них должно быть порядка 12x10
9 лет, т. е. на три порядка больше предполагаемого радиуса Вселенной
[6]. Существуют и другие данные наблюдений противоречащие утверждению, что по космологическому красному смещению можно судить о расстоянии до космических объектов. Хэлтон Арп – профессиональный астроном который ранее в своей карьере, был ассистентом Эдвина Хаббла. Он был награжден призом Элен Б. Уорнер, Кливлендской Премией Ньюкомба, Премией Александра фон Гумбольдта за высокие научные достижения.
В течение многих лет он работал в обсерваториях Маунт – Вильсон и Паломарской. За это время он создал известный каталог «Специфические (Пекулярныые) галактики», в котором собраны деформированные или «неправильные» галактики. Арп обнаружил, беря фотографии с больших телескопов, что многие квазары, имеющие чрезвычайно высокое красное смещение z (и как думают, удаляются от нас очень быстро, и таким образом должны быть расположены на большом расстоянии от нас) физически связаны с галактиками, которые имеют низкое красное смещение и, как известно, расположены относительно рядом с нами. Арп привёл фотографии многих пар квазаров с высоким красным смещением, симметрично расположенных с обеих сторон галактик с низким красным смещением, которые предполагаются их родителями. Эти соединения происходят намного более часто, чем вероятность случайного совпадения. Подавляющее большинство астрофизиков пробует найти оправдание наблюдений Арпом связанных галактик и квазаров «иллюзиями» или «угловыми визуальными совпадениями». Но, большое количество физически связанных квазаров и галактик с низким красным смещением, которые он сфотографировал и каталогизировал, делает такое совпадение маловероятным. Это просто случается слишком часто.
Из-за фотографий Арпа, предположение, что объекты с высоким красным смещением должны быть очень далеко, на чем основана теория «Большого Взрыва» и вся «стандартная космология», теряют смысл!
Один очень показательный и важный пример в опровержение тезиса «красное смещение равно расстоянию» дает изображение галактики NGC 7319 (смещение = 0.0225). Маленький объект на фотографии этой галактики – это квазар (смещение z = 2.11). Такое наблюдение квазара с таким большим красным смещением между галактикой и Землей возможно только в том случае, если квазар был бы в более чем девяносто раз дальше галактики. На самом деле, как показывают сделанные снимки квазаров, на которых их можно наблюдать, этого просто не может быть. На снимках хорошо видно, как джет, выбрасываемый из центра галактики NGC 7319, тянется прямо к квазару. Это доказывает, что оба объекта расположены рядом, и никак не могут быть удалёнными на огромное расстояние друг от друга, тем более в 90 раз. Арп приводит такое большое количество аналогичных снимков, что от них просто так невозможно отмахнуться. Всё это требует объяснения.
По мнению Арпа, красное смещение вызвано главным образом объектом, являющимся молодым, и только второстепенно из-за его скорости. Поэтому, как считает Арп, квазары не самые яркие, наиболее отдаленные и быстро перемещающиеся объекты в обозримом Космосе, они – самые молодые объекты.
Наряду с космологическим красным смещением, предсказанное в 1948 году Георгием Гамовым, Ральфом Альфером и Робертом Германом реликтовое или фоновое излучение Вселенной, рассматривается как одно из главных подтверждений теории Большого взрыва.
Обычно, приводят общепринятую космологическую модель (горячее расширение Вселенной), описывающую раннее развитие Вселенной, а именно – начало расширения Вселенной, перед которым Вселенная находилась в сингулярном состоянии.
Экстраполяция наблюдаемого расширения Вселенной назад во времени приводит, при использовании Общей теории относительности и некоторых других альтернативных теорий гравитации, к бесконечной плотности и температуре в конечный момент времени в прошлом. Размеры Вселенной тогда равнялись нулю – она была сжата в точку. Это состояние называется космологической сингулярностью (часто космологическую сингулярность образно называют «рождением» Вселенной). Невозможность избежать сингулярности в космологических моделях общей теории относительности была доказана, в числе прочих теорем о сингулярностях, Р. Пенроузом и С. Хокингом в конце 1960-х годов.
Теория Большого взрыва не даёт никакой возможности говорить о чём-либо, что предшествовало этому моменту, потому что наша математическая модель пространства-времени в момент Большого взрыва теряет применимость. Для того, чтобы хоть как-то объяснить этот парадокс, некоторыми учёными (в частности, Стивеном Хокингом) для решения этой проблемы была предложена идея комплексных координат пространства-времени, где измеряемому нами времени соответствовала бы мнимая координата.
Но, несмотря на значительные успехи, теория горячей Вселенной сталкивается с рядом трудностей. Если бы Большой взрыв вызвал расширение Вселенной, то в общем случае могло бы возникнуть сильное неоднородное распределение вещества, чего не наблюдается. Теория Большого Взрыва также не объясняет расширение Вселенной, она принимает его как факт
[7]. Есть также некоторое число наблюдательных фактов, плохо согласующихся с изотропностью и однородностью наблюдаемой Вселенной: наличие преимущественного направления вращения галактик
[8], неоднородности в распределении галактик на наибольших доступных масштабах, ось зла.
С развитием наблюдательной астрономии, появлением всё более мощных телескопов, позволяющих заглянуть вглубь Вселенной, возникает всё больше вопросов к общепринятой космологической модели и к физическим принципам, на которой она базируется. В связи с этим возник ряд других теорий, которые пытаются объяснить строение и развитие Вселенной с других точек зрения.
Я не буду рассматривать все эти теории в рамках данной книги, чтобы не утомлять читателя, а только упомяну о них. Если кого-то эти теории заинтересуют, то их описание можно легко найти в интернете и в библиотеках. Одной из известных и серьёзных теорий является теория, не отрицающая расширения Вселенной, – теория стационарной Вселенной, разработанная в 1948 году Ф. Хойлом, Томасом Голди и Германном Бонди
[9].
Существует так же теория Линде о том, что Вселенная бесконечна и заполнена очень плотной энергией, а наша видимая часть возникла расширением (инфляцией) небольшой части в «пузырёк» (как возникают пузырьки в плотном сыре)
[10].
Теория Ли Смолина о том, что Вселенные возникают от взрыва «сингулярности» внутри
чёрных дыр[11].
Теория Нейла Турока о рождении Вселенных в результате столкновения «бран» (многомерных мембран)
[12].
Существующая инфляционная теория была предложена в 1989 году Аланом Гутом. Однако ключевой вклад в её создание внесли советские и экс-советские астрофизики, такие как, Алексей Старобинский, Андрей Линде, Вячелав Муханови ряд других. Эта теория предполагает рождение множества вселенных вследствие неких инфляционных процессов, правда, как и теория Большого взрыва, просто постулирует этот факт, но не может объяснить физику этих процессов
[13].
Альтернативой Большому взрыву может быть Большая заморозка, предложенная командой физиков из Мельбурнского университета во главе с Джеймсом Кватчем. Они представили модель рождения Вселенной, которая больше напоминает постепенный процесс заморозки аморфной энергии, чем её выплеск и расширение в трёх направлениях пространства.
Учёные из Института теоретической физики «Периметр» считают, что наша Вселенная возникла благодаря коллапсу звезды в некой четырёхмерной вселенной. Результаты их исследования опубликовал журнал «Сайнтифик Американ». Ниайеш Афшорди, Роберт Манн и Рази Пурхасан говорят, что наша трёхмерная Вселенная стала подобием «голографического миража» при схлопывании четырёхмерной звезды.
Такое большое число различных теорий показывает, что, на данный момент, не существует ни одной стройной теории, удовлетворительно объясняющей астрономические наблюдения и космологические измерения в наблюдаемом пространстве. Наоборот, возникают всё новые парадоксы, которые трудно поддаются объяснению. Например, парадокс, обусловленный тем, что в процессе наблюдений за «разбегающимися» галактиками ни разу не было зафиксировано угасание (причем быстрое, мгновенное) галактик в ходе наблюдений за этими галактиками. Такое должно было бы происходить хотя бы с некоторыми из этих галактик вследствие того, что «убегающие» галактики должны были бы «уходить» за световой «горизонт». Это соответствует условию, когда свет уже не доходит до нас, наблюдателей, вследствие наличия некоторого порога возможного наблюдения, за которым скорость убегания галактик уже больше (или, по крайней мере, равна) скорости света. Ничего подобного никогда не наблюдалось и не могло быть зафиксировано по причине отсутствия факта «разбегания
» галактик. Красное смещение должно быть объяснено действием иного механизма.
Еще одно соображение, вынуждающее нас внимательнее присмотреться к модели Большого взрыва, связано с нарушением космологического принципа. Это нарушение неизбежно проявилось бы хотя бы в краевых областях расширяющейся Вселенной, так как именно эти области расширяются не только с гораздо большими скоростями, чем те, в которых находится наша Галактика, но и расширяются с нарастающим ускорением. Это означает, что движение галактик в этом случае совершенно неоднородно, зависит от места наблюдения. Следовательно, космологический принцип не может сохраняться в таких условиях. Но у нас нет никаких оснований, ставить под сомнение сам космологический принцип. Таким образом, и с этой точки зрения модель Большого взрыва не отвечает условиям корректности научной модели.
Теория также предполагает, что соотношение числа частиц и античастиц на первоначальной стадии было таким, что дало в результате современное преобладание материи над антиматерией. Можно предположить, что вначале Вселенная была симметрична – материи и антиматерии было одинаковое количество, но тогда, чтобы объяснить барионную асимметрию, необходим некоторый механизм бариогенеза, который должен приводить к возможности распада протона, чего также не наблюдается
[14].
В современной общепринятой модели расширения космологическая постоянная положительна и существенно отлична от нуля, то есть на больших масштабах возникают силы антигравитации. Природа таких сил неизвестна, теоретически подобный эффект можно было бы объяснить действием физического вакуума, однако ожидаемая плотность энергии оказывается на много порядков больше, чем энергия, соответствующая наблюдаемому значению космологической постоянной
[15].
Введение гипотезы Большого взрыва означает, по сути, отказ от закона Причины и Следствия, что вызывает неприятие у многих учёных. Вот симптомы этого. 22 мая 2004 г. в Интернете и журнале «Нью Сайнтист» было опубликовано «Открытое письмо к научному сообществу» за подписями тридцати трёх ученых с мировой известностью. В письме говорится о фундаментальных проблемах теории Большого взрыва и о неоправданном ограничении космологических исследований только рамками теории Большого взрыва. 15 марта 2014 г в Австралии вышел документальный фильм «Что было до Большого взрыва», в котором пять известных космологов попытались наметить выход из тупиковой научной ситуации, вызванной теорией Большого взрыва. Есть и другие примеры.
Ряд современных учёных, как в России, так и на Западе считает, что гипотеза Большого взрыва, действительно, вызывает очень много неразрешимых вопросов и приводит к тупиковой ситуации. Следующие понятия: стандартная модель, инфляция, тёмная материя, тёмная энергия, возраст звёзд, галактик и самой Вселенной, не согласующиеся с результатами астрономических наблюдений и ряд других появились на свет вынужденно, для обоснования непротиворечивости теории Большого взрыва.
С давних пор господствовало непоколебимое представление, что галактики и звезды произошли и происходят из газопылевой материи в процессе ее сгущения (конденсации). Рассуждения были просты: никаких других причин, кроме закона всемирного тяготения, во Вселенной нет, и все, что мы наблюдаем – это, в конечном итоге, результат действия этого закона. Почти все астрономы мира незыблемо придерживались этой теории сотни лет, расширяя и совершенствуя ее. Однако в пятидесятых годах прошлого столетия президент Международного астрономического союза, неоднократный лауреат государственных премий, действительный член 17-ти национальных академий иностранных государств, один из основоположников теоретической астрофизики, отмеченный рядом высших государственных орденов академик АН СССР В.А. Амбарцумян установил и неопровержимо доказал наличие совершенно противоположного процесса во Вселенной – повсеместного образования звезд и галактик из сверхплотной материи, которая катастрофически взрывается и распадается. При этом вещество переходит из сверхплотного состояния в менее плотное. Сделать такой вывод ему удалось благодаря доскональному изучению нестационарных процессов во Вселенной. Однако эта концепция длительное время упорно не принималась многими астрономами, пока бесчисленные наблюдательные данные, в том числе и собственные наблюдения, не убедили их в этом
[16].
До сих пор некоторые сторонники первого, так называемого классического направления, все еще упорно пытаются обнаружить во Вселенной процесс конденсации, сгущения и тем самым опровергнуть концепцию Амбарцумяна. Пока им этого не удается.
Драматическая битва идей продолжается и сегодня. Правда, по кантовскому определению, концепция Амбарцумяна уже прошла сквозь времена «не замечания» и опровержения и сейчас вошла в период улучшения и приспособления к теориям черных дыр и аккреции вещества: с поразительной беспринципностью все наиболее мощные активные ядра галактик Амбарцумяна (например, М87 и др.) переименовываются в черные дыры.
Отчетливый, гигантский выброс из ядра огромной галактики (NGC 4486,) в свое время произвел на Амбарцумяна неизгладимое впечатление масштабностью процесса. Эта гигантская радиогалактика имеет в оптических лучах особенность, которая ее выделяет среди других эллиптических галактик: из нее исходит голубая струя со сгущениями, которые испускают поляризованное излучение. Тот факт, что струя исходит из центра, не оставляет сомнения в том, что здесь идет выброс из ядра галактики.
С другой стороны, наличие поляризации излучения сгущений, измеренной Бааде, указывает на то, что механизм свечения, если не полностью, то частично аналогичен механизму свечения Крабовидной туманности. Это означает, что излучение выброса имеет нетепловое происхождение, а спектр сгущений является непрерывным. Отсюда следует, что в сгущениях струи источником излучения являются не только звезды, но и диффузное вещество, находящееся в том же состоянии, что и вещество Крабовидной туманности. Иными словами, в этих сгущениях можно предполагать значительное количество электронов высокой энергии. Вскоре стало понятно, что источники радиоизлучения расположены по всему объему самой галактики. Возможны два предположения:
Либо, релятивистские электроны были непосредственно выброшены из ядра галактики. Или, из ядра выброшены объекты, которые являются источниками релятивистских электронов столь высокой энергии, что их синхротронное излучение сосредоточено в оптической области.
Ограничиться первой гипотезой невозможно, поскольку в этом случае нельзя будет понять сосредоточение оптического излучения в малом объеме сгущений. Поэтому надо думать, что источники, испускающие электроны высокой энергии сосредоточены в самих этих сгущениях. Таким образом, Амбарцумян еще в 1950-х годах приходит к пониманию природы рассматриваемых сгущений на джете. Они являются конгломератами облаков релятивистских электронов газовых облаков и нестационарных звезд. Причем нужно заметить, что выброшенная из ядра материя в короткий срок превращалась в подобные конгломераты. Эмиссионная линия, наблюдаемая в области ядра М87, дает, по-видимому, представление о скорости выбросов из ядра. Амбарцумян оценивает порядок сроков, в течение которых могут происходить подобные превращения. Они оказываются порядка 3·10
6 лет. Отсюда Амбарцумян делает важный вывод: наряду с делением ядер галактик в природе могут происходить процессы выбросов из ядер галактик относительно небольших масс. Эти выброшенные массы могут в короткие сроки превращаться в конгломераты, состоящие из молодых нестационарных звезд, межзвездного газа и облаков частиц высокой энергии.
Галактика М87 с отчетливым выбросом из ядра и, особенно со сгущениями на джете, представляла блестящую демонстрацию нестабильности и активности ее ядра. Возможность выброса масс из ядер, предсказанная Амбарцумяном, удивительным образом подтвердилась спустя 50 лет: на космическом телескопе Хаббл в 2002–2006 годах был зарегистрирован колоссальный взрыв сгущения, ближайшего к ядру галактики М87. За шесть лет светимость на этом сгущении возросла в 90 раз! К сожалению, Амбарцумяна уже не было в живых, и он не смог обрадоваться воплощению своего предвидения…
[17].
Приведенные наблюдательные факты (Арп, Амбарцумян) подтверждают: из ядер (центров) галактик и собственно квазаров происходит выброс мощных, коллимированных джетов: например, на фото «Взрыв на джете галактики М87». Здесь можно усмотреть относительно «неподвижное» сгущение, которое увеличилось в размере и светимости в 90 раз за 6 лет! Причем очевидна связь динамичного развития сгущения с распространением строго коллимированного джета. Усматривается также импульсный, прерывистый характер выбросов – джетов.
Протяженность видимого следа джета М87 оценивается примерно в 5000 световых лет. Ясно, что сгущения – взрывы на джете обязаны своим происхождением свойствам самого джета. Невозможно представить строго коллимированный (не расплывающийся) джет состоящим из сжатого вещества в любой форме: пыль, газ, плазма. Упомянутыми свойствами, включая образование сгущений – «конгломератов облаков релятивистских электронов, газовых облаков и нестационарных звезд» может обладать только джет в полевой форме. На эту роль может претендовать гамма-джет, состоящий из коллимированных, когерентных гамма-лучей. Цилиндрическая поверхность гамма-джета, обладающая экстремальной напряженностью электрического поля, создает на границе с физическим вакуумом вещество, начиная с нейтронов, которые распадаются (через 15 минут) на протон, электрон и антинейтрино. Рождению ЭЧ – элементарных частиц сопутствует образование сплошного спектра ЭМ излучения широкого диапазона, включая оптическое (что-то похожее на сплошной спектр «тормозного излучения»). Зона сплошного спектра перемещается с джетом со скоростью света. Облака релятивистских электронов «выдают» синхротронное излучение при криволинейном движении вокруг «силовых линий» магнитного поля как по ходу движения (джета), назад и в других направлениях (почти подобно полоидальному вращению вокруг вихревого кольца).
Все эти факты ставят под сомнение, что виновниками данных процессов являются чёрные дыры, находящиеся в ядрах этих космических объектов. Исходя из современной теории образования и развития чёрных дыр, они на такое не способны. Необходимо искать другое объяснение этим явлениям, иные источники возникновения джетов.
Для того чтобы разобраться в описанных выше парадоксах и несоответствиях в теории основной космологической модели Вселенной, было бы неплохо попробовать предложить иные физические принципы существования красного смещения, не связанные с разбеганием галактик и эффектом Доплера, по иному объяснить механизм фонового излучения Вселенной и решить ещё ряд вопросов, например таких, как наличие источника энергии, которая должна расходоваться на поддержание эволюционных процессов во Вселенной, вопреки Второму началу термодинамики, и объяснить: почему этот закон не действует в масштабах Вселенной?
Ещё со времён М.В. Ломоносова известно, что энергия, как и материя не может возникать из ниоткуда и исчезать в никуда. Этот принцип наиболее ясно изложен во Втором начале термодинамики. Название «Второе начало термодинамики» и исторически первая его формулировка принадлежат Рудольфу Клаузиусу, который сформулировал его в 1850 году: «Невозможен процесс, единственным результатом которого является получение системой теплоты от одного тела и передача её другому телу, имеющему более высокую температуру, чем первое» («Теплота не может переходить сама собой от более холодного тела к более тёплому»)
[18]. В современной формулировке согласно Второму началу термодинамики, любая физическая система, не обменивающаяся энергией с другими системами, стремится к наиболее вероятному равновесному состоянию – к так называемому состоянию с минимумом свободной энергии, или максимумом энтропии.
На основании этого в 1865 году Клаузиус сформулировал вывод о тепловой смерти Вселенной
[19]. Клаузиус сформулировал идею о «Тепловой смерти Вселенной» следующим образом. В космосе имеются горячие звёзды и холодное окружающее пространство, со временем звёзды должны остыть, а окружающее пространство немного нагреться, уровни энергии выровняются, не будет возможности совершить работу и наступит «Тепловая смерть Вселенной».
На основании Второго начала термодинамики доказана невозможность создания Вечного двигателя второго рода. То есть, для поддержания протекания или развития любого физического процесса необходим подвод энергии извне, в противном случае, возможен только постепенно затихающий процесс с диссипацией энергии в пространстве. Иными словами, в замкнутой системе (которой, как считается, является наша Вселенная) без поступления энергии возможны местные локальные эволюционные процессы на уровне флуктуаций, в такой системе в целом могут протекать только процессы деградации. Вследствие чего, как писал Клаузиус, всё это должно привести к затуханию всех физических процессов.
Но, в реальности, мы наблюдаем активные эволюционные процессы, происходящие во Вселенной, образование новых галактик и звёздных систем, развитие ряда космических объектов. Отсюда следует вывод о не замкнутости Вселенной и об источниках энергии, которые обеспечивают возможность протекания эволюционных процессов. Попытка решить эту проблему на уровне загадочной «Тёмной энергии», на самом деле ничего не объясняет.
Анализ движения материальных объектов в трёхмерном пространстве на субсветовых скоростях
Попробуем разобраться в этих проблемах, взглянув на происходящие во Вселенной процессы с несколько иной точки зрения.
В начале 20-го века триумфальное шествие физики Ньютона было нарушено появлением уравнений Максвелла, которые меняли свой вид при переходе от одной инерциальной системы координат к другой, если правила этого перехода задавать классическими преобразованиями Галилея.
Затем последовал знаменитый опыт Майкельсона – Морли по обнаружению эфирного ветра, который не обнаружил интерференции там, где она должна была быть. Эти два события явились толчком к появлению уравнений Лоренца – Эйнштейна и созданию Специальной теории относительности (СТО), которая, несомненно, оказалась революционной и внесла неоценимый вклад в дальнейшее развитие мировой науки.
Для вывода этих формул пришлось ввести четвёртую координату – время, создав шесть плоскостей, но решение этих уравнений велось только в плоскости xt
[20]. Попробуем разобраться в уравнениях Лоренца – Эйнштейна для СТО, исходя из физики Ньютона и преобразований Галилея, но с учётом конечности скорости передачи воздействий.
На данный момент известно, что Земля движется в пространстве, совершая обороты вокруг собственной оси, со средней скоростью – 0,46 км/с, перемещается по эллиптической орбите вокруг Солнца со средней скоростью – 30 км/с, летит в космосе вместе с Солнечной системой вокруг центра масс Галактики со средней скоростью –
220 км/с, смещается вместе с группой связанных галактик в направлении Кластера Норма или Великого Аттрактора – приблизительно со средней скоростью 627±22 км/с
[21].

Составляющие траектории движения Земли
1 – Вращение Земли вокруг собственной оси.
2 – Перемещение Земли в пространстве вокруг Солнца.
3 – Перемещение Земли в пространстве вместе с Солнцем вокруг Галактики.
4 – Перемещение Земли в пространстве в направлении Великого Аттрактора.
Таким образом, очевидно, что Земля движется по некой кривой с огромной скоростью, с постоянным смещением относительно прямолинейной траектории, по которой распространяется в вакууме световой луч (точка на сфере распространения светового луча, радиально удаляющаяся от центра). Поэтому, направлять одно плечо интерферометра вдоль орбиты Земли не имеет смысла, так как на самом деле интерферометр вместе с Землёй будет двигаться со смещением относительно светового луча, независимо и прямолинейно распространяющегося в пространстве. Причём, с учётом длины этой траектории, действительно, можно принять её за прямую (как это сделали Майкельсон и Морли).
И, если принять, что существует некая Мировая среда – поле, заполняющее пространство (вакуум), в котором, возбуждаемые источником электромагнитные волны, распространяются со скоростью света (скоростью распространения фронта электромагнитной волны в вакууме), являющейся максимально возможной для данной среды. То все виды воздействий и взаимодействий относительно этой среды между материальными частицами в пространстве происходят со скоростью света в вакууме. Стоит сразу оговориться, что это не отменяет того факта, что для наблюдателя, находящегося в движущейся относительно среды системе, скорость света не будет постоянной, так как для него одновременно и пропорционально меняются как путь, который проходит фронт электромагнитной волны, так и время протекания физических процессов. Но ни сама среда, ни фронт такой волны, распространяющейся в этой среде, не зависят от скорости и траектории движения источника, вызвавшего возмущение в этой среде
[22].
Обратимся к опыту с интерферометром Майкельсона – Морли, с которого начались уравнения СТО, и рассмотрим его подробно. Поскольку физики конца 19-го, начала 20-го века были увлечены неинерциальными системами, то и Майкельсон с Морли постарались привести условия опыта к прямолинейному, равномерному движению. Они направили одно плечо интерферометра вдоль орбиты Земли, а второе перпендикулярно к ней, полагая, что из-за большой разности скоростей света и движения Земли по орбите, соотношения длины плеча интерферометра и орбитального радиуса Земли, кривизной траектории орбиты можно пренебречь.
Предполагается, что одно плечо направлено вдоль движения Земли по орбите вокруг Солнца, а второе – перпендикулярно к ней. Тогда пути, пройденные светом в продольном и перпендикулярном направлении не равны, следовательно, из-за разности хода лучей должна быть интерференция, которая в опыте не наблюдается
[23].
На самом деле, из-за того, что Земля в реальности движется со смещением, и зеркало на конце интерферометра будет смещаться по некоторой произвольной траектории, говорить о каком-то преимущественном направлении плеч интерферометра не имеет смысла. И тем более, не имеет смысла рассматривать движение вдоль орбиты Земли вокруг Солнца, так как зеркала на концах плеч интерферометра относительно Мировой среды (вакуума), в котором перемещается фронт световой волны, будут перемещаться, как мы уже видели, совсем по другой траектории.
Самое интересное, что отсюда легко получаются уравнения Лоренца – Эйнштейна, но при этом не нужно вводить время в качестве четвёртой координаты, можно обойтись тремя метрическими координатами, оставаясь в рамках классической физики Ньютона. Этот вывод сделан в моей книге, изданной в Германии
[24]. (Единственным отличием от физики Ньютона будет то, что там не учитывается скорость распространения взаимодействия). Но эти уравнения тогда будут уже иметь несколько иной физический смысл. Причём, если мы не будем учитывать реальное смещение зеркала, а будем по прежнему считать, что луч (точка на фронте световой волны) движется вдоль плеча интерферометра прямолинейно, то у нас будет, как бы, мнимое сокращение длины плеча интерферометра, а на самом деле – мнимое сокращение длины пути, пройденного светом.
Поскольку теперь мы понимаем, что все процессы нужно рассматривать относительно распространения фронта электромагнитной волны в Мировой среде (вакууме), а все физические тела или частицы перемещаются с некоторыми скоростями по некоторым траекториям относительно этой среды (вакуума), то Мировую среду мы можем определить, как абсолютную систему отсчёта, в которой распространяется воздействие независимо от других систем, и относительно которой движутся все остальные системы отсчёта. Тогда мы можем рассматривать время, как скорость (интервал) изменения физических, химических, информационных и т. д. процессов, т. е. как скорость передачи воздействия в зависимости от скорости перемещения объекта в трёхмерном пространстве.
Таким образом, все физические, химические и т. д. процессы на объекте, которые, естественно, зависят от скорости передачи воздействия (энергии, силы внутренних связей и т. д.) будут зависеть от скорости перемещения материального объекта относительно Мировой среды, или изменяться по сравнению с другим объектом, движущимся с отличной от него скоростью. Чем выше будет скорость перемещения объекта относительно Мировой среды, в которой это воздействие осуществляется, тем больше будет замедляться время протекания этих процессов внутри объекта.
А теперь рассмотрим вопрос: может ли частица двигаться со скоростью выше скорости света? Оказывается – может. Из обсуждения выше мы видели, что воздействие распространяется со скоростью света прямолинейно, а, поскольку, частица движется немного по криволинейной траектории, то её физические параметры не достигнут критических значений при скорости численно равной скорости света. Тогда, если, частица движется со скоростью распространения световой волны, мы получаем случай, когда тело (частица) движется со скоростью численно большей, чем скорость света. В том случае если скорость частицы будет не численно, а реально равна скорости перемещения световой волны в Мировой среде (вакууме), то воздействие внутренних сил на частицу прекратится, материя при этом должна распасться на элементарные составляющие. Почему этого не произойдёт, мы увидим дальше.
Рассмотрим теперь зависимость силы воздействия на частицу от скорости её перемещения. То есть, попробуем разобраться: действительно ли увеличивается масса материального тела (частицы) с увеличением скорости его перемещения в Мировой среде? Отметим тот факт, что при регистрации какого-либо события, происходящего в какой-то точке пространства, наблюдатель, получая информацию об этом событии, интерпретирует его в зависимости от той физической модели, которую он использует, и в зависимости от его понимания физических процессов, происходящих в пространстве.
Допустим, частица, вылетевшая из источника, находящегося в некой точке, со скоростью v, должна попасть в детектор, расположенный в другой точке пространства, допустим, А, измеряющий энергию этой частицы. Наблюдатель, зная, что частица перемещается независимо от источника, но считая, что частица и детектор движутся в пространстве прямолинейно, предполагает, что оба они окажутся в точке А. На самом деле и частица и детектор, вследствие смещения, встретятся в точке В.
Зная массу частицы, расстояние, которое, по его мнению, должна пролететь частица, и время, за которое частица достигнет детектора, наблюдатель может вычислить ожидаемую силу, которую необходимо приложить к частице в поле детектора, чтобы затормозить её до полной остановки в точке А. Но в реальности, за это же время, частица, сместившись в точку В, пролетит большее расстояние, и, следовательно, будет иметь скорость превышающую расчётную. Наблюдатель с удивлением обнаружит, что для того, чтобы остановить частицу, пришлось приложить силу большую расчётной. Предполагая, согласно его физической модели, что масса частицы зависит от скорости, он решит, что получил экспериментальное подтверждение этой модели. Посмотрим, что получается в действительности, если мы учитываем смещение движения частицы?
Сила, которую экспериментатор рассчитывает затратить на остановку частицы, равная F
1, на самом деле, из-за смещения частицы, будет силой, которую необходимо реально затратить на остановку частицы, и равняется F
2, так как, из-за смещения, частица за то же самое время пройдёт большее расстояние, и, следовательно, будет иметь большую скорость, то и ускорение, которое нужнобудет погасить за то же время будет большим, чем считает наблюдатель.
Таким образом:
– Чем больший путь необходимо пройти частице, в зависимости от её скорости, по сравнению с системой которую мы считаем неподвижной, или движущейся прямолинейно – равномерно, тем большую силу, по сравнению с расчетной, нужно приложить, чтобы затормозить частицу.
– Увеличение силы воздействия на частицу, при её торможении, зависит от увеличения скорости частицы, по сравнению с расчётной, вследствие её смещения. И, как следствие, от увеличения ускорения, которое необходимо погасить. Масса частицы остаётся неизменной и не зависит от скорости перемещения частицы. Те же самые соображения справедливы, когда нам нужно разогнать частицу (объект) до необходимой скорости.
Вместо формулы силы воздействия, зависящей от изменения массы, фигурирующей в СТО, мы получаем формулу силы воздействия, зависящую от ускорения частицы, перемещающейся в пространстве, со смещением.
Поэтому, при передаче воздействия из какой-либо точки пространства со скоростью света на частицу, движущуюся со смещением, время на передачу этого воздействия будет тем больше, чем выше скорость частицы. Следовательно, время, затрачиваемое на передачу этого воздействия, возрастает, а сила самого воздействия в единицу времени из-за уменьшения ускорения, уменьшается. И чтобы компенсировать это, нам нужно приложить большую силу, что эквивалентно кажущемуся увеличению массы частицы. И при скорости тела (частицы) равной скорости распространения воздействия в Мировой среде, сила воздействия на тело (частицу) или внутри самого тела (частицы) исчезнет.
Поэтому, подставив в формулы, аналогичные формулам Лоренца – Эйнштейна граничное условие v = c, мы получим:
S=∞, t=∞, F=0,
где, S – путь, который проходит воздействие,
t – время воздействия,
F – сила воздействия.
Путь, который должно пройти воздействие в Мировой среде (вакууме), чтобы воздействовать на частицу будет бесконечно длинным, интервал времени воздействия бесконечно большим, и сила воздействия будет, соответственно, равна нулю. Но на самом деле этого не произойдёт, так как частица, достигшая скорости, численно равной скорости света, попадёт в зону неопределённости и преодолеет световой барьер. Как это происходит, описано дальше.
Анализ движения материальных объектов в четырёхмерном пространстве на гиперсветовых скоростях
А что произойдёт, если подставить в эти формулы скорость, при которой скорость частицы больше скорости света? Нетрудно заметить, что такая подстановка даёт под корнем отрицательное число. Что это означает? Что это не имеет физического смысла? Да, не имеет, математически – в области действительных чисел, физически – в нашем трёхмерном мире. Но это имеет решения в области комплексных чисел i, или в плоскости комплексных переменных, что, по сути своей, равносильно появлению новой плоскости или проведению новой оси, или нового измерения. (К трем координатам пространства, характеризующимся тремя вещественными числами, добавляется четвёртая – мнимая, но тоже метрическая). (Для того чтобы объяснить симметрию пространства – времени в точке сингулярности, Стивен Хокинг, тоже предложил ввести мнимые координаты). Естественно, мы не можем провести эту ось в нашем трёхмерном мире, это возможно сделать только в четырёхмерном пространстве (гиперпространстве).
Гиперобъём будет касаться любой точки нашего трёхмерного пространства, так же, как объём касается любой точки плоскости. В гиперобъёме может уместиться любое количество объёмов.

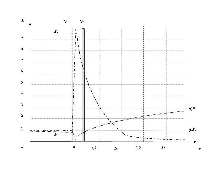
Графики изменения энергетических и пространственно-временных характеристик среды при субсветовых и сверхсветовых скоростях перемещения частицы в пространстве
Здесь, v – скорость;
M – характеристики материальных свойств M=f(S,t,F),
с – скорость света;
v
p,v
pi – границы межпространственного барьера (зоны перехода) материи из трёхмерного в четырёхмерное состояние;
S,t – расстояние и время;
F – воздействие.
На графике хорошо видна зона перехода, или светового барьера. Материя переходит через этот барьер в другое состояние и измерение.
Из формул с комплексными переменными, полученными при подстановке скорости выше скорости света, так же видно, что в гиперпространстве частица может двигаться со скоростью сколь угодно большей скорости света относительно трёхмерного пространства, но при этом её физические характеристики будут иными. Мы можем назвать эту область существования материи – Тахионной
[25]. На этом графике область, лежащая в диапазоне скоростей от 0 до с будет трёхмерной областью существования материи, а область от с до ∞ четырёхмерной, или Тахионной.
Теперь попробуем разобраться, что происходит с материальным телом, когда оно подходит к «световому» барьеру. Во-первых, мы уже отмечали, что при достижении телом скорости численно равной скорости света, оно будет всё – равно двигаться медленнее фронта световой волны, так как свет распространяется в вакууме по прямой, а тело движется по криволинейной траектории.
Это означает, что передача различных сил взаимодействия внутри тела, и воздействия полей на само тело, всё ещё будет осуществляться, не смотря на то, что тело будет двигаться в вакууме со скоростью численно равной скорости света. Оно прекратится только тогда, когда скорость перемещения тела сравняется со скоростью распространения фронта световой волны и, фактически, его собственная скорость численно превысит скорость света. Как это ни парадоксально звучит, но частица, перемещающаяся в пространстве со скоростью численно равной скорости света, всё равно будет двигаться медленнее, чем свет.
Описание процесса перехода через световой барьер
К чему это приводит, мы рассмотрим чуть далее, а сейчас попытаемся описать сам процесс перехода через световой барьер. Мы исходим из того, что всё взаимодействие в нашем трёхмерном мире происходит и передаётся в Мировой среде через посредство полей со скоростью света. Отсюда следует, что материя в трёхмерном состоянии (так как мы её знаем) не может существовать при скорости выше скорости света, так как физические процессы (например, короткодействующие внутриядерные силы) не будут успевать происходить. Материя должна будет перейти в иное, четырёхмерное состояние, где скорость передачи воздействия, относительно нашего мира, происходит гораздо быстрее. И в этом пространстве её взаимодействие с окружающей средой изменится, что нам и показывает правая часть графика. Зона перехода через межпространственный барьер будет иметь переходные квазичетырёхмерные свойства. В Тахионной области границы этой зоны будут размыты, с нашей точки зрения, в связи с появлением четвёртой координаты и дополнительной степени свободы. С энергетической точки зрения материи выгоднее пересекать этот барьер из Тахионной области, так как четырёхмерное пространство имеет более высокий, относительно трёхмерного, энергетический потенциал. (В гиперпространстве у частицы будет больше степеней свободы).
Элементарные частицы, преодолевающие этот потенциальный барьер, и попадающие к нам из четырёхмерной или Тахионной области пространства, влетают с начальной скоростью, практически, равной скорости распространения света в нашем пространстве. Отсюда следует справедливость формулы E=mc
2 для таких элементарных частиц. С некоторой долей вероятности, как мы увидим дальше, можно утверждать, что такими частицами являются нейтроны, которые потом могут разделяться на протон, электрон и электронное нейтрино, и кварки.
Откуда же у частицы, пересекающей световой барьер, берётся дополнительный импульс? Для перехода частиц из одного состояния в другое требуется создание определённых условий, вероятнее всего, очень высокой температуры и давления, сконцентрированных в относительно небольшом объёме. Такие условия могут возникать, например, внутри ядер галактик, звёзд или других достаточно массивных небесных тел (крупных планет), разогретых внутри, как минимум, до температуры плазмы. «Кипение вакуума», т. е. постоянное возникновение и исчезновение в нём частиц можно объяснить равновесным состоянием между Вселенной и гиперпространством, наподобие постоянного появления и исчезновения частиц над стаканом с водой, вследствие равновесия парциального давления пара над водной поверхностью. Но, если в равновесной зоне потенциального барьера нарушается равновесие в приграничном слое вакуума, то частицы могут преодолеть гиперпространственный барьер и появиться в нашем пространстве. Мы можем говорить о возникновении некой локальной ячейки неравновесности, через которую в трёхмерное пространство поступает материя и энергия в виде потока элементарных частиц (нейтронов, кварков) из гиперпространства. При таком процессе, при появлении частиц в нашем пространстве, появляется дополнительное небольшое количество энергии E
G вызывающее импульс вращения P
G, этих частиц. Пространственный импульс движения частицы в гиперпространстве можно разложить по четырём координатным осям X,Y,Z,G.
При переходе частицы через гиперпространственный барьер, импульс движения частицы в трёхмерном пространстве, движущейся по некоторой кривой, раскладывается по трём осям. Четвёртая составляющая импульса, в таком случае, превратится в импульс вращения частицы, так как у нас исчезает четвёртая координата и плоскость, и дополнительный импульс, направленный вдоль оси в гиперпространстве даёт вращение в трёхмерном пространстве. (Импульс в плоскости есть вращение).
Таким образом, частицы, преодолевая световой барьер, и, появляясь в трёхмерном пространстве, получают два импульса движения – вперёд, по некоторой трёхмерной траектории, и импульс вращения вокруг собственной оси. То есть, частица начинает двигаться вперёд, одновременно вращаясь.
Импульс входа частицы в наше пространство, будет равен двум импульсам: p
xyz=mc
x+mc
y+mc
z и импульсу вращения p
ω = mω
r. Если этот процесс происходит непрерывно внутри космических объектов, то поток этих частиц будет постепенно раскручивать объект. При этом вследствие взаимодействия частиц в зоне неопределённости, могут возникать небольшие флуктуации энергии, например, при осцилляции нейтрино, которые могут выделяться в трёхмерном пространстве и излучаться в виде электромагнитной энергии, воспринимаемой нами, как фоновое излучение вакуума.
Теперь рассмотрим, почему же частица, достигающая скорости света, не распадается, а преодолевает световой барьер? Мы уже обращали внимание на то, что частица, достигшая скорости света, всё – равно движется медленнее, чем свет, т. е. короткодействующие внутриядерные силы ещё продолжают работать. Но на этом этапе на тело (частицу) уже начнут действовать гиперпространственные силы, которые не дадут телу (частице) распасться. И, по мере того, как будут ослабевать силы воздействия трёхмерного пространства, будут возрастать силы воздействия гиперпространства. Назовём зону скоростей, вблизи скорости света – зоной неопределённости. Граница зоны неопределённости в трёхмерном пространстве начинается там, где график силы воздействия на частицу имеет резкий перелом. На частицу, попадающую в эту зону, постепенно прекращают действовать силы трёхмерного пространства, но уже начинают действовать силы Тахионного.
Наконец, при достижении частицей скорости распространения света в трехмерном пространстве, силы, действующие в 3D пространстве исчезнут, и частица, преодолев «световой барьер», уже в четырёхмерном метрическом пространстве (гиперпространстве) будет удерживаться силами действующими там.
Обмен материей и энергией между Вселенной и гиперпространством
Рассмотрим процесс перехода через световой барьер подробнее. Сила или энергия воздействия на частицу, превышающую скорость, численно равную скорости света в зоне неопределённости, зависит от кривизны траектории частицы. Поглощение энергии и материи гиперпространством из Вселенной может происходить через чёрные дыры, где частицы могут, падая в чёрную дыру, разгоняться до скорости, численно превышающей скорость света и переходить в четырёхмерное состояние. Вследствие различных траекторий входа в область зоны неопределённости, там, из-за возникающих при этом флуктуаций энергии, должны возникать колебания силы воздействия (осцилляции), что, в свою очередь, приведёт к осцилляции выделения (в случае перехода из гиперпространства в нашу Вселенную), или поглощения (при обратном переходе) энергии. В таком случае, эту зону мы можем назвать – зоной вариативности, а выделяющуюся или поглощающуюся энергию – энергией вариативности (осцилляции).
Осцилляция выделения энергии, происходит одновременно с поступлением материи через ячейку неравновесности из гиперпространства в нашу Вселенную или из нашего трёхмерного пространства в тахионную область. Это приводит к тому, что в ячейке неравновесности возникают колебания, зависящие от ряда параметров, как самой ячейки, так и изменения плотности вакуума, приводящие к возникновению и распространению пространственных волн в Мировой среде. Частоту этих колебаний, возникающих в зоне неопределённости, можно назвать вариативной частотой.
(Все формулы, расчёты и графики для предыдущих абзацев, приведены в моей работе под номером 24 в списке литературы в конце этой книги, так как возникли трудности с размещением их на ресурсе ЛитРес).
Температура фонового излучения Вселенной
Ещё в 1930 году Поль Дирак предложил концепцию «Кипящего слоя вакуума» (Море Дирака), где появляются и исчезают частицы. Такое поведение вакуума проявляется в различных наблюдаемых эффектах. «Активность вакуума проявляется в искажении сил, действующих между частицами»
[26]. Поскольку гиперпространство контактирует с любой точкой нашего трёхмерного пространства, то такой «слой» или такая «граница» будут объёмными. Частицы, появляющиеся из гиперпространства и проходящие через «световой барьер», но не имеющие достаточно энергии, чтобы преодолеть потенциальный барьер, возвращаются обратно, рекомбинируя с оставшимися по ту сторону «светового барьера» «дырками». Этот процесс с физической точки зрения похож на энергетическое равновесие из-за равновесия парциального давления газов над поверхностью жидкости, или на равновесное состояние электронов и дырок в пограничном слое полупроводников. Однако можно предположить, что при этом, в пограничном слое вакуума всё-таки выделяется небольшая энергия из-за возникновения флуктуаций в зоне вариативности и из-за выделения энергии при взаимодействии частиц.
Переносчиками такой энергии могут быть электронные нейтрино, поскольку они являются самыми массовыми (наряду с фотонами) частицами во Вселенной, и выполняют функцию переноса энергии, принимая участие в слабых ядерных взаимодействиях. В настоящее время известно, что масса нейтрино чрезвычайно мала и её настоящая величина до сих пор находится под вопросом. В то же время удалось довольно точно экспериментально измерить разницу квадратов масс нейтрино «разных поколений», так называемые осцилляционные нейтрино. Эта разница составляет 27·10
-4 эВ. Если предположить, что она есть следствие вариации выделения энергии в зоне неопределённости из-за взаимодействия нейтрино разных типов, то эта энергия и будет той энергией, которая выделяется при осцилляционных процессах, происходящих внутри зоны неопределённости. Тогда квадратный корень из этой энергии будет равняться 0,52·10
-3 эВ – энергетические осцилляции на границе зоны неопределенности, которые возбуждают электромагнитные колебания в Мировой среде в виде потока фотонов, имеющих эту энергию.
Известно, что объёмная плотность энергии фонового излучения Вселенной составляет, примерно, 5·10
8 фот/м. Тогда объёмная плотность энергии всех фотонов в м
3 составит 4,16566
-14Дж/м
3. Фоновое излучение, практически, является излучением чёрного тела, следовательно, мы можем рассчитать температуру, обеспечивающую такую плотность излучения, используя формулу объёмной плотности энергии чернотельного излучения, и получим Т
0 = 2,7245 К
0.
Для сравнения, по результатам последних замеров значение фоновой температуры Вселенной равняется T
0fon=2,72548±0,00057K
[27], поэтому погрешность вычисления составляет ∆T= – 00098K
0 (менее одной десятитысячной градуса), и может быть объяснена небольшим округлением в расчётах и отсутствием точных экспериментальных данных объёмной плотности энергии фонового излучения Вселенной по числу фотонов.
Но это можно легко поправить и получить точное значение температуры фонового излучения Вселенной. Зная энергию одного фотона, легко рассчитать число фотонов, обеспечивающих удельную плотность энергии при T
0fon=2,7255К
0. Она составит 5,011355·10
5 фот/м. Подставив уточнённую величину объёмной плотности энергии фонового излучения Вселенной, мы получим точное расчётное значение, измеренной экспериментально, температуры фонового излучения Вселенной T
0fon=2,7255K
0.
Расчёт космологического красного смещения
На основании современных представлений расчёт характеристик космологического красного смещения должен удовлетворять нескольким основным требованиям. Не зависеть от частоты излучения и удовлетворять закону излучения чёрного тела. Если мы предположим, что космологическое красное смещение объясняется не эффектом Доплера и расширением пространства, а потерями энергии фотонов в Мировой среде, то эта потеря должна зависеть от удельного коэффициента поглощения Мировой среды k
abWe, и должна удовлетворять формуле: ∆E
f=k
abWehv.
Как мы уже видели при расчёте температуры фонового излучения Вселенной, осцилляционные колебания нейтрино могут отвечать за энергетические процессы на границе зоны неопределённости. Мы рассмотрели только процесс выделения энергии на границе зоны неопределённости и образования фотона. Но этот же механизм может участвовать и при поглощении энергии фотона. В настоящее время утверждается, что фотон не может терять энергию, но это только в том случае, если эфир или среда, в которой распространяются фотоны, отсутствует. Но, если, как мы предположили, у нас существует Мировая среда, в которой фотоны, представляющие собой электромагнитные волны, распространяются в виде колебаний этой среды, то фотон должен терять энергию. Предположим, что фотон, прилетающий извне с энергией превосходящей энергию осцилляции нейтрино на границе энергетического барьера Зоны неопределённости, создаёт очень слабое возмущение в поле Мировой среды, при котором осуществляется потеря некоторой доли энергии фотона вызывающихся осцилляционными колебаниями нейтрино с поглощением энергии. Причём, поскольку это поглощение происходит внутри зоны нулевых колебаний – флуктуаций квантовой системы, согласно предположениям Поля Дирака в этом процессе должны одновременно участвовать две частицы, в нашем случае нейтрино и антинейтрино, и суммарная энергия их взаимной осцилляции должна равняться 2,331·10
-22 Дж, которая и будет равна частичной энергии поглощения фотона на осцилляциях нейтрино на границе зоны неопределённости. Посмотрим, что из этого может получиться. Тогда потери энергии фотона на полной энергии осцилляции поглощения должна быть равна 1,1655·10
-22Дж.
Рассчитаем теперь удельную потерю энергии фотона за счёт удельной плотности излучения Мировой среды. Удельная плотность энергии на м
3 среды, с учётом поправки сделанной в предыдущем абзаце, равна 4,1715·10
-14 Дж/м
3. Но нас интересует удельная линейная плотность энергии, которая равняется 3,425·10
-5 Дж/м. Зная энергию поглощения части энергии фотона на осцилляции и удельную линейную плотность энергии можно рассчитать удельное поглощение части энергии фотона на длине его траектории в один метр. Она равняется 7,98·10
-27 Дж/м.
Или, приведённый коэффициент удельного поглощения части энергии фотона на длине его траектории в один метр в относительных единицах k
abWe=7,98·10
-27.
Зная приведённый коэффициент удельного поглощения части энергии фотона на длине его траектории в один метр, можно узнать, какую долю энергии теряет фотон при пролёте дистанции в один Мпк. Мпк=3,09·10
22м, и мы получим 24,568·10
-5 доля/Мпк.
Теперь можно рассчитать, какую часть энергии потеряет фотон, эквивалентную потере части скорости света при пролёте дистанции в один Мпк:
∆SkabWe= kabWe(Мпк)·c=24,658·10-5·299792,5=73,92(км/с)/Мпк.
Для сравнения, путём вычисления расстояний до галактик по светимости наблюдающихся в них цефеид на космическом телескопе Хаббла дают оценку H
0=73,24±1,74(км/с)/Мпк, что на 3,4 сигмы (на 7–8 %) больше, чем определено по параметрам реликтового излучения (причины этого пока не известны)
[28], в то время как погрешность нашего вычисления составила + 0,64(км/с)/Мпк, что почти в три раза меньше погрешности по современным представлениям, и составляет менее 1 %.
Кроме удельной плотности излучения Мировой среды на потерю части энергии фотона могут влиять возмущения, вносимые космическим объектом в эту среду, таких как, масса объекта, энергия излучения и скорость его вращения. Гравитационное возмущение, создаваемое быстро вращающейся массой таких крупных объектов, как квазары, могут сильно влиять на энергетическую плотность Мировой среды, искажая и уплотняя её. Это может приводить к большим, по сравнению с обычным пространством, потерям энергии фотонами при взаимодействии с этой средой и, соответственно, к существенному красному смещению. Этими искажениями можно объяснить обнаруженное Хэлтоном Арпом значительное различие в величинах красного смещения квазаров и галактик, рядом с которыми они расположены.
На основании проведённых выше расчётов видно, что и красное смещение спектральных линий в спектрах удалённых от нас крупных космологических объектов, и фоновое излучение Вселенной можно объяснить процессами, происходящими в «Кипящем слое вакуума», как его назвал Поль Дирак, или в переходном гиперпространственном (световом) барьере. Поэтому отпадает необходимость в гипотезе расширяющейся Вселенной из точки сингулярности в рамках так называемой «Стандартной космологической модели», и в гипотетической «тёмной энергии». На самом деле окружающий нас мир – это динамическая Вселенная, в которой в постоянном движении находятся различные космические тела и объекты. Эта трёхмерная Вселенная постоянно обменивается материей и энергией с гиперпространственной Мультивселенной, поэтому не является замкнутой системой, к которой было бы применимо Второе начало термодинамики. Поступление материи и энергии в нашу Вселенную осуществляется через особые области пространства, имеющие относительно небольшие размеры, которые можно назвать белыми дырами, а поглощение энергии и материи из нашей Вселенной, вероятно, происходит через чёрные дыры. Обоснование, физические свойства и расчёт белых дыр приведён ниже.
(Все формулы и расчёты для этих двух, а так же для дальнейших абзацев приведены в моей работе под номером 24 и 52 в списке литературы в конце этой книги).
Подтверждение гипотезы расширяющейся Земли. Поиск и обоснование вероятного источника, обеспечивающего увеличение её массы во времени
В настоящее время парадигмой развития земной коры считается теория литосферных плит, или теория мобилизма. Она была разработана в 60-х годах прошлого столетия трудами, главным образом, американских геофизиков и пришла на смену господствовавшей целое столетие геосинклинальной, или фиксистской теории. Согласно этой теории, главным и, в сущности, единственным процессом развития земной коры являются горизонтальные перемещения материковых плит, вызванные конвективными течениями в мантии, вследствие её разогрева, а вертикальными движениями, практически, можно пренебречь. Движущей силой таких горизонтальных перемещений является разогретая мантия, перемещающаяся в местах раздела (спрединга) земной коры, которые располагаются вдоль осей срединно-океанических хребтов. От этих осей кора перемещается вдоль океанического ложа в зоны её поглощения (зоны субдукции) и погружается в верхнюю мантию. Таким образом, в мантии работают гигантские конвективные ячейки, ответственные за создание и поглощение земной коры. Вся земная кора разбита на несколько десятков литосферных плит, взаимодействие между которыми обуславливает всё многообразие геологических процессов. Учёные, поддерживающие и развивающие эту теорию (мобилисты), объясняют расхождение материков движением на большие расстояния фрагментов (террейнов) любых (континентальных, океанических, островодужных) структур по глубинным поверхностям, коровым или мантийным. Одним из главных тезисов такой концепции является представление о постоянстве радиуса и объёма Земли, как космического тела.
Однако в настоящее время появляется всё больше фактов, вступающих в противоречие с теорией глобальной тектоники плит. Например, астеносфера, с которой связывается движение плит, располагается на разных уровнях и имеет прерывистый характер. Краеугольным положением рассматриваемой теории является спрединг, но когда речь идёт об охватываемом им пространстве, то возникают затруднения. На разных расстояниях от осевой зоны Мировой рифтовой системы обнаружены ослабления (релаксации) спрединга. В самих океанах недавно выделены категории демаркационных разломных зон, не согласующихся с границами литосферных плит. Большие сомнения вызывает наличие зон субдукции, в которых происходит погружение в глубоководные желоба цельных литосферных плит до глубин 600–700 км. Поэтому признать в качестве цельной, Тихоокеанскую литосферную плиту, которая занимает достаточно большую территорию Тихого океана, довольно сложно. В ней происходят процессы разломообразования, формируются грабены, горсты, тектоно-вулканические структуры, а также структуры скучивания, вертикальные восходящие и нисходящие движения. Можно отметить, что не только Тихоокеанская плита, но также и прочие литосферные плиты типа Евроазиатской, Карибской, Индо-Австралийской, и ряд других показывают искусственность подобных представлений о субдукции. Более того, можно провести простой эксперимент, уменьшив радиус глобуса Земли, вырезав из него все океаны, и все материки легко без зазоров соединятся в единый материк Пангею. При этом радиус Земли уменьшится почти в полтора раза.
По мнению ряда авторитетных геофизиков, масса и диаметр нашей Земли со временем непрерывно возрастают. Эту концепцию выдвинул русский учёный И.О. Ярковский ещё в 1889 году
[29]. Например, по данным НАСА, диаметр Земли ежегодно увеличивается на экваторе
[30]. По данным, подробно рассмотренным и аргументированным В.Ф. Блиновым
[31], за последние 280 млн. лет ускорение силы тяжести на Земле возросло с 4,2 м/с
2 до 9,81 м/с
2. В своей работе геофизик Н.П. Бетелев пишет: «По мнению ряда авторов, причиной роста Земли является поглощение планетной энергии и материи космического вакуума, преобразуемых в недрах Земли в обычное атомарное и молекулярное вещество»
[32]. В своей работе «О концепции растущей Земли»
[33]. Бетелев приводит таблицу изменения ускорения силы тяжести на Земле за последние 280 млн. лет, составленную В.Ф. Блиновым
[34], совпадающую с расчетами Л.М. Якушина
[35].
В своей работе
[36] Р. Мезервей показал, что только на расширяющейся Земле можно получить согласие между современной топологией материков и океанов, и палеомагнитными данными, такими как, дрейф магнитных полюсов и полосовые магнитные аномалии в океанах. Он доказывал, что соединение материков, в котором Африка, Евразия, Южная и Северная Америки, Австралия и Антарктида образуют единый праматерик, распавшийся, примерно, 200 млн. лет назад, невозможно на земном шаре, имеющем радиус, равный современному.

Земля 200 млн. лет тому назад и сейчас
Похожие данные приводит Ю.В. Чудинов, рассчитывающий радиус Земли для этого периода по методу В.И. Третицкого
[37]. Клаус Фогель
[38], в свою очередь, создал модель глобуса, на котором соединил все материки в единый праматерик Пангею и убедительно показал, что для такого соединения необходимо, чтобы радиус Земли, приблизительно, равнялся современному радиусу ядра Земли. Аналогичные модели и аналогичные расчёты можно найти и у таких авторов, как О. Хильденберг
[39], И.В. Кириллов, В.Б. Нейман
[40], К.М. Крир
[41]. Блинов Б.Ф. и Осипишин Н.Я.
[42], которые определяют скорость приращения радиуса Земли dRdt равной 2 см/год при подсчётах площадей океанической коры. Согласно А.Ю. Ретиюму
[43], разрастание континентов происходит с образованием структур растяжения – авлакогенов. Этот процесс стал особенно заметным, начавшись, примерно, 200 млн. лет назад. Всё это может служить подтверждением того, что материки расходятся, вследствие расширения самой Земли, так как она постоянно «накачивается» материей и энергией, получаемой через белую дыру, находящуюся в центре Земли, из гиперпространства, она же обеспечивает и поддерживает температуру в центре ядра Земли.
По палеонтологическим и палеомагнитным данным различных авторов, таких, как Ю.В. Чудинов, а так же на основании данных о разрастании океанической коры А.Б. Ронова
[44] и Н.С. Шатского
[45] можно сделать вывод об экспоненциальном расширении радиуса Земли во времени.
Формулу изменения радиуса Земли во времени, приняв R
0 в настоящее время за единицу, можно представить в следующем виде:
Rn=R0·e-1,3(1-gn/g0), или Rn=R0·e-0,74(1-Tn/T6).
Изменения радиусов Земли во времени в течение 200 млн. лет будет изменяться от 3,49 до 6,37·10
6 м.
Физические принципы работы ячейки неравновесности в зоне нулевых колебаний – флуктуаций квантовой системы был рассмотрен выше. Поскольку излучающая ячейка неравновесности, в противоположность чёрной дыре, поставляет материю и энергию в пространство, назовём её белой дырой. Рассмотрим пример работы белой дыры внутри космического объекта. Выберем в качестве такого космического объекта планету Земля, как наиболее изученное небесное тело. Попробуем рассчитать некоторые параметры белой дыры, рассмотреть возможный механизм и условия её возникновения. Как мы уже отмечали в предыдущих абзацах этой статьи, условия для возникновения и работы ячейки неравновесности, скорее всего, появляются внутри небесных объектов, где равновесие в вакууме нарушается за счёт огромных давлений и температур, что позволяет гиперчастицам преодолеть потенциальный квазичетырёхмерный энергетический барьер. Выделение большого количества энергии в малом объёме вызывает высокие температуры в центре космического тела. Известно, что для возникновения плазмы и начала самоподдерживающейся термоядерной реакции необходимо преодолеть Кулоновский барьер, а для этого нужно создать в небольшом объёме температуру порядка 10
8К
0 и давление – 5·10
10 Па(н/м
2). Как может работать такая белая дыра внутри космического объекта? Когда давление внутри объекта на некоторую сферу достигает значения 5·10
10н/м
2, происходит нарушение равновесности в вакууме, и из него со скоростью света начинают вылетать нейтроны. Большой объём и плотность атомов внутри небесного тела на границе ячейки неравновесности приводит к тому, что вылетающие нейтроны успевают столкнуться с ядрами атомов, вызывая цепную реакцию, приводящую к резкому повышению температуры до T
0=10
8K
0. Именно нейтроны, распадаясь в дальнейшем на протоны, электроны и нейтрино, создают водород, необходимый для протекания и поддержания термоядерной реакции внутри ядра планеты, в ходе которой, синтезируются и другие элементы. Водород так же участвует в образовании молекул воды, которой богаты многие небесные тела, и которого так много во Вселенной. Вполне вероятно, что водородом Вселенную обогащают, в основном, не планеты, а звёзды и, в первую очередь, ядра галактик. В этом месте начинается цепная реакция, аналогичная ядерной. Белая дыра инициирует и поддерживает термоядерную реакцию внутри небесного тела. Возникающее плазменное ядро выжигает внутри него некоторый объём, который постепенно раскручивается вращающейся белой дырой. Образующееся плазменное ядро создаёт магнитное поле небесного тела, а белая дыра оказывает влияние на вращение самого тела, передавая его через плазму. У планет с малой массой, и планетоидов (таких, например, как Луна) с течением времени происходит расширение небесного тела, что ведёт к падению его средней плотности и уменьшению давления в ядре, мощность излучения белой дыры быстро падает или прекращается совсем. У планет с относительно большой массой, мощность излучения постепенно растёт, вместе с массой, которая нарастает по мере увеличения потока частиц из белой дыры. Магнитные полюса, в таком случае, будут образовываться магнитным полем вращающегося плазменного ядра, которое будет немного опережать вращение планеты, вследствие её инерции. Магнитный полюс будет смещаться из-за этого опережения и из-за возникновения завихрений в плазме. Смещение магнитного полюса планеты может ещё проявляться из—за инерции вращения самой планеты относительно плазменного ядра, момент вращения от которого передаётся не жёстко, поэтому оси вращения ядра и планеты могут немного не совпадать. Ко всему прочему, магнитный полюс ядра может не совпадать с осью вращения самого ядра и самостоятельно перемещаться в результате флуктуаций.

Схема внутреннего строения небесного тела с белой дырой
Используя эти данные, мы можем рассчитать производительность, мощность dW
n=dE
ndT и другие параметры белой дыры, расположенной в центре Земли, для различных временных интервалов. Сразу оговоримся, что эти расчёты могут быть только оценочными, так как точных данных изменения параметров Земли за столь большие промежутки времени, насколько нам известно, не существует. Используя данные В.Ф. Блинова и экспоненциальное расширение радиуса Земли, можно вывести следующую формулу изменения ускорения свободного падения Земли во времени.
gn=g0·e-0,74(1-Tn/T6), при и млн. лет.
По формуле можно рассчитать уточнённые изменения ускорения свободного падения для Земли во времени за период 200 млн. лет. Он будет меняться от 5,3 до 9,81 м/с
2.
(Все более точные значения, формулы и расчёты здесь и в дальнейшем приведены в моей работе под номером 19 в списке литературы в конце этой книги).
Н.П. Бетелев в своей работе приводит различные данные, рассчитанные разными авторами, пытающимися обосновать рост массы и размеров Земли некими гипотетическими частицами «космического эфира». Критика доказательств роста Земли как раз и состоит в том, что дополнительной массе Земли взяться не откуда (масса космической пыли и метеоров, выпадающих на Землю несравнимо мала), и тогда увеличение радиуса Земли должно приводить к обратному эффекту – уменьшению ускорения свободного падения, а не к его росту, как утверждают авторы. Определение физического механизма прироста Земли во времени позволило бы разрешить эту задачу.
Земля, как планета, сформировалась, примерно, 4,55-4,65 млрд. лет назад. Сценарий её образования похож на, описанный выше, сценарий для планет с относительно большой массой. Поэтому процесс формирования планеты шёл на фоне адиабатического сжатия, сопровождавшегося разогревом планетного вещества, на который, при достижении определённого внутреннего давления, наложился процесс возникновения белой дыры. Когда внутреннее давление стабилизировалось, масса планеты из за притока нейтронов стала потихоньку возрастать, а температура внутри планеты медленно увеличиваться. Сейчас трудно определить первоначальную массу планеты, образовавшейся 4,55-4,65 млрд. лет назад, можно только предположить, что первоначально увеличение массы было почти незаметным.
Зная изменение радиусов и ускорений свободного падения Земли во времени, можно легко рассчитать изменение массы Земли во времени. За 200 млн. лет она изменилась от 0,99 до 5,97·10
24 кг. Зная это, можно рассчитать прирост массы Земли за каждый заданный период времени в сек. За 200 млн. лет он составит от 0,4 до 1,74·10
24кг/сек.
Таким образом легко посчитать, что средний прирост массы Земли за последние 40 млн. лет составляет 4,65·10
16 кг/год. А излучение энергии белой дыры в настоящее время составляет 5·10
5 Дж/год. Что неплохо согласуется с данными, приведёнными В.Ф. Блиновым.
Зная изменение мощности для данного периода времени излучения белой дыры Земли, можно рассчитать температуру во внутреннем ядре для каждого периода времени. Но, в данном случае, необходимо учитывать тот факт, что, в отличие от свободного плазменного шара, который бывает, например, у звёзд, внутреннее ядро Земли окружено оболочкой, которая будет отражать часть инфракрасной энергии, увеличивая тем самым нагрев внутреннего ядра. Поэтому нам необходимо учитывать коэффициент серости ɛ
gr габбро, который близок к ɛ
gr базальта ≈0,78. Расчёт этих температур и средних плотностей Земли показывает, что за 200 млн. лет температура внутреннего ядра Земли и плотность менялись относительно слабо:
200 млн. лет – 6050 К
0, 200 млн. лет – 5,56·10
10 кг/м
3,
160 млн. лет – 6000 К
0, 160 млн. лет – 5,476·10
10 кг/м
3,
120 млн. лет – 5900 К
0, 120 млн. лет – 5,5·10
10 кг/м
3,
80 млн. лет – 5760 К
0, 80 млн. лет – 5,54·10
10 кг/м
3,
40 млн. лет – 5700 К
0, 40 млн. лет – 5,5·10
10 кг/м
3,
Наст. время – 5600 К
0. Наст. время – 5,52·10
10 кг/м
3.
С учётом погрешности расчётов и недостатка достоверных данных, можно сказать, что эти два параметра, практически, остаются постоянными. В связи с этим, логично предположить, что температура внутри других планет тоже будет зависеть от средней плотности этих планет.
Расчёт температуры поверхности внешнего ядра Земли на основании этих данных даёт значение 1400 К
0. А расчёт температуры магмы у границы Мохоровичича и коры Земли, с учётом ɛ
gr – коэффициента серости мантии Земли ≈(0,62÷0,72), даёт температуру ≈(600÷800)K
0. Что очень хорошо согласуется с современными данными о внутреннем строении Земли.
Попробуем рассчитать условия возникновения белой дыры и её параметры. Анализ давлений внутри звёзд и планет, а так же их внутреннего строения и условий существования позволяет предположить наличие нескольких основных типов белых дыр. Белая дыра первого типа (Wh1) возникает при давлениях равных 5·10
10н/м
2, при этом создаются условия для преодоления Кулоновского барьера и возникают термоядерные реакции на грани устойчивости и могут далее поддерживаться за счёт эффекта тунелирования. Температуры таких белых дыр T
0=10
8 K
0. Белая дыра второго типа (Wh2) возникает при давлениях выше 5·10
10н/м
2, при этом возникают устойчивые термоядерные реакции за счёт преодоления Кулоновского барьера. Температуры таких белых дыр будут от 100 млн. К
0 и выше. Существует ещё и третий класс белых дыр (Wh3) с диапазоном температур 0,3·10
18 K
0<T
0Wh3<2·10
18 K
0, они будут рассмотрены ниже.
Анализ показывает, что самым малым космическим телом, подходящим на эту роль, вероятно, является Луна, на которой имеются следы вулканической деятельности, и, даже, наблюдались её проявления. Ученым из Массачусетского технологического института удалось доказать, что на раннем этапе существования у Луны было магнитное поле, превышающее магнитное поле Земли в настоящее время. Об этом сообщает новостная служба Science Now. Статья исследователей опубликована в журнале Science. Это может быть объяснено наличием небольшого плазменного ядра, медленно вращающегося внутри планетоида. Мы не рассматриваем спутники планет – гигантов, на которых обнаружены следы крио-вулканизма, так как такие процессы могут происходить при сравнительно малых температурах и иметь другие причины.
По существующей теории, в процессе образования путём аккреции из космической пыли протопланетного облака, Луна постепенно сжималась под действием сил гравитационного сжатия. Наконец, когда давление внутри неё достигло порогового значения, могли возникнуть условия для образования белой дыры. Известно, что у Луны раньше было магнитное поле, аналогичное земному, которое просуществовало достаточно долго, даже по астрономическим меркам
[46]. По данным Рени Вебера из Маршалловского центра космических полетов НАСА и Рафаэля Гарсиа из Университета Тулузы во Франции, на основе проведённых ими сейсмических исследований, на Луне до сих пор существует раскалённое ядро диаметром 330 км и расплавленная мантия диаметром 480 км. Ряд известных астрономов – исследователей Луны, в частности, Джон Келлер, ученый проекта ЛРО из Центра космических полетов имени Годдарда в Гринбелте, штат Мэриленд, считают, что на Луне до недавнего времени осуществлялась вулканическая деятельность. В настоящее время давление внутри Луны составляет порядка 9,43·10
9 н/м
2,
Мы рассчитали давление P
Wh, исходя из современного радиуса и плотности Луны. Скорее всего, P
Wh в начале формирования Луны было несколько больше и достигало минимального необходимого давления – 5·10
10 н/м
2, но, с течением времени, оно уменьшилось из-за расширения Луны, вследствие внутреннего разогрева и её малой массы. Это привело к уменьшению плотности небесного тела и давления внутри него. Поэтому в настоящее время белая дыра внутри Луны, практически, прекратила своё существование. На Марсе давление в настоящее время составляет 4,9·10
10 н/м
2, что тоже немного нижеминимально необходимого для преодоления Кулоновского барьера. Поэтому и на Марсе постепенно исчезло магнитное поле, которое раньше у него было. Потеря магнитного поля привела к уменьшению плотности атмосферы и температуры на его поверхности. На Венере плазменное ядро существует, но оно очень медленно вращается из-за особенностей аномального вращения Венеры, поэтому не может создать заметное магнитное поле.
Не сложно рассчитать мощность излучения энергии Wh1 внутри Луны во время возникновения, оно составит 20·10
17 Вт. Приняв начальные условия внутри Луны при её образовании за минимальные требования для Wh1, можно определить её минимальный радиус, который составит 1,7·10
-4 м.
Итак, мы можем записать минимальные условия возникновения белой дыры (Wh1), и её параметры:
где, P
wh(min) ≈5·10
10 н/м
2 – необходимое давление для создания неравновесности в вакууме;
T
0wh(min) ≈10
8 K
0 – минимальная температура Wh1;
R
wh(min) ≈ 1,7·10
-4 м – минимальный радиус Wh1;
W
wh(min) ≈20·10
17 Вт – минимальная мощность Wh1.
Так же логично предположить, что вакуум неоднороден по своей плотности. В таком случае, мощность излучения Wh1 во времени будет выглядеть следующим образом:
W
wht=W
wh·k
pvacdt,
где, W
wh – изменение мощности белой дыры во времени;
k
pvacdt – изменение плотности вакуума во времени.
Радиус белой дыры внутри Земли, рассчитанный по приведённым выше соображениям, равен 4,4·10
4 м, при T
0wh=10
8 K
0 и мощности W
Ewh=137,4·10
17 Вт.
Вероятно, существуют три класса Wh1 для планет – это классы Wh1P
1, Wh1P
2 и Wh1S. В классе Wh1P
1, начальное давление внутри небесного тела ≈ 5·10
10н/м
2, а температура T
0whP1≈10
8 K
0. В этом случае, мощность излучения, после начала работы Wh падает и белая дыра работает на грани стабильности, сюда относятся такие небесные тела, как Луна, Марс и Меркурий. В классе Wh1P
2, при давлении >5·10
10 до 10
12н/м
2 и температурах немного превышающих T
0wh>10
8K
0, Wh работает стабильно, понемногу увеличивая мощность излучения, в эту группу попадают Венера, Земля и все планеты – гиганты, кроме Юпитера. У Юпитера давление в центре достигает P
wh≈2,23·10
12н/м
2, и он уже относится к классу Wh1S, куда попадают космические объекты с 10
12<P
wh>10
13н/м
2 и температурами в центре ощутимо превышающих 10
8K
0. Wh1S Юпитера, создавая в его центре мощное плазменное ядро, обеспечивает его сильным магнитным полем и мощным тепловым, электромагнитным и, даже, рентгеновским излучением.
Нарастание массы планет, вследствие действия внутри них Wh1, приводит к постепенному удалению их от Солнца, поднимая гелиоцентрическую орбиту. Увеличение массы планеты приводит к повышению её кинетической энергии, что равносильно включению двигателя космического аппарата на орбите и переводу его на более удалённую орбиту. Именно поэтому, раньше на Земле и на Марсе было теплее. Сейчас, по последним данным, Земля удаляется от Солнца на 15 см/год, а Луна удаляется от Земли на 4 см/год.
Таким образом, мощность излучения энергии белой дыры зависит от давления внутри планеты и от её массы, и мы можем рассчитать мощность излучения энергии белой дыры внутри планет земной группы нашей Солнечной системы.
Классификация белых дыр. Температура внутри звёзд, квазизвёздных объектов и внутригалактических ядер
К классу Wh1S относятся планеты – гиганты типа Юпитера и субзвёзды типа Коричневых карликов. Wh1S отличается от Wh1 других типов тем, что при их возникновении и существовании, происходит преодоление Кулоновского барьера и эти белые дыры начинают инициировать и поддерживать слабые термоядерные реакции внутри таких космических объектов. Энергетическую мощность их белых дыр очень трудно посчитать, так как они начинают активно излучать энергию не только в ИК, но и в других диапазонах. Косвенным признаком наличия внутри таких объектов мощного энергетического источника может служить тот факт, что эти планеты – гиганты излучают гораздо больше тепловой энергии, чем получают, и в их атмосфере возникают сильные атмосферные бури, которые невозможно объяснить влиянием материнской звезды. Например, Юпитер излучает (в основном в инфракрасной области спектра) на 60 % больше энергии, чем получает от Солнца
[47], а скорость ветра превышает 600 км/час
[48]. Температура верхних слоёв атмосферы составляет порядка 120К
0, но по данным спускаемого аппарата Галлилео, уже на глубине 146 километров она была 426К
0 [49]. Предполагается, что на глубинах свыше 7 тыс. км температура достигает 6000К
0. Температура поверхности субзвезды Коричневого карлика Y класса WISE 1828+2650 ~25C
0 (300 К
0)
[50]. При том, что разброс радиусов субзвёзд всех типов не превышает 10–15 %, температуры их поверхности могут варьироваться, примерно, от 300
0К до 2200
0К, подходя по верхнему параметру температуры поверхности к малым звёздам.
Поскольку, в данном случае, мы сталкиваемся с большим количеством неизвестных параметров, попробуем упростить задачу расчёта мощности излучения Wh1S, ограничившись сравнением ИК излучения температуры поверхности данных объектов, принимая во внимание, что их радиусы, отличаются всего на 1,1–1,15 R, а излучение в других диапазонах, в процентном отношении, пропорционально ИК излучению.
В отличие от планет, в звёздах протекают более бурные ядерные реакции, инициируемые и поддерживаемые, белыми дырами. Следовательно, минимальными температурами белых дыр в недрах звёзд должны быть температуры выше 10
8К
0, и, исходя из формулы излучения чёрного тела, эти температуры должны быть пропорциональны четвёртой степени температуры поверхности звёзд. Тогда температуры белых дыр типа Wh1S и Wh2, для звёзд разных классов, будут выглядеть следующим образом.

Работу белой дыры можно проиллюстрировать на примере нашего Солнца. Белая дыра, находящаяся внутри солнечного ядра, поддерживает протекание термоядерных реакций в самом ядре, и подпитывает энергией Солнце. Поток нейтронов, истекающий из белой дыры, раскручивает солнечное ядро, которое, вследствие этого вращается в четыре раза быстрее, чем само светило. Энергия вращения ядра, посредством трения, через внутренние слои передаётся внешним, постепенно замедляясь.
Вращение космических объектов является следствием, раскрутки их внутренних ядер потоком частиц, вылетающих из ячейки неравновесности, имеющих импульс вращения, появляющийся у частицы за счёт дополнительного импульса, который имелся у неё в гиперпространстве. Поэтому внутреннее ядро любой звезды будет вращаться гораздо быстрее её внешних слоёв, причём, чем ярче звезда, чем она больше и массивнее, тем оно должно вращаться быстрее.
Следующим классом белых дыр будут белые дыры Wh3, которые находятся внутри квазизвёздных объектов (таких как пульсары, квазары и т. д.), и внутри ядер галактик. Эти белые дыры инициируют и поддерживают уже не термоядерные реакции, как внутри звёзд, а термокварк – глюонные реакции, создавая во внутренних ядрах этих объектов кварк – глюонную плазму. Подобные объекты излучают энергию в широком диапазоне, от мощного радиоизлучения до рентгеновского. Этим же объясняется и гораздо большая светимость квазаров по сравнению с голубыми звёздами O класса, и то, что не может быть звёзд с большей, температурой поверхности, чем звёзды класса О, так как термоядерные реакции исчерпали свои энергетические возможности.
Поскольку мы, в этом случае, имеем дело уже не с обычной плазмой, появляющейся в результате термоядерных реакций, а с более высокоэнергетической кварк – глюонной плазмой, то мы уже не можем судить о температуре Wh3, по температуре поверхности этих объектов, так как, в этом случае, большая мощность излучения расходуется на другие диапазоны энергий. Из гиперпространства, вместе возникновения и существования Wh3, вырывается уже не закрученный поток нейтронов, а кварков, которые создают высокотемпературные джеты, состоящие из высокоэнергетических элементарных частиц и энергии, в виде электромагнитного излучения, выбрасывая их вдоль оси вращения белой дыры на огромные расстояния от тысяч до десятков тысяч световых лет. Ядра галактик, имеющие огромную массу, и очень маленький коэффициент передачи энергии вращения на внешние рукава через разряженную среду, электромагнитные и гравитационные поля, вращаются медленно, а, вот, квазары, пульсары и другие квазизвёздные объекты, имеющие внутри Wh3, масса которых намного меньше массы ядер галактик, вращаются с огромной скоростью, пульсируя и меняя свой блеск. Они тоже выбрасывают джеты, правда, меньшей мощности и на меньшее расстояние. Кварк – глюонная плазма образует внутреннее ядро галактики, тогда, как внешнее ядро состоит из высокотемпературной плазмы, в которой протекают термоядерные реакции. Внешняя оболочка ядра галактики (Балдж) является обычной плазмой с вкраплениями сформировавшихся в этой области ядра звёзд.

Условный рисунок структуры галактики с белой дырой внутри
В области ударных волн образуются сгущения из газо-пылевых облаков, появляющихся в результате выброса материи из белой дыры и их конденсации, уплотнённых энергией ударных волн. Они образуют своеобразный пояс вокруг ядра галактики, частично поглощающий излучение ядра.
Подтверждением этому могут служить публикации, появляющиеся в последнее время о том что, аккреционные диски ультраярких рентгеновских источников состоят из высокоэнергетической плазмы Т
0 порядка 5·10
4 К
0. По мнению заведующего Лабораторией физики звезд Специальной астрофизической обсерватории РАН (САО РАН), доктора физ. – мат. наук Сергея Николаевича Фабрика, при сверхкритической аккреции сила давления излучения превышает силу гравитационного притяжения, поэтому из окружающих черную дыру областей мощным потоком истекает вещество. И это можно наблюдать
[51]. Исследования проводились на объекте, имеющем постоянный сверхкритический аккреционный диск – двойной системе SS433, состоящей из сверхгиганта массой в 20 масс Солнца и черной дыры массой около 10 масс Солнца, обнаруженной ещё в 1979 году.
Представляется несколько странным тот факт, что, вопреки современным представлениям о чёрных дырах, из них может «мощным потоком истекать вещество», да ещё и при условии «силы давления, превышающей силу гравитационного притяжения». Не проще ли, согласно критерию «Бритвы Оккама», согласиться с тем, что внутри этого объекта существует источник, генерирующий вещество и энергию, например, такой, как белая дыра, типа Wh3.
К настоящему моменту в ряде галактик открыты мощные рентгеновские источники. Начиная с 2000 года, их обнаружевают с помощью рентгеновской обсерватории Чандра (Chandra X-ray Observatory, NASA). Они были названы ультраяркими рентгеновскими источниками. Это объекты, рентгеновская светимость которых в сотни и тысячи раз больше, чем светимость самых ярких черных дыр галактик. Данное исследование опровергает существующее в настоящий момент мнение, что образование ультраярких рентгеновских источников связано с тем, что первые звезды, которые образовывались сразу после рождения нашей Вселенной, на красных смещениях z=15–25, должны были быть очень массивными – сотни и тысячи масс Солнца. Соответственно, они должны были производить примерно такие же массивные черные дыры массой сотни – тысячи масс Солнца. Это так называемые черные дыры промежуточных масс, которые позднее будут захвачены образующимися галактиками, и попадут в скопления звезд, захватывая их. Интересно, что SS433 неравномерно пульсирует и имеет прецессию.
Но по современным представлениям чёрные дыры пульсировать, или вызывать пульсацию не могут, а тем более, быть «ультраяркими рентгеновскими источниками», а, вот, белые дыры Wh3, как раз, могут легко претендовать на эту роль. Вариации осцилляции энергии в зоне неопределённости, могут дать неравномерную осцилляцию энергии большой мощности, а конвекционные процессы и флуктуации высокотемпературной кварк – глюонной плазмы, находящейся внутри плазменного ядра объекта SS433, вызовут прецессию при его вращении.
Сегодня принято считать, что большинство галактик образовалось при слиянии более мелких объектов. Предполагается, что в нашей Галактике мы наблюдаем заключительный этап этого процесса: разрываются малые галактики-спутники, захватываются их звезды; из межгалактического пространства непрерывно поступают облака газа. Таким образом, формирование Галактики продолжается, о чем свидетельствуют таинственные сгустки водорода с массами до 10 млн. масс Солнца и поперечниками порядка несколько десятков тыс. световых лет.
Их открыли в 1975 году, а данные последних 5 лет показали: некоторые из этих облаков как бы падают на Галактику. Оказалось, что Галактика «дышит», выталкивая газ, и втягивает его обратно, как бы делая вдохи и выдохи. Всё это говорит о существовании гигантской сферы горячей разреженной плазмы, окружающей нашу Галактику. В нашей Галактике около 100 млрд. звезд, большинство из которых сосредоточено в тонком диске диаметром около 100 тыс. световых лет и толщиной около 3 тыс. световых лет. Они обращаются вокруг центра Галактики почти по круговым орбитам. В частности, Солнце несется со скоростью около 220 км/с. Другие 10 млрд. звезд образуют галактическое «гало» – гигантскую сферу, охватывающую диск. Межзвездное пространство заполнено газом и пылью, и основная часть этой межзвездной среды также движется по круговым орбитам вокруг центра Галактики и в еще большей степени, чем звезды, сконцентрирована в ее диске. Как и в атмосферах планет, межзвездная среда плотнее всего «на дне» – в плоскости галактического диска, – и по мере удаления от нее плотность уменьшается. В XXI в. астрономы вошли уже с четырьмя гипотезами о природе этого явления: газ, оставшийся после формирования галактик; круговорот газа в «галактическом фонтане»; обрывки Магеллановых Облаков; межгалактическая смесь газа и темного вещества. Для того чтобы сделать выбор между ними, требовались новые данные. К концу ХХ в. астрономы обследовали все небо в радиолинии нейтрального водорода, позволяющей обнаруживать газ с температурой около 100 К
0. В 1988 г. Аад Хульбош (Aad Hulbosch) из Неймегенского университета и один из авторов статьи (Ваккер) с помощью радиотелескопа обсерватории Двингело в Нидерландах завершили обзор северного полушария неба. В 2000 г. Рикардо Моррас (Ricardo Morras) с коллегами на радиотелескопе Вилла Элиза (Villa Elisa) в Аргентине обследовал южное полушарие. Третий обзор опубликовали в 1997 г. Дап Хартман (Dap Hartmann) и Батлер Бартон (Butler Burton) из Лейденской обсерватории. Они провели полное картирование нейтрального водорода в Галактике. Данные спутника FUSE говорят о наличии у облаков газа очень горячего компонента. FUSE обнаружил линии поглощения сильно ионизованных атомов кислорода (потерявших до 5 из 8 внешних электронов). Такая степень ионизации говорит о температуре около T
0=3·10
5 K
0, которая может возникнуть, когда холодный (100 К
0) нейтральный водород входит в соприкосновение с исключительно горячим (порядка миллиона кельвинов) газом. Но это же может наблюдаться и при охлаждении крайне горячего газа до температуры T
0=3·10
5 K
0. Всё это образует галактическую корону, состоящую из горячей плазмы, с температурой по краю порядка T
0=10
6 K
0, по своей структуре напоминающей солнечную.
Итак, получены первые прямые свидетельства поступления свежего газа в Галактику. Это приносит за год массу нового вещества, эквивалентную 0,1–0,2 массы Солнца, что в сумме составляет от 10 до 20 % общей массы, необходимой для разбавления галактического газа и объяснения химического состава звезд. Правда, астрофизики говорят, что до сих пор остается неясным: служат ли первичным источником этого газа остатки гало, глубокое межгалактическое пространство или карликовая галактика, поглощаемая нашей Галактикой?
Как было показано выше, наличие белых дыр в центрах внутренних ядер галактик могло бы быть хорошим объяснением данной проблемы. Энергии Wh3, инициирующей термо – кварк глюонную реакцию внутри галактического ядра, вследствие чего из него должны изливаться облака высокотемпературного газа, вполне хватает для его нагрева до температуры 3·10
5K
0<T
0<10
6K
0. Она же служит и источником нового вещества, вливающегося в галактику, в основном, в виде облаков водорода.
В настоящее время известно, что галактики имеют различную форму и строение.
Галактики отличаются большим разнообразием: среди них можно выделить сфероподобные, эллиптические галактики, дисковые спиральные галактики, галактики с перемычкой (баром), линзовидные, карликовые, неправильные и т. д. Существует очень много описаний внешнего вида различных галактик и их внутренней структуры. Но, практически, невозможно найти чёткого объяснения: почему галактики имеют, именно, такую структуру и форму?
Если мы примем за основу тот факт, что внутри ядер галактик имеются белые дыры типа Wh3, то форму галактик можно объяснить наличием внутри них одной, или нескольких белых дыр, а так же их мощностью и возрастом.
Так, например, форма шаровидных галактик, может быть объяснена относительно недавним образованием галактики или белой дырой небольшой мощности. Скорость вращения вокруг оси у такой галактики невелика, поэтому сжатие у полюсов отсутствует. Такая галактика, либо ещё не раскручена, либо у Wh3 не хватает энергии на её раскрутку, и этот процесс идёт медленно.
Как мы видим, эллиптические галактики имеют более плотную структуру, по сравнению с шаровидными. Вероятно, это галактика более старая, она приплюснута с полюсов. Белая дыра уже раскрутила ядро этой галактики до большей скорости, по сравнению с шаровидной, что придало ей форму эллипса.
Спиралевидные галактики составляют наиболее распространённый тип галактик во Вселенной. Это хорошо раскрученные галактики, имеющие блинообразную форму и, как правило, большой диск, состоящий из разного (от 2-х до 10) количества расходящихся в разные стороны рукавов. Судя по всему это галактики, которые старше шаровидных и эллиптических галактик, и Wh3, расположенная в центре их внутреннего ядра, раскрутила их до скорости, при которой они приняли блиновидную, дискообразную форму.
Неправильные галактики своей формой могут быть обязаны, как наличием нескольких белых дыр, являющихся центрами структурообразования, так и следствием взаимодействия галактик при столкновении. В последнем случае, всё равно, у такой галактики будет несколько центров, в которых могут располагаться Wh3.
Между ядром галактики и рукавами существует пространство шириной в несколько миллионов световых лет. Это пространство, через котороё в рукава поставляется вещество из ядра галактики, вырабатываемое белой дырой, образуется за счёт ударных волн, вследствие пульсации ядра. Пульсации, в свою очередь, возникают из-за вариации выделения энергии в зоне неопределённости. Преобладающую спиралевидную структуру галактик можно объяснить наличием внутри их ядер одной мощной белой дыры.
Большое внимание астрофизиков занимают вопросы образования и формирования рукавов галактики, которые вращаются со скоростью несколько отличной от скорости ядра галактики. Экспериментально установлено, что угловая скорость этого движения является функцией радиуса, и убывает с удалением от центра галактики. При таком характере вращения большие газовые облака или другие протяженные образования растягиваются и становятся похожими на часть спиральной ветви. Однако спиральные ветви не могли возникнуть таким путем. Дифференциальное вращение способно создать структуры, похожие на наблюдаемые рукава, меньше чем за 10
9 лет. В течение нескольких оборотов Галактики, возраст которой превышает 10
10 лет, такие структуры должны были разрушиться, пространственное распределение водорода, пыли и горячих звезд стать нерегулярным, чего в большинстве случаев не наблюдается.
Б. Линдблад (Швеция) первым высказал идею о том, что спиральные ветви могут быть волнами плотности. В 1964 г. Ц. Лин и Ф. Шу (США) показали, что в галактиках действительно могут существовать волны плотности спиралевидной формы, вращающиеся с постоянной угловой скоростью (т. е. форма фронта таких волн не искажается дифференциальным вращением галактического диска) и распространяющиеся по радиусу с определенной групповой скоростью. Поскольку в Галактике газа мало (2–5%), то волны распространяются по звездному населению, в котором они могут возбуждаться, а газ уже реагирует на возмущение гравитационного потенциала, связанного с волнами, бегущими по системе звезд, т. е. его движение в гравитационном поле рукавов является несамосогласованным.
Другими словами, в формировании рукавов галактики должны участвовать некие волны плотности, которые создаются источником возникновения таких волн. В классической модели с чёрной дырой внутри, такого источника не наблюдается. Наличие белой дыры внутри ядра галактики вполне может быть таким источником, поскольку процесс выделения энергии Wh3, сопровождается её осцилляциями, которые носят пульсирующий характер. Вследствие этих колебаний, пульсирует и само ядро галактики, вызывая волны плотности, передающиеся через межзвёздный газ. Эти волны плотности и формируют рукава галактики.
Описание белых дыр
По устоявшимся в астрономии представлениям чёрные дыры, находящиеся в ядрах галактик и в центре квазаров, обладающие колоссальной массой, и коллапсировавшие до размеров сферы Шварцшильда, поглощают вещество из окружающего пространства и образуют джеты (выбросы энергии). Однако последние астрономические исследования, в частности, проведённые на новейшем телескопе «Астрон» международной группой учёных, получивших изображения джета, зарождающегося в окрестности центральной чёрной дыры галактики «Персей A», с ультравысоким угловым разрешением, выявила новые детали в области возникновения джета, и получила значительные (практически, на порядок большие) размеры области формирования джета, чем предсказывает принятая в настоящее время большинством астрофизиков, модель Блэнфорда – Знаека. Рождение элементарных частиц, образование сплошного спектра ЭМ излучения широкого диапазона, свечение окрестностей, «чёрной дыры» на границе сферы Шварцшильда, наличие новых звёзд у самого центра ядра галактики, обнаруженное телескопом Хаббл, и ряд других наблюдений ставят под сомнение само существование чёрных дыр в ядрах галактик и центрах квазаров. Лаура Мерсини-Хоутон, профессор из Университета Северной Каролины, в сотрудничестве с Харальдом Пифером, экспертом в численной относительности из Университета города Торонто, доказала математически, что черные дыры не могут образовываться. Исследование квазара Q0957+561 показало, что объект, придающий ему излучение, содержит магнитное поле, которое не может образовываться чёрной дырой. На данный момент чёрные дыры являются гипотетическими объектами, существование которых с большой достоверностью не доказано.
Вместо чёрных дыр, как было показано выше, можно предложить объекты, под названием белые дыры. Которые по некоторым своим физическим признакам напоминают представления о чёрных дырах. Белые дыры прекрасно генерируют материю и энергию, а так же могут инициировать возникновение высокотемпературной и кварк-глюонной плазмы, которые создают мощные магнитные поля. Постоянная накачка, допустим, ядра галактики или квазара, материей из гиперпространства в точке неравновесности, со временем может создать гигантское массивное ядро, обладающее мощным гравитационным полем, которое не будет коллапсировать из-за того, что ему не позволит это сделать внутреннее энергетическое давление. В то же самое время, нарушение условий существования белой дыры по тем, или иным причинам, может привести к взрыву с выделением большого количества энергии. Белые дыры по оси своего вращения должны формировать джеты, мощность и протяжённость которых зависит от мощности самой белой дыры. В таком случае джеты будут представлять собой светящиеся закрученные струи высокоэнергетических частиц, простирающихся на значительные расстояния.
Температура излучения квазаров (галактик), лежит в пределах 10
13 – 5·10
13 К
0, и определяется кварк – глюонными реакциями, инициируемыми белой дырой, находящейся внутри этого квазара (галактики), следовательно, температура белой дыры внутри квазара (галактики) – Wh3, вероятно, составляет 0,3–1,7·10
18 К
0.
Температура самого джета, инициированного белой дырой, выбрасываемого из центра квазара (галактического ядра), но формирующегося внутри аккреционного диска, естественно, ниже, и составляет порядка 1–5·10
11 К
0. А температура в самом начале джета должна быть выше, около 2·10
12 К
0. (Термодинамическое равновесие перехода первого рода кварк – глюонной плазмы).
Аномально высокая температура излучения квазаров подтверждена недавно с помощью уникального наземно-космического интерферометра «Радиоастрон», который выявил у одного из самых известных квазаров 3С273 эффективную температуру от 10 до 40 триллионов градусов, что примерно в 10 раз выше, чем допускает теория, описывающая общепринятый механизм излучения квазаров. Результаты этих наблюдений опубликованы в журнале Astrophysical Journal Letters. Как мы видим, белые дыры как раз и позволяют объяснить наличие у квазаров и галактических ядер, а так же у их джетов, таких высоких температур.
Поток частиц, вылетающий из ячейки неравновесности, может раскрутить до большой скорости вращения квазар и явиться фактором, раскручивающим галактическое ядро
[52]. Материя, образующаяся из частиц, поступающих через белую дыру, формирует галактическую структуру. Раскручивающаяся галактика, постепенно заполняется звездами и другими космическими объектами, обретая рукава, которые всё больше расходятся из за увеличивающейся центробежной силы. Постепенно растёт и масса ядра, увеличивая вокруг него гравитационное поле. А, поступающее из белой дыры излучение, не даёт этому объекту коллапсировать, образовав чёрную дыру.
Как было показано выше, неоднородность плотности вакуума, а точнее, пограничной области гиперпространства, приводит к тому, что уровень излучения белой дыры меняется во времени, по мере перемещения космического тела в пространстве. Этим можно объяснить, например, изменение мощности излучения Солнца, как кратковременные, так и долговременные, его непостоянство и неожиданные всплески активности, изменение структуры его поверхности. Вероятно, то же самое можно сказать и о других звёздах, квазизвёздных объектах и ядрах галактик, находящихся в нашей Вселенной. На планеты это, скорее всего, влияет в меньшей степени.
Объяснение парадокса «Слабого молодого Солнца»
При помощи данной концепции можно объяснить некоторые астрофизические проблемы, объяснение которых вызывает в настоящее время затруднение. Одной из таких проблем является, так называемый, «Парадокс слабого молодого Солнца». Этот астрофизический парадокс возник, когда учёные осознали, что наше Солнце почти на 30 % ярче, чем было четыре миллиарда лет назад. Но, если это действительно так, то Земля должна была получать намного меньше тепла в прошлом, а, значит, поверхность планеты была бы сплошь заморожена. В то же время геологические исследования архейских осадочных пород показывают, что в эту эпоху на Земле был влажный и тёплый климат. Некоторые учёные выдвигают теорию, что Земля в то время находилась ближе к Солнцу
[53], соответственно, она получала больше энергии. Однако если Солнце излучало на 30 % меньше энергии, то насколько же ближе к нему должна была бы находиться Земля?
Согласно представлениям о наличии внутри Солнца белой дыры, которая инициирует и поддерживает, протекающие в его недрах термоядерные реакции, у нас нет необходимости говорить о том, что наше светило в далёком прошлом было настолько слабым. Более того, можно пересмотреть саму эволюцию нашего светила и возникновения планет солнечной системы. Имея внутренний источник энергии, поддерживающий термоядерные реакции и снабжающий Солнце топливом, наша звезда может вести себя по-другому.
Примерно 5–6 миллиардов лет тому назад мощность излучения Солнца превысила силу сдерживающего плазму магнитного и гравитационного поля, светило взорвалось, сбросив небольшую часть своей оболочки, (1–2 %) снова уменьшившись в размерах.
Масса Солнца упала, соответственно упало и давление в его центре, что, в свою очередь, привело к уменьшению мощности излучения белой дыры. Планеты, составлявшие солнечную систему того периода, взрывом смело за пределы облака Оорта, возможно, часть из них улетело в межзвёздное пространство. Само же облако Оорта, а, возможно, и пояс Койпера, частично образовались из осколков этих планет.
Такая схема может объяснить наличие «Блуждающих планет» в межзвёздном пространстве, появляющихся там, в результате взрыва их материнской звезды.
Из протопланетного плазменного облака, постепенно образовались новые планеты. В таком случае, мощность излучения Солнца может упасть всего на несколько процентов, но и планеты раньше находились немного ближе к светилу, и, по мере нарастания массы, начали потихоньку удаляться от него.
Двигаясь по орбите вокруг Солнца, скорость планеты находится в промежутке между первой и второй космическими скоростями светила. Как уже было показано выше, увеличение массы космического тела, равносильно увеличению силы, приложенной к телу, или созданию тяги, переводящей тело на более высокую орбиту. Этим же можно объяснить постепенное удаление Луны от Земли. Причём, это удаление не может быть равномерным, так как, если, как считается, Луна появилась у Земли 4,5 млрд. лет тому назад, то за это время, удаляясь, как сейчас, на 4 см в год, она, в то время, должна была бы быть ближе к Земле, примерно, на 180000 км, или на 47 % ближе, чем сейчас. Если масса Луны увеличивается из-за белой дыры, то нарастание массы, а, следовательно, и скорость удаления от Земли неравномерны и идут по очень пологой экспоненте.
Проблема размеров флоры и фауны Земли в доисторический период
Косвенным доказательством того, что раньше на Земле притяжение было гораздо меньше, служит то, что на Пангее росли высокие папоротники и хвощи, а, так же по ней бродили огромные многотонные динозавры, которые не смогли бы существовать в наше время. Косвенно наличие меньшего ускорения свободного падения на Земле во времена Мезозойской эры подтверждает наличие динозавров в то время.
Давайте попробуем рассчитать возможность увеличения радиуса и массы нашей Земли и, как следствие, усиления её гравитационного поля, исходя из того факта, что сотни миллионов лет тому назад на Земле жили гигантские ящеры – динозавры.
Итак, по данным В.Ф. Блинова:
180 млн. лет тому назад g = 4,2 м/с
2;
Сейчас g = 9,81 м/с
2.
Во времена Юрского периода на Земле жили самые высокие из известных ящеров – брахиозавры, по другому один из видов брахиозавра называется жираффотитан, обитавшие примерно в это время (152–145 миллионов лет тому назад, считающиеся тогдашними аналогами современных жирафов).
Средний рост брахиозавра составлял 12 метров. Средний рост современного жирафа составляет 5,2 метра. Сердце брахиозавра по объёму, примерно, равнялось сердцу жирафа. Учитывая тот факт, что голова брахиозавра была очень маленькой и, мозг его, примерно, равнялся по объёму мозгу жирафа, примем, что масса крови, которую нужно было закачать к голове, тоже, примерно, была одинаковой. Примем за g
1 ускорение свободного падения на Земле в Юрский период, а за g
2 ускорение свободного падения в настоящее время – 9,81 м/с
2. Примем за H
1 возможную высоту брахиозавра – 12 м, а за H
2 высоту современного жирафа равную 5,2 м.
Тогда, исходя из этих данных, легко подсчитать, что энергия, необходимая на доставку крови к головам брахиозавра и жирафа равняется:
E = mg1H1 = mg2H2, или g1H1 = g2H2.
Отсюда легко посчитать ускорение свободного падения в тот период, когда обитали брахиозавры:
g1 = H2/H1 = 5,2/12 · 9,8 = 0,43 · 9,8 = 4,21 м/сек2
Самое большое животное на Земле в наше время – Слон, вес его 7–8 тонн. Он настолько тяжёлый, что не может прыгать. Один из крупнейших динозавров – Апатозавр (Бронтозавр), обитавший в то время на Земле, весил, примерно, 16–18 тонн.
Посчитаем соотношение весов этих животных. Примем за m
1 – массу Апатозавра, g
1 ускорение свободного падения на Земле в Юрский период = 4,2 м/с
2, за m
2 – массу Слона, за g
2 ускорение свободного падения в настоящее время – 9,81 м/с
2. Тогда:
P = m1g1 = m2g2, m1 = g2/g1·m2 = 9,8/4,2·7,0 = 16,31 тонны.
Считается, что во время Юрского периода около 180 миллионов лет назад Пангея раскололась на Гондвану и северный континент Лавразию, которые разделил океан Тетис. Фауна была представлена динозаврами, в т. ч. огромными аргентинозаврами, и апатозаврами. Затем, вследствие дрейфа литосферных материковых плит, Пангея раскололась на материки, которые мы наблюдаем в настоящее время.
Фотометрический парадокс
Впервые этот парадокс сформулировал во всей его полноте швейцарский астроном Жан-Филипп Луи де Шезо (1718–1751) в 1744 году, хотя аналогичные мысли высказывали ранее и другие учёные, в частности, Томас Диггес, Иоган Кепплер, Отто фон Герике и Эдмунд Галлей. Иногда фотометрический парадокс называется парадоксом Ольберса в честь астронома, который привлёк к нему внимание в XIX веке. Поток энергии излучения, принимаемого от звезды, уменьшается обратно пропорционально квадрату расстояния до неё. Но угловая площадь (телесный угол), занимаемая на небе каждой звездой, также уменьшается обратно пропорционально квадрату расстояния, из чего следует, что поверхностная яркость звезды (равная отношению потока энергии к телесному углу, занимаемому на небе звездой) не зависит от расстояния. А это означает, что ночное небо над нашими головами должно быть заполнено звёздами, но мы этого не наблюдаем. Объясняется этот парадокс конечностью возраста, а, следовательно, границей расширения, Вселенной, и глубоким смещением в красную область спектра далёких галактик.
На самом деле, как мы рассчитали, красное смещение может возникать не из-за эффекта Доплера и расширения пространства в результате «Большого взрыва», а из-за потери энергии фотонами в Мировой среде. Исходя из этого, можно посчитать предельную границу возможных оптических наблюдений звёзд и галактик.
Возьмём рассчитанную нами в абзаце 6 удельную потерю части энергии фотоном, эквивалентную потере части скорости света при пролёте дистанции в один Мпк равную 73,92 (км/с)/Мпк, и рассчитаем радиус границы возможных оптических наблюдений звёзд и галактик, который будет равен ≈ 13·10
9 световых лет.
Таким образом, все светящиеся объекты, которые расположены на расстоянии более 13 млрд. св. лет, будут недоступны для нас при наблюдении с Земли. Это означает, что мы не увидим на ночном небе Земли свет от этих звёзд и галактик. Но, чем дальше мы сможем послать космический телескоп в глубины Вселенной, тем дальше мы сможем заглянуть в её просторы.
Гиперпространство и Мультивселенная
Так же, как внутри любого объёма может разместиться бесконечное количество плоскостей, так же и в гиперобъёме может разместиться бесконечное количество объёмов. Таким образом, в гиперпространстве может существовать множество трёхмерных вселенных. Могут ли эти вселенные каким-либо образом сообщаться между собой? Один из возможных вариантов – зона неопределённости (квазичетырёхмерный потенциальный барьер), осуществляющая связь нашей Вселенной с Тахионной областью.
В физике он ещё известен под названием «Кротовая нора», хотя, в этом случае, имеется в виду чёрная дыра, механизм перехода в «другое измерение» внутри которой, никак не описан. Согласно гипотезе Стейнхардта и Тьюрока, рядом с нашей браной – Вселенной «плавает» ещё одна трёхмерная брана – другая вселенная, отделённая крошечным расстоянием. В таком случае, Мультивселенная будет состоять из множества вселенных, «плавающих» в гиперпространстве и сообщающимися между собой сквозь чёрные и белые дыры через посредство зон неопределённости.
Тогда график перехода материи и энергии в эти вселенные из нашей Вселенной будет выглядеть следующим образом:

Графики изменения энергетических и пространственно-временных характеристик при переходе из одной трёхмерной вселенной в другую
Здесь, M
1,2 – характеристики материальных свойств M
1,2 = f(S
1,2,t
1,2,F
1,2), соответственно нашей и соседней вселенных;
c – скорость света;
v
с1,v
с2 – границы межпространственного барьера (зоны перехода) материи из трёхмерного в четырёхмерное состояние соответственно нашей и соседней вселенных;
S
1,2,t
1,2 – расстояние и время соответственно нашей и соседней вселенных.
F
1,2 – воздействие соответственно нашей и соседней вселенных.
Выводы
– На основании анализа и вывода формул некоторых характеристик материальных объектов, движущихся на субсветовых и гиперсветовых скоростях, показано, что формулы преобразований Лоренца и СТО легко выводятся из движения объектов при произвольном прямолинейном равномерном смещении. Так же показано, что возможно небольшое превышение скорости света, при переходе через потенциальный барьер. Таким способом убираются бесконечные и нулевые характеристики, присутствующие в СТО. При увеличении скорости перемещения объекта, сокращается не линейный размер в направлении движения, а мнимая величина пути, которую проходит световой луч. Увеличивается время передачи информации (воздействия) внутри объекта, при этом на нём замедляется время. Поэтому «Парадокс близнецов» перестаёт быть парадоксом, так как близнец, улетевший на ракете, будет реально двигаться с большей скоростью относительно Мировой среды и, оставшегося на Земле брата, и все процессы на его корабле замедлятся. При увеличении скорости материального объекта меняется не его масса, а сила, которую необходимо сообщить объекту, чтобы достичь того же самого ускорения, которое может быть достигнуто при меньшей скорости перемещения в пространстве, при относительно меньшем уровне воздействия.
– Существуют физические процессы перехода через «световой барьер». Зона неопределённости является специфической областью, в которой начинают одновременно действовать силы трёхмерного и четырёхмерного пространства. Описаны процессы, происходящие в этой зоне, а так же поведение частиц пересекающих эту зону из гиперпространства. Описано возможное возникновение условий неравновесного состояния «Кипящего вакуума» и возникновения зоны неравновесности.
– С высокой точностью рассчитана температура фонового излучения Вселенной, исходя из процессов, происходящих в зоне неопределённости, а так же из этих же соображений, с точностью менее 1 %, рассчитано космологическое красное смещение. Таким образом, фоновое излучение Вселенной – это энергетический шум «Кипящего вакуума», а космологическое красное смещение объясняется не расширением Вселенной и эффектом Доплера, а потерей энергии фотонами на процессах, происходящих в зоне неопределённости. Таким образом, становится понятно, что наша Вселенная стационарна, а её видимый предел находится от нас на расстоянии ≈ 13·10
9 св. лет.
– На основании зоны неопределённости, и процессов в ней происходящих, предложен механизм возникновения белых дыр внутри таких космических объектов, как планеты, звёзды, квазизвёздные объекты и ядра галактик. Белые дыры могут генерировать материю и энергию, создавать магнитное поле объектов, быть ответственными за скорость вращения этих объектов и поддержание термоядерных реакций внутри них. Рассчитаны минимальные условия возникновения белых дыр. На основании этого предположения, рассчитаны параметры изменения массы, радиуса, ускорения свободного падения, температуры внутреннего ядра Земли за последние 280 млн. лет. Обосновано увеличение массы и размеров Земли в рамках теории «Растущей Земли». Показана динамика процесса и источник этого увеличения. Объяснен механизм дрейфа магнитных полюсов, потеря магнитного поля у Луны и Марса в настоящее время.
– Существуют белые дыры, зависящие от типа небесного тела, в котором они возникают и развиваются: планеты, планеты – гиганты типа Юпитера, субзвёзды и Коричневые карлики, звёзды классов от Y до O, квазизвёздные объекты и ядра галактик. Рассчитаны температуры их внутренних ядер. Внутренняя структура этих объектов, может меняться от обычной плазмы, до высокотемпературной и кварк – глюонной плазмы.
– Нарастание массы планет, вследствие действия внутри них белых дыр, приводит к постепенному удалению их от Солнца, поднимая гелиоцентрическую орбиту. Так как кинетическая энергия планеты, вращающейся по орбите вокруг Солнца, зависит от скорости планеты и её массы, то увеличение массы планеты приводит к повышению этой энергии, что равносильно включению двигателя космического аппарата на орбите и переводу его на более удалённую орбиту. Именно поэтому, раньше на Земле и на Марсе было теплее.
– Поскольку время на разных космических объектах зависит от скорости их перемещения относительно скорости фронта электромагнитной среды в Мировой среде, по сути, являющейся абсолютной системой отсчёта, то физические и химические процессы, протекающие на них, могут отличаться по скорости аналогичных процессов, идущих на Земле. Это мы можем наблюдать на примере искусственных спутников, скорости и траектории которых, немного отличаются от расчетных.
Примечания
1
Wollack E. J. “Cosmology: The study of the Universe. Universe 101: Big Bang Theory”. NASA. 10.12. 2010.
(обратно)2
А. В. Засов, К. А. Постнов «Галактики и скопления галактик». Общаяастрофизика. Фрязино. Век 2. 2006. с. 412. ISBN 5-85099-169-7.
(обратно)3
Abbott B.P. et al. (LIGO Scientific Collaboration and Virgo Collaboration) (2016). “Observation of Gravitational Wawes from a Binary Black Hole Merger”. Physical Review Letters 116(6). DOI: 10.1103/PhysRevLett.116.061 102.
(обратно)4
Ade P. A. R. et al. (Planck Collaboration). “Planc 2013 resaults. I. Overview of products and scientific results”. Astronomy and Astrophysics. 22.03.2013. 1303:5062. arXiv.1303.5062.DOI.10.1051/0004-6361/201321529. Bibcode: 2013arXiv1303.5062P.
(обратно)5
Riess A. G. et al., “A 2.4 % Determination of the Local Value of the Hubble Constant”. arXiv:164.01424 [astro-ph].
(обратно)6
Дж. Орир. «Физика» в 2-х томах. Москва. «МИР». 1981, с.132.
(обратно)7
Сажин М. В. «Современная космология в популярном изложении». М. УРСС. 2002. с. 145–148, 240.2500 экз. ISBN 5-354-00012-2.
(обратно)8
Science Direct. “Physics Letters B: Detection of a dipole in the handedness of spiral galaxies with red shifts”.
(обратно)9
Pani Paolo, Cardoso Vitor, Gualtieri Leonardo, Berti Emanuele, Ishibashi Akihiro Black-Hole Bombs and Photon-Mass Bounds (англ.)//Physical Review Letters. – 2012. – Vol. 109, iss. 13. – P. 131102 (5 p.). – DOI:10.1103/PhysRevLett.109.131102.
(обратно)10
Линде А. Д. “Nonsingular Regenerating Inflationary Universe”. 1982.
(обратно)11
Смолин, Ли. “The fate of black hole singularities and the parameters of the standard models of practical physics and cosmology”.1992.
(обратно)12
J. Khoury, B.A. Ovrut, P.J. Steinhardt, N. Turok. “The Ekpyrotic Universe: Colliding Branes and the Origin of the Hot Big Bang”. Physical Review.2001.No. D64.ISSN 123522.
(обратно)13
Понятов А. «Квантовые эффекты в масштабе Вселенной». Наука и жизнь.2013. № 7.
(обратно)14
Сажин М. В. «Современная космология в популярном изложении». М. УРСС. 2002. с. 145, 146.2500 экз. ISBN 5-354-00012-2.
(обратно)15
Сажин М. В. «Современная космология в популярном изложении». М. УРСС. 2002. с.147–148,240.2500 экз. ISBN 5-354-00012-2.
(обратно)16
Садохин А.П. «Концепции современного естествознания». Учебник. – 2-ое изд., дополн. и пер. – М. Юнити. 2006. с. 446–447.
(обратно)17
Ю.Л. Шахбазян. Амбарцумян: «Этапы жизни и научные концепции». М. Молодая гвардия. 2011. с.138, 240. Серия – Жизнь замечательных людей. Выпуск 1249.
(обратно)18
Карно С., Томсон У., Клаузиус Р., Больцман Л., Смолуховский М. «Второе начало термодинамики». ГТТИ. 1934. с.133.
(обратно)19
«Тепловая смерть» Вселенной». Физическая энциклопедия. В 5-ти томах. М. Советская энциклопедия. Главный редактор А.М. Прохоров. 1988.
(обратно)20
Ландау Л.Д., Лифшиц Е.М. «Теория поля». Москва. Наука. 1988. с.17, 18, 25.
(обратно)21
Вайнберг С. «Первые три минуты». пер. с англ., M., 1981, P.А. Сюняев.
(обратно)22
“Einstein from “B” to “Z”. Volume 9 of Einstein studies. Springer, 2002.
(обратно)23
Фейнман Р., Лейтон Р., Сэндс М. «Фейнмановские лекции по физике». Т.1. «Современная наука о природе. Законы механики». Мир. Москва. 1977. с.271.
(обратно)24
Иовлев Ю.П. «Новый взгляд на современную физику и теорию мироздания». LAP LAMBERT Academic publishing. 2018. ISBN 978-613-9-82633-9. с.30.
(обратно)25
Барашенков В.С. «Тахионы. Частицы, движущиеся со скоростями больше скорости света». УФН. 1974.
(обратно)26
Ландсберг Г.С. «Элементарный учебник физики». Том II. Электричество и магнетизм. – М.: Наука, 1964. – Тираж 100 000 экз. – С. 33.
(обратно)27
Fixsen, D. J. “The Temperature of the Cosmic Microwave Background”. Astrophysical Journal. 2009. Т.707. p.916–920. DOI:10.1088/0004-637X/707/2/916. Bibcode:2009.ApJ…707..916F. arXive:0911.1955.
(обратно)28
Riess A. G. et al., " Determination of the Local Value of the Hubble Constant". arXive:1604.01424 [astro-ph].
(обратно)29
“The Sun”. Astronomy and Astrophysics. Volume 604. p.17. August 2017. https://doi.org/10.1051/0004-6361/201730460.
(обратно)30
Michel, F. C. “NASA and Jet Propulsion Laboratory, Workshop on the Physics of Planetary and Astrophysical Magnetospheres”. Snowmass, Colo. July 30 – Aug. 4, 1978. Space Science Reviews. Vol. 24. Dec. 1979.
(обратно)31
Блинов В.Ф. «Растущая Земля: из планет в звёзды». М. Издательство Едиториал. УРСС. 2003. с.271.
(обратно)32
Бетелев Н.П. «О концепции растущей Земли». Вулканология и сейсмология № 5. 2009. с.70–73.
(обратно)33
Бетелев Н.П. «О концепции растущей Земли». Вулканология и сейсмология № 5. 2009. с.74–77.
(обратно)34
Блинов В.Ф. «О дрейфе континентов и расширения Земли на основании инструментальных измерений». Тихоокеанская геол. № 5. 1987.с.94–101.
(обратно)35
Якушин Л.М. «Проблемы энергетических источников геодинамических процессов». Геология, геофизика и разработка нефтяных месторождений. М. ВНИИО – ЭНГ. 2001. № 12. с. 12–15.
(обратно)36
Kobychev, V. V.; Popov, S. B. (2005). “Constrains on the photon charge from observations of the extragalactic sources”. Astronomy Letters 31: 147–151. DOI:10.1134/1.1883345.
(обратно)37
Чудинов Ю. В. «Определение размеров Земли по палеомагнитным данным». Проблемы расширения и пульсаций Земли. М. Наука. 1984. с. 98–113.
(обратно)38
Vogel K. “Global models of expanding Earth”. In Barone M., Selleri F., Ed: Frontiers of Fundamental Physics. Plenum Press: New York, 1994.
(обратно)39
Hilgenberg O. Ch. “Vom Wachsenden Erdball”. Berlin. 1933. p.56.
(обратно)40
Нейман В. Б. «Расширяющаяся Земля». М. Географиздат. 1962. с.80.
(обратно)41
Creer K. M.
“A reconstruction of the continents for the Upper Paleozoic from paleomagnetic data”. Nature. V. 203. № 4950. 1964. p. 19–24.
(обратно)42
Осипишин Н. Я., Блинов В. Ф. «Возрастная зональность океанической коры и ее связь с расширением Земли». Бюлл. МОИП. отд. геол. № 4. 1987. с. 18–29.
(обратно)43
А.Ю. Ретиюм. Изв. РАН. сер. географ. № 2. 2006. c.138–139.
(обратно)44
Ронов А. Б., Хзаин В. Е., Булаховский А. Н. «Количественные закономерности распространения осадков в океанах». Литология и полезн. ископаемые. № 2, 1986. с. 3–16.
(обратно)45
Шатский Н. С. «Гипотеза Вегенера и геосинклинали». Избр. труды, т. 2. Изд-во АН СССР. 1964. с. 601–605.
(обратно)46
“Lunar Rock Opens Door to Moon’s Past”, Science Now. 15.01. 2009.
(обратно)47
Elkins-Tanton Linda T. “Jupiter and Saturn”. New York. Chelsea House. 2006. ISBN 0-8160-5196-8.
(обратно)48
«Солнечная система». Ред. – сост. В.Г. Сурдин. М. ФИЗМАТЛИТ. 2009.
(обратно)49
“Arrival at Jupiter and the Probe Mission”. National Aeronautics and Space Administration.
(обратно)50
Сажин М. В. «Современная космология в популярном изложении». М. УРСС. 2002. с.145–148, 240.2500 экз. ISBN 5-354-00012-2.
(обратно)51
Фабрика С.Н. АНИ «ФИАН – информ». 22.08.2012.
(обратно)52
Иовлев Ю.П. «Новый взгляд на современную физику и теорию мироздания». LAP LAMBERT Academic publishing. 2018. ISBN 978-613-9-82633-9. с.43.
(обратно)53
Kastings J.F., Toon O.B. “Climate evolution on the terrestrial planets. Origin and Evolution of Planetary and Satellite Atmospheres”. Space Sci. Rev. 2008. p.139, 399–436.
(обратно)Оглавление
Предисловие
Введение. Проблемы современной космологии
Анализ движения материальных объектов в трёхмерном пространстве на субсветовых скоростях
Анализ движения материальных объектов в четырёхмерном пространстве на гиперсветовых скоростях
Описание процесса перехода через световой барьер
Обмен материей и энергией между Вселенной и гиперпространством
Температура фонового излучения Вселенной
Расчёт космологического красного смещения
Подтверждение гипотезы расширяющейся Земли. Поиск и обоснование вероятного источника, обеспечивающего увеличение её массы во времени
Классификация белых дыр. Температура внутри звёзд, квазизвёздных объектов и внутригалактических ядер
Описание белых дыр
Объяснение парадокса «Слабого молодого Солнца»
Проблема размеров флоры и фауны Земли в доисторический период
Фотометрический парадокс
Гиперпространство и Мультивселенная
Выводы
*** Примечания ***
Последние комментарии
2 часов 51 минут назад
2 часов 52 минут назад
2 часов 53 минут назад
4 часов 1 минута назад
4 часов 9 минут назад
6 часов 3 минут назад