Наставление по стрелковому делу. Ручной пулемет ДП
Введение
Боевые свойства и назначение ручного пулемета
1. Ручной пулемёт ДП (рис. 1) является основным автоматическим оружием стрелкового отделения. Его боевое назначение — уничтожать открытые и маскированные групповые и важные одиночные живые цели на дистанциях до 800 м и поражать штурмующие самолеты и парашютистов на дальностях до 500 м.
Рис. 1. Общий вид ручного пулемёта
2. Огонь из ручного пулемёта ведется, как правило, короткими очередями (3–6 выстрелов). Темп стрельбы ручного пулемёта достигает 600 выстрелов в минуту. Боевая скорострельность его — до 80 выстрелов в минуту.
3. Вес ручного пулемёта с сошкой — 8,4 кг; вес магазина с патронами — 2,8 кг.
4. Прицельная дальность стрельбы из пулемёта — 1500 м; предельная дальность полёта пули обр. 1908 г. — до 3 км.
5. В бою пулемёт обслуживают наводчик и помощник наводчика.
Часть первая
Устройство, обращение, уход и сбережение ручного пулемёта
Глава I
Устройство ручного пулемёта
Описание частей пулемета
6. Ствол (рис. 2) служит для направления полета пули.
Рис. 2. Ствол:
1 — пламегаситель;
2 — газовая камора;
3 — регулятор;
4 — секторные выступы
Внутри ствол имеет:
а)
канал с четырьмя нарезами, которые вьются слева вверх направо и делают около трех оборотов по всей длине канала ствола; они служат для сообщения пуле вращательного движения при полете; промежутки между нарезами называются
полями; расстояние между двумя противоположными полями (по диаметру) определяет калибр канала ствола (7,62 мм);
б)
патронник для помещения патрона; он имеет размеры и форму патрона; патронник соединяется с нарезной частью канала ствола посредством
пульного входа.
В стенке ствола ближе к передней части имеется
газовое отверстие, прикрытое снаружи навинченной и закреплённой на стволе
газовой каморой; на дульной части —
вырезы для ключа и
винтовая нарезка для пламегасителя.
На дульный конец ствола навинчен
пламегаситель; Пламегаситель закрепляется на ствол с помощью ключа, для чего на заднем конце его по бокам сделаны
срезы.
Примечание. При отсутствии пламегасителя для предохранения нарезки и дульного среза ствола на него навинчивается муфта.
На казенной части ствола имеются
секторные выступы для соединения со ствольной коробкой и
продольный паз для замыкателя ствола. На заднем срезе — две
выемки: нижняя — для входа выбрасывателя и верхняя — для досылателя затвора.
Рис. 3. Газовая камора с регулятором:
1 — регулятор;
2 — гайка регулятора;
3 — шайба
Газовая камора (рис 3) служит для помещения регулятора и прохода газов. На передней стенке каморы —
шайба, которая надевается на передний конец кожуха для устранения качания ствола. На задней стенке —
сосок для закрепления регулятора в определённом положении.
Регулятор (рис. 4) служит для регулирования подачи пороховых газов к поршню. Он вставлен сзади в канал газовой каморы и закреплен
гайкой. Гайка во избежание самоотвинчивания крепится шплинтом. Регулятор Рис. 4. Регулятор имеет глухой
продольный канал с тремя сквозными отверстиями диаметром 2,7 мм, 3,3 мм и 4 мм. Для удобства установки регулятора соответственно отверстиям на пояске регулятора нанесены цифры 2½, 3 и 4; на этом же пояске имеются выемки для соска газовой каморы.
Рис. 4. Регулятор
8. Кожух (рис. 5) предохраняет ствол от ударов, а стрелка — от ожогов при стрельбе. Он состоит из двух соединенных между собой труб: верхней — для помещения ствола и нижней — для помещения газового поршня и возвратной пружины.
Рис. 5. Кожух:
1 — верхняя труба;
2 — продольные прорези;
3 — нижняя труба;
4 — антапка;
5 — вырез для газовой каморы;
6 — предохранитель мушки
На переднем конце кожуха сверху имеется
основание мушки с пазами и риской; на него надет
предохранитель мушки с двумя
защитными щеками, который передвигается по пазам основания мушки при помощи винта; на переднем обрезе предохранителя мушки нанесена
шкала с делениями в миллиметрах, по 5 делений (миллиметров) вправо и влево от нуля. Каждое деление разделено на равные части (полмиллиметра). Шкала эта служит для передвижения предохранителя мушки при проверке боя пулемёта (в пулемётах изготовления военного времени шкалы на предохранителе мушки нет). В предохранитель ввинчена
мушка (рис. 6).
На задней части кожуха сверху —
упор для магазина; сбоку —
антапка для ремня; спереди снизу —
вырез для помещения газовой каморы. На правой стенке выреза имеется
выступ для предохранения от поворота не вполне досланного ствола в ствольную коробку (на кожухах пулемётов прежних годов изготовления выступов нет). На верхней трубе кожуха сделаны продольные
прорези для доступа воздуха. Кожух соединён со ствольной коробкой.
Рис. 6. Предохранитель мушки и мушка:
1 — мушка;
2 — щеки предохранителя мушки;
3 — винт предохранителя мушки
9. Ствольная коробка (рис. 7) служит для помещения затворной рамы с затвором. Она имеет: внутри —
продольные пазы для движения затворной рамы и затвора; в передней части —
гнездо с секторными вырезами для соединения со стволом; в средней части —
боевые уступы для боевых упоров затвора; в задней части —
вертикальные пазы для соединения со спусковой рамой.
Снизу и сверху ствольной коробки —
окна: верхнее — для приёмника магазина, нижнее — для выбрасывания гильз; верхнее окно закрывается
щитиком. По бокам в передней и задней части ствольной коробки — отверстия: передние — для замыкателя ствола (рис. 8), задние — для соединительного винта приклада (рис. 9). Снизу в передней части ствольная коробка имеет два
прилива с выемками для соединительной муфты; снизу в средней части —
крючки для закругленных выступив спусковой рамы. Снаружи сверху на ствольной коробке укреплён
прицел; внутри под прицелом —
отражатель с пружиной.
Рис. 7. Ствольная коробка
1 — прицел;
2 — щитик;
3 — отверстие для соединительного винта приклада;
4 — крючки для закругленных выступов спусковой рамы;
5 — прилив для соединительной муфты;
6 — замыкатель ствола
Рис. 8. Замыкатель ствола
Рис. 9. Соединительный винт приклада
Рис. 10. Прицел:
1 — прицельная планка;
2 — хомутик с защёлками;
3 — гривка,
4 — прорезь;
5 — шпилька (ось);
6 — пружина прицельной планки;
7 — винт пружины прицела;
8 — колодка;
9 — ушки
10. Прицел (рис. 10), служит для стрельбы на различные расстояния. Он состоит из прицельной колодки, прицельной планки с хомутиком и пружины прицельной планки.
Прицельная колодка винтом укреплена на ствольной коробке.
Прицельная планка укреплена в ушках прицельной колодки осью-шпилькой и удерживается в придаваемом положении пружиной прицельной планки. На наружной стороне планки нанесены деления с цифрами от 1 до 15, означающими сотни метров; между делениями нанесены короткие черточки для установки прицела с точностью до 50 м. На рёбрах планки —
зубцы для удержания прицельного хомутика в приданном ему положении. Задняя часть прицельной планку оканчивается
гривкой с прорезью для прицеливания.
Прицельный хомутик надет на прицельную планку; хомутик имеет две защёлки с пружинами для удержания его и приданном положении. Внутри прицельной колодки укреплена
магазинная защёлка.
11. Магазинная защёлка (рис. 11) удерживает магазин. Спереди она имеет
зацеп для захвата за выступ приемника магазина и сзади —
выступы с насечкой для оттягивания защёлки рукой при разряжании пулемёта и предохранительными щёками для защиты прорези прицельной планки (на пулеметах прежних годов изготовления предохранительных щёк нет).
Рис. 11. Магазинная защёлка:
1 — предохранительные щеки;
2 — зацеп;
3 — пружина защелки
Защёлка удерживается в переднем положении спиральной пружиной, помещенной внутри прицельной колодки.
12. Затвор (рис. 12) служит для подачи патрона в патронник, запирания канала ствола при выстреле, производства выстрела и извлечения гильз (патронов). Он состоит из остова, ударника с бойком, двух боевых упоров и выбрасывателя с его пружиной.
Рис. 12. Затвор
Остов (рис. 13) служит для соединения всех частей затвора. Он имеет: на переднем обрезе —
чашку для шляпки патрона и
отверстие для выхода бойка; снизу в передней части —
паз для выбрасывателя с его пружиной; снизу сзади —
выступ для соединения с рамой; сверху —
досылатель с пазом для отражателя. С обеих сторон остова имеются
выемы для боевых упоров и
вырезы для выхода утолщенной части ударника. Внутри остова —
канал для ударника.
Рис. 13. Остов затвора:
1 — вырез для утолщенной части ударника;
2 — выступ для соединения с рамой;
3 — выем для боевого упора;
4 — досылатель;
5 — чашка;
6 — выбрасыватель
Ударник (рис. 14) служит для разбивания капсюля. Он имеет: на задней части —
шляпку,
боковые вырезы для соединения с затворной рамой и
утолщение для раздвигания боевых упоров затвора; в средней части —
срезы для внутренних выступов боевых упоров.
Рис. 14. Ударник:
1 — шляпка;
2 — утолщение для раздвигания боевых упоров;
3 — срезы для внутренних выступов боевых упоров;
4 — боек
В ударник вставлен боёк, который закреплен шпилькой.
Боевые упоры совместно с остовом затвора (рис. 15) служат для запирания канала ствола при выстреле. Они помещаются в боковых выемах остова затвора, с внутренней стороны упоры имеют
выступы для разведения и сведения их.
Рис. 15. Боевые упоры (
а — левый упор,
б — правый упор):
1 — выступы для разведения и сведения боевых упоров
13. Затворная рама (рис. 16) соединяет все подвижные части пулемёта. Передним концом своим она соединена со
стержнем газового поршня. Сверху, на заднем конце, рама имеет:
стойку с вырезом для ударника и
выем для помещения выступов боевых упоров и остова затвора; снизу —
паз, образующий задней стенкой
боевой взвод; в средней части сверху —
направляющий выступ (в пулемётах прежних годов изготовления рядом с выступом имеется выем для облегчения рамы); в передней части —
окно для прохода отбрасываемой гильзы и справа —
рукоятку.
Рис. 16. Затворная рама:
1 — стойка с вырезом для ударника;
2 — выем для боевых упор остова затвора;
3 — направляющей выступ;
4 — окно для выхода гильзы;
5 — рукоятка;
6 — стержень газового поршня
14. Газовый поршень (рис. 17) служит для отвода подвижных частей пулемета и крайнее заднее положение под действием пороховых газов. Он соединяется
стержнем с затворной рамой. Газовый поршень имеет в задней части
вырез, в который входит загнутый конец пружины, что предохраняет поршень от свинчивания; в передней части поршня находится
раструб для надевания на регулятор.
Рис. 17. Газовый поршень
На стержень надеты
возвратно-боевая пружина (рис. 18) и
соединительная муфта (рис. 19).
Рис. 18. Возвратно-боевая пружина
Возвратно-боевая пружина служит для подачи подвижных частей пулемёта в крайней переднее положение.
Соединительная муфта является упором для заднего конца возвратно-боевой пружины; она имеет
хвост и
выступы для соединения со ствольной коробкой.
Рис. 19. Соединительная муфта:
1 — хвост;
2 — выступ для соединения со ствольной коробкой
15. Спусковая рама (рис. 20) служит для помещения спускового механизма; к ней прикреплён приклад. На стойке спусковой рамы имеются
вертикальной пазы и
выступы для соединения со ствольной коробкой и
отверстие для соединительного винта
На переднем конце спусковой рамы имеются
закруглённые выступы для соединения с крючками ствольной коробки, снизу —
спусковая скоба.
Рис. 20. Спусковая рама с прикладом
1 — приклад;
2 — масленка;
3 — антапка
Спусковой механизм (рис. 21) служит для удержания рамы с затвором на боевом взводе спуска их с него. Он состоит из
спускового рычага с пружиной,
спускового крючка и
предохранителя с пружиной.
Рис. 21. Спусковой механизм:
1 — спусковой рычаг;
2 — пружина спускового рычага;
3 — спусковой крючок;
4 — пружина предохранителя;
5 — предохранитель
Приклад, служащий для удобства стрельбы, прикреплён к спусковой раме шурупами; он имеет слева
антапку, внутри —
маслёнку с пробкой и с кисточкой, снизу —
отверстие для подъёмника.
16. Сошка (рис. 22) служит упором при стрельбе. Она состоит из
хомута и
двух ног, укреплённых в
движке. Верхняя часть хомута откидная; она соединяется с нижней его частью при помощи
винта с барашком. На ногах сошки —
башмаки (ограничители). Концы ног называются
сошниками. В сложенном виде ноги скрепляются
пружинной застёжкой, надетой на левую ногу сошки.
17. Для хранения и переноски пулемёта положен
брезентовый чехол.
Рис. 22. Сошка:
1— ноги;
2 — башмаки;
3 — сошники;
4 — хомут;
5 — откидная часть хомута;
6 — винт с барашком
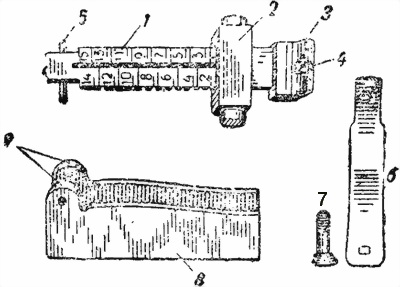
Рис. 23. Магазин:
1 — приемник;
2 — винт задержки заводной пружины;
3 — загнутая пластинка;
4 — риска
18. Магазин (рис. 23) служит для помещения 47 патронов (магазины прежних годов изготовления рассчитаны на 49 патронов). Магазин состоит из
нижнего и
верхнего дисков.
Нижний диск (рис. 24) снаружи имеет
приёмник для помещения очередного патрона, на ободе —
вилку для присоединения магазина к пулемёту и загнутую
пластинку для предупреждения перекачивания верхнего диска. Внутри диск имеет: а)
втулку для соединения с верхним диском; на втулке —
зарез для конца заводной пружины, внутри втулки —
канал двух диаметров: больший — для входа втулки верхнего диска и меньший, нарезной — для соединительного винта дисков; б)
обруч для помещения заводной пружины; в)
лоток для направления патронов из магазина в приёмник.
Верхний диск (рис. 25) внутри имеет: а) два ряда
зубьев для помещения патронов; б)
накладку для закрывания отверстий диска; в)
втулку с отверстием для соединения с наружным диском; г)
стойку для соединения с заводной группой; д)
задержку заводной пружины (в виде гильзы), прикреплённую к диску винтом; задержка ограничивает раскручивание заводной пружины при израсходовании патронов.
На магазинах, вмещающих 47 патронов, на верхнем диске имеется надпись «47 патронов».
Заводная пружина, вращая верхний диск, подает патроны к окну приёмника. Одним своим концом она соединена с неподвижной втулкой нижнего диска, а другим, имеющим петлю, — со стойкой верхнего диска.
Приёмник служит для помещения очередного патрона внутри он имеет
полозки и
скосы для направления патрона в патронник, вырезы для прохода досылателя затвора и
глубокий вырез (в задней части) для входа отражателя; в передней части —
выступ со
срезом для скольжения пули при подаче патрона в патронник. Приёмник сзади оканчивается
выступом, за который заскакивает магазинная защёлка во время присоединения магазина к пулемёту.
Рис. 24. Нижний диск магазина:
1 — лоток;
2 — втулка;
3 — заводная пружина;
4 — обруч
Рис. 25. Верхний диск магазина:
1 — отверстие для втулки;
2 — стойка;
3 — задержка заводной пружины;
4 — зубья для помещения патронов
Рис. 26. Железная коробка для магазинов
Магазины хранятся и переносятся в
железных коробках (рис. 26) или в
брезентовых сумках, по три магазина в каждой.
Описание принадлежности пулемёта
19. На каждый ручной пулемёт положено иметь следующую принадлежность (рис. 27):
а)
составной шомпол для чистки канала ствола;
Рис. 27. Принадлежность:
1 — шомпол;
2 — выколотки;
3 — щетинный ёршик;
4 — ключ-отвёртка;
5 — коленчатый стержень;
6 — прибор для прочистки газовых путей;
7 — извлекатель
б)
ключ-отвёртку для разборки и сборки пулемета; ключ имеет
вырезы для ствола, гайки регулятора и пламегасителя,
гнездо для ввинчивания и вывинчивания мушки,
лезвие для винтов и
лезвие с выступами для гайки замыкателя ствола;
в)
коленчатый стержень с щетинным ёршиком для протирания и чистки патронника через верхней окно ствольной коробки без разборки пулемёта
г)
прибор для прочистки газовых путей;
д)
две выколотки для выталкивания осей шпилек;
е)
извлекатель для извлечения из патронника оторвавшихся дулец гильз.
Вся принадлежность укладывается в
железную коробку (рис. 28) или
брезентовую сумку.
Рис. 28. Железная коробка для укладки принадлежности
Боевой патрон
20. Боевой патрон (рис. 29) состоит из гильзы, капсюля, порохового заряда и пули.
Гильза служит для соединения всех частей патрона. Она имеет: корпус, внутри которого помещается пороховой заряд, дульце, в которое вставлена и обжата пуля, и шляпку с закраиной для захвата зацепом выбрасывателя.
Дно корпуса гильзы имеет: а)
гнездо для капсюля; б)
наковальню, на которой капсюль пробивается бойком ударника; в)
два затравочных отверстия, через которые к пороху проходит пламя от капсюля.
Рис. 29. Боевой патрон:
1 — пуля;
2 — гильза;
3 — капсюль; слева — заряд пороха
Капсюль состоит из латунного
колпачка, в который впрессован ударный состав, покрытый фольговым кружком.
Заряд бездымного пороха наполняет корпус гильзы.
21. Пуля (обр. 1908 и 1930 гг.) состоит
сердечника (сплав свинца с сурьмой), впрессованного в
оболочку. Пуля закреплена в гильзе круговым обжимом дульца. Головная часть пули обр. 1930 г. окрашена в
жёлтый цвет.
22. Бронебойная пуля состоит из
оболочки и
свинцовой рубашки, внутри которой запрессован стальной
сердечник. Головная часть пули окрашена в
чёрный цвет.
23. Трассирующая пуля состоит из
оболочки, внутри которой спереди помещается
сердечник из сплава свинца с сурьмой, а сзади —
стаканчик с запрессованным трассирующим составом. Головная часть пули окрашена в
зелёный цвет.
Глава II
Работа частей и механизмов пулемета
Положение частей и механизмов пулемёта до заряжания
24. Части и механизмы пулемёта до
заряжания находятся в следующем положении:
а) затворная рама с газовым поршнем и затвором — в крайнем переднем положении; возвратно-боевая пружина — в наименьшем напряжении; газовый поршень раструбом надвинут на регулятор; затвор плотно запирает патронник; боевые упоры затвора разведены в стороны и заходят за боевые уступы ствольной коробки; ударник спущен;
б) отражатель — в крайнем верхнем положении; его пружина сжата;
в) спусковой рычаг приподнят кверху; хвост спускового крючка отведён вперед и упирается в предохранитель; выступ предохранителя опущен;
г) окно ствольной коробки закрыто щитиком.
Работа частей и механизмов пулемёта при заряжании
25. Для заряжания пулемёта нужно:
1) сдвинуть шитик вперед;
2) отвести рукоятку назад доотказа;
3) присоединить снаряженный магазин.
При сдвигании щитика открывается верхнее окно ствольной коробки.
При отводе рукоятки назад:
а) газовый поршень, отходя назад, сжимает на стержне возвратно-боевую пружину, задний конец которой упирается в соединительную муфту;
б) затворная рама отводит назад соединённый с ней ударник; утолщённая часть ударника, выйдя из затвора, освобождает боевые упоры;
в) боевые упоры затвора под действием скосов выемки затворной рамы сводятся, выходят из уступов ствольной коробки и освобождают затвор;
г) затвор под действием на его нижний выступ передней стенки выемки затворной рамы отходит назад;
д) спусковой рычаг давлением отходящей назад затворной рамы утапливается; когда же рама дойдёт до крайнего заднего положения, спусковой рычаг под действием своей пружины снова поднимается и шепталом заскакивает за боевой взвод затворной рамы;
е) затворная рама, а вместе с ней и другие подвижные части останавливаются в крайнем заднем положении.
При постановке магазина патрон, находящийся в окне приёмника, становится впереди досылателя затвора: пулемет заряжен для автоматической стрельбы.
Работа частей и механизмов пулемёта при стрельбе
26. Для открытия огня нужно, обхватив рукой шейку приклада, прижать предохранитель и нажать на спусковой крючок.
При этом:
а) предохранитель освобождает спусковой крючок; спусковой крючок, вращаясь на своей оси, нажимает на спусковой рычаг и выводит его шептало из-под боевого взвода затворной рамы;
б) затворная рама вместе с ударником под действием возвратно-боевой пружины устремляется вперед;
в) утолщённая часть ударника, упираясь в выступы боевых упоров затвора, заставляет двигаться вместе с собой и весь затвор;
г) при движении затвора вперёд его досылатель выталкивает очередной патрон из приёмника магазина и посылает его в патронник;
д) при подходе затвора к заднему обрезу ствола досылатель и выбрасыватель затем входят в соответствующие выемки на обрезе ствола, и выбрасыватель зацепом заскакивает шляпку патрона;
е) при дальнейшем движении затворной рамы ударник, входя глубже в канал остова затвора своей утолщённой частью раздвигает боевые упоры затвора;
ж) боевые упоры затвора упираются своими концами в боевые уступы ствольной коробки, отчего канал ствола прочно запирается затвором;
з) затворная рама, продолжая движение вместе с ударником, выводит боёк ударника через отверстие чашки затвора; боёк разбивает капсюль патрона, и происходит выстрел.
27. При выстреле, когда пуля минует газовое отверстие ствола, часть пороховых газов, следующих за пулей, устремляется через газовое отверстие ствола в газовую камору, затем через отверстие регулятора ударяет в газовый поршень и отводит поршень, а вместе с ним стержень и затворную раму назад.
При этом:
а) с началом движения затворной рамы назад затвор остаётся на месте до вылета пули из канала ствола, продолжая запирать ствол и не допуская прорыва газов в ствольную коробку;
6) ударник одновременно с затворной рамой начинает движение назад, и, как только его утолщённая часть выйдет из затвора, боевые упоры получают возможность сводиться;
в) при дальнейшем движении затворной рамы боевые упоры под действием скосов выемки рамы сводятся, выходят из боевых уступов ствольной коробки и освобождают затвор, затвор вместе с рамой отходит назад;
г) зацеп выбрасывателя с отходом затвора назад извлекает из патронника стреляную гильзу; гильза, наткнувшись шляпкой на отражатель, выбрасывается через нижнее окно ствольной коробки.
В остальном работа частей пулемёта будет такой же, как и при отводе затворной рамы назад рукой за рукоятку, но так как спусковой крючок нажат, то затворная рама не останавливается на боевом взводе, а, отойдя назад доотказа, под действием возвратно-боевой пружины тотчас же устремляется вперёд; затвор своим досылателем выталкивает новый патрон из приёмника магазина и досылает его в патронник; ударник разбивает капсюль, и происходит выстрел.
Под действием газов части пулемёта снова, проделывают ту же работу: перезаряжают пулемет, производят новый выстрел и т. д. Автоматическая стрельба продолжается до тех пор, пока нажат спусковой крючок и в магазине имеются патроны.
При освобождении спускового крючка боевой взвод отошедшей рамы заскакивает за шептало поднявшегося спускового рычага, рама останавливается в заднем положении, и стрельба прекращается, но пулемёт остается заряженным.
Глава III
Нарушение нормальной работы механизмов пулемета
Общие меры предупреждения и устранения задержек при стрельбе
28. Хорошо подготовленный пулемёт при правильном с ним обращении, внимательном уходе и сбережении является оружием надежным и безотказным.
Однако при длительной боевой работе, вследствие износа и поломки частей, загрязнения механизмов, неисправности патронов, а главное вследствие неосторожного обращения и невнимательного ухода, в механизмах пулемёта могут возникнуть неисправности, нарушающие их нормальную работу и вызывающие задержки при стрельбе.
29. Для предупреждения задержек при стрельбе нужно:
а) строго соблюдать правила хранения, разборки, сборки, чистки и осмотра пулемёта;
6) перед снаряжением магазинов тщательно осматривать патроны и состояние магазинов; неисправными патронами магазины не снаряжать;
в) перед стрельбой смазывать трущиеся части ружейной смазкой; во время перерывов в стрельбе прочищать регулятор, раструб газового поршня и патронник, удалять сгустившуюся мазку с трущихся частей и смазывать их и патронник зимней ружейной смазкой;
г) не доводить ствол до перегревания, сменяя его при напряжённой стрельбе через каждые 250–300 выстрелов;
д) во время стрельбы, при перебежках и остановках тщательно оберегать пулемёт от засорения (песком, пылью, землёй).
30. Всякую задержку в стрельбе стремиться устранить простым перезаряжанием, оттягивая рукоятку затворной рамы назад доотказа. Если задержка перезаряжанием не устраняется или по устранении повторяется, разрядить пулемет и, определив причину задержки, устранить её.
31. Характерные неисправности, вызывающие задержки при стрельбе:
| Задержки |
Причина задержки |
Способ устранения |
| 1. Утыкание патрона в скос передней стенки приёмника магазина: подвижные части и рукоятка остановились в промежуточном положении. |
Слабость заводной пружины магазина или недостаточный завод её. Недовинчен соединительный винт. Расшатался приёмник. |
Оттянуть рукоятку назад доотказа, снять магазин, исправить положение патрона в приёмнике магазина или удалить патрон; зарядив пулемёт, продолжать стрельбу с этим же магазином. В случае повторения задержки оттянуть рукоятку назад доотказа, снять магазин и заменить его новым; в неисправном магазине устранить причину задержки. |
| 2. Неподача патрона в приёмник магазина: подвижные части в крайнем переднем положении, но патронник пуст. |
Слабость заводной пружины магазина или недостаточный завод её. Помятость магазина. Перекос патрона в магазине. |
Оттянуть рукоятку затворной рамы назад доотказа, снять магазин и заменить его новым. В неисправном магазине устранить причину задержки. |
| 3. Замедленное продвижение подвижных частей вперёд: боёк ударника не разбил капсюля патрона. |
Загрязнение пулемёта или сгустившаяся смазка на трущихся частях. Неисправность возвратно-боевой пружины (осадка или поломка её). Излишне тугая заводка пружины магазина, создающая усиленное трение шляпки подаваемого в патронник патрона о корпус следующего патрона в магазине. Забоины на полозках приёмника магазина. |
Оттянуть рукоятку затворной рамы назад доотказа и продолжать стрельбу. В случае повторения задержки оттянуть рукоятку назад доотказа, снять магазин и, в зависимости от причины задержки, разобрать, прочистить и смазать зимней ружейной смазкой трущиеся части, заменить возвратную пружину новой или сменить магазин. |
| 4. Недоход подвижных частей в крайнее переднее положение: ударник не вышел вперёд насколько нужно, и боёк не разбил капсюля. |
Свинчивание газового поршня, засорение его раструба (нагар) или кривизна стержня. Погнутость трубки регулятора. Помятость патрона. Загрязнение патронника. |
Оттянуть рукоятку назад доотказа, снять магазин и, в зависимости от причины задержки, довернуть газовый поршень, прочистить раструб, выбросить помятый патрон или прочистить патронник. Исправление трубки регулятора и газового поршня производить в оружейной мастерской. |
| 5. Осечка: при правильной работе частей выстрела не произошло. |
Поломка бойка ударника или неисправность капсюля патрона. |
Оттянуть рукоятку назад доотказа и продолжать стрельбу; в случае частого повторения задержки разрядить пулемёт и заменить ударник. |
| 6. Неполный отход подвижных частей назад после выстрела: вытянутая из патронника стреляная гильза не дошла до отражателя и не выброшена из пулемёта; с движением подвижных частей вперёд гильза вновь попала в патронник. |
Засорение газового отверстия регулятора. Загрязнение трущихся поверхностей затвора и ствольной коробки. Неисправность патрона (неполный заряд). |
Отвести рукоятку затворной рамы назад дооотказа и продолжать стрельбу; в случае повторения задержки отвести рукоятку назад доотказа, снять магазин, разобрать и вычистить пулемёт; если для чистки пулемёта нет времени, промыть трущиеся части его через окно коробки керосином или зимней ружейной смазкой; в крайнем случае сменить ствол или повернуть регулятор на отверстие с большим диаметром. |
| 7. Неотражение стреляной гильзы: при полном отходе подвижных частей назад гильза не сбрасывается с зацепа выбрасывателя. |
Поломка отражателя или его пружины. |
Оттянуть рукоятку назад доотказа, снять магазин и удалить из затвора гильзу; заменить в оружейной мастерской отражатель или его пружину. |
| 8. Утыкание патрона: гильза при отходе частей осталась в патроннике; очередной патрон, посылаемый затвором в патронник, уткнулся в гильзу. |
Неисправность зацепа выбрасывателя или его пружины. Срыв зацепа выбрасывателя со шляпки гильзы при сильно нагретом стволе и загрязнённом патроннике. |
Оттянуть рукоятку назад доотказа, снять магазин, удалить гильзу лезвием отвёртки; если это не удаётся, вытолкнуть гильзу шомполом через канал ствола. При устранении задержки, в зависимости от причины её, заменить выбрасыватель, прочистить патронник или заменить ствол. |
| 9. Непроизвольная автоматическая стрельба: при освобождении спускового крючка стрельба не прекращается. |
Неисправность шептала спускового рычага или его пружины. Неисправность боевого взвода затворной рамы. Сгустившаяся смазка в частях спускового механизма (особенно зимой). Неполный отход подвижных частей назад из-за усиленного трения (засорение, сгущение смазки), излишне сильной возвратно-боевой пружины или засорения газовых путей. |
Остановить подачу патронов из магазина, задержав рукой верхний диск; снять магазин и, в зависимости от причины непроизвольной стрельбы, обтереть сгустившуюся смазку в частях спускового механизма и на трущихся частях пулемёта и слегка смазать их зимней ружейной смазкой (при недостатке времени промыть подвижные части через окно ствольной коробки керосином или зимней ружейной смазкой); повернуть регулятор на отверстие с большим диаметром. Неисправные части отправить в оружейную мастерскую или заменить их запасными. |
Глава IV
Правила сбережения ручного пулемёта и обращения с ним
Сбережение пулемёта и обращение с ним
32. Хранение ручного пулемёта в подразделении возлагается на наводчика. Он обязан хранить и содержать пулемёт в отличном состоянии и чистоте, обращаться с ним бережно, ежедневно осматривать, чтобы убедиться в полной его исправности и боевой готовности.
33. При казарменном расположении пулемёт хранить без чехла в пирамиде своего подразделения, в специально приспособленном гнезде. Перед постановкой пулемёта в пирамиду освободить соединительную муфту, отвести подвижные части в заднее положение и закрыть окно ствольной коробки щитиком.
В лагерях, если нет закрытых пирамид, пулемёты хранить в чехлах.
34. При расположении в населенном пункте по квартирам пулемёт в чехле поставить или подвесить в удобном месте (подальше от двери и печи); соединительную муфту не освобождать (подвижные части в переднем положении); окно ствольной коробки закрыть щитиком.
35. На походе, при отсутствии угрозы нападения противника, пулемёт переносить в чехле; ремень чехла должен быть прочен и удобно пригнан; пулемёт при переноске не должен ударяться о твёрдые предметы снаряжения.
36. При переездах по железным дорогам, если вагон не оборудован пирамидами, пулемёт в чехле положить на полку так, чтобы он не мог упасть или побиться.
37. При передвижении на автомобилях и подводах пулемёт держать, как удобнее, заботливо оберегая его от толчков.
38. Магазины хранить в железных коробках или в брезентовых сумках. Запасные части хранить в специальных коробках-сумках, завернутыми в пропитанную ружейной смазкой чистую бумагу; запасные стволы, завёрнутые в пропитанную смазкой бумагу, хранить в специальных чехлах или ящиках.
39. Перед выходом на занятия и на службу наводчик должен осмотреть пулемёт и обтереть наружные металлические части; перед стрельбой протереть канал ствола. На занятиях оберегать пулемёт от грязи, песка и пыли; наблюдать, чтобы пулемёт не падал и не ударялся о что-нибудь твёрдое; особенно оберегать ствол, кожух, прицел и мушку.
40. При заряжании, разряжании и устранении задержек не делать излишних усилий, а определить причину задержки и устранить её.
41. Для предупреждения случаев раздутости и порчи никогда не затыкать канал ствола.
42. В боевой обстановке, при применении противником капельно-жидких ОВ, наводчик, укрывая себя от действия ОВ, должен одновременно укрыть и пулемёт, особенно оберегая те места, к которым придётся прикасаться при стрельбе; помощник наводчика прикрывает коробки с магазинами и принадлежностью.
Разборка пулемёта
43. Пулемёт разбирается для чистки, смазки осмотра, замены и исправления частей. Излишне частая разборка вредна, так как она ускоряет изнашивание частей; поэтому обучать разборке и сборке на боевых пулеметах воспрещается.
При разборке и сборке пулемёта соблюдать следующее:
а) разборку и сборку производить на столь или скамейке, а в поле — на чистой подстилке;
б) отделяя или вкладывая части пулемета, обращаться с ними осторожно, не допуская излишних усилий и резких ударов;
в) отвинчивая какую-либо часть или гайку, стронуть её с места ключом, а затем отвинчивать рукой; завинчивая, сначала навернуть рукой, а затем закрепить ключом.
44. Порядок разборки пулемета:
1. Пулемёт на сошке поставить на стол (на землю).
2.
Отделить ствол: а) отвести рукоятку затворной рамы назад; б) находясь с левой стороны пулемета и придерживая его правой рукой за ствольную коробку, большим пальцем этой руки нажать доотказа замыкатель ствола (в пулеметах прежних годов изготовления повернуть замыкатель головкой назад до заскока соска в выемку на стенке коробки); в) левой рукой наложить ключ снизу в вырезы на дульной части ствола и повернуть ключ кверху; затем, слегка пошатывая ствол, вытянуть его несколько вперед (рис. 30); г) отпустить замыкатель, подхватить ствол правой рукой и осторожно вынуть его из кожуха; д) нажав предохранитель и спусковой крючок левой рукой, а правой придерживая рукоятку, подать затворную раму в переднее положение (рис. 31).
Рис. 30. Отделение ствола
3.
Освободить соединительную муфту: правой рукой отвести немного рукоятку затворной рамы назад, левой рукой вложить ребром ключ-отвёртку между задним обрезом муфты и передним краем рамы; правой рукой подать рукоятку Затворной рамы вперед, а левой повернуть хвост соединительной муфты.
Рис. 31. Подача затворной рамы вперед
4.
Отделить спусковую раму с прикладом: а) придерживая пулемёт за шейку приклада левой рукой, правой вывинтить соединительный винт спусковой рамы и вынуть его; б) поддерживая ствольную коробку на ладони левой руки впереди спусковой скобы и слегка приподняв пулемёт, лёгким ударом правой руки сверху по прикладу отделить спусковую раму с прикладом; при этом следить, чтобы рама с прикладом нс упала (рис. 32).
Рис. 32. Отделение спусковой рамы с прикладом
5.
Отделить затворную раму с затвором: поддерживая пулемёт левой рукой за заднюю часть ствольной коробки, правой отвести рукоятку затворной рамы назад (рис. 33); затем, обхватив левой рукой раму вместе с затвором, вынуть их на ствольной коробки, поддерживая при этом правой рукой пулемёт за ствольную коробку (рис. 34).
Рис. 33. Отделение затворной рамы
Рис. 34. Отделение затворной рамы
6.
Отделить затвор от рамы: взять правой рукой за задний конец затвора и поднять его вверх (рис. 35).
7.
Разобрать затвор: вынуть ударник и отделить боевые упоры.
8.
Отделить газовый поршень, возвратно-боевую пружину и соединительную муфту: а) поставить раму отвесно и, нажав левой рукой ню возвратно-боевую пружину вниз, правой рукой свинтить газовый поршень, предварительно сдвинув его с места ключом (рис. 36); свинчивание газового поршня можно производить с помощью помощника наводчика, который в этом случае держит затворную раму; б) снять возвратно-боевую пружину; в) снять соединительную муфту.
Рис. 35. Отделение затвора
Рис. 36. Отделение газового поршня
9.
Отделить пламегаситель от ствола: поставить ствол отвесно и, удерживая его левой рукой (или ключом за вырезы на дульной части), правой рукой свинтить пламегаситель, предварительно стронув его с места ключом (рис. 37).
10.
Отделить регулятор: а) удерживая ствол, как при отделении пламегасителя, вынуть при помощи выколотки разрезную чеку гайки; б) наложить ключ на гайку и отвернуть её (рис. 38); если гайка закреплена туго, стронуть ее с места лёгкими ударами руки по ребру надетого на гайку ключа; в) вынуть регулятор.
11.
Отделить сошку: а) поддерживая кожух левой рукой, правой освободить барашек и вывести винт из выреза откидной части хомута; б) откинуть верхнюю часть хомута и отделить сошку.
Рис. 37. Отделение пламегасителя
Рис. 38. Отделение регулятора
45. Замена выбрасывателя и разборка спускового механизма производятся командирами и оружейными мастерами.
Порядок замены выбрасывателя: а) удерживая остов затвора на ладони левой руки выбрасывателем кверху и вперёд, ввести конец тонкой выколотки в выемку выбрасывателя и, нажав большим пальцем левой руки на выколотку, слегка приподнять передний конец пружины, в то же время правой рукой, упирая концом второй выколотки в задний вырез пружины, сдвинуть её вперёд по пазам и вынуть пружину и выбрасыватель (рис. 39); б) поставить в гнездо затвор запасный выбрасыватель, ввести пружину (вырезом назад) в паз поверх выбрасывателя и дослать ее до места нажимом выколотки на передний конец.
Рис. 39. Отделение выбрасывателя
Порядок разборки и сборки спускового механизма: а) тонкой выколоткой вытолкнуть шпильку спускового крючка и отделил спусковой крючок, рычаг и пружину; б) заменить неисправную часть, поставить в гнездо спусковой рамы спусковой рычаг и его пружину; в) придерживая спусковой рычаг прижатым, поставить на место спусковой крючок, совместить при помощи тонкой выколотки отверстия спускового крючкаспусковой рамы и закрепить крючок шпилькой.
46. Разбирать остальные механизмы пулемёта можно только в оружейной мастерской.
Сборка пулемёта
47. Порядок сборки пулемёта:
1.
Присоединить сошку: а) вложить кожух утолщённой частью нижней его трубы в хомут сошки; б) закинуть на кожух откидную часть хомута и закрепить ее винтом.
2.
Присоединить регулятор к стволу: а) вставить регулятор в канал газовой каморы, направив сосок ее в соответствующую выемку на пояске регулятора (нормальная установка регулятора — на малом отверстии, обозначенном цифрой 3; в пулемётах прежних годов изготовления — 2,5; эти цифры устанавливать против черты на правой стенке газовой каморы); б) удерживая ствол, как при отделении регулятора, навинтить гайку ключом до совмещения отверстий для чеки; в) вставить чеку и развести её концы.
3.
Присоединить к стволу пламегаситель: навинтить пламегаситель рукой и закрепить ключом.
4.
Надеть на стержень затворной рамы соединительную муфту, возвратно-боевую пружину и навинтить газовый поршень: а) удерживая затворную раму отвесно, как при разборке (рукояткой вправо), надеть на стержень соединительную муфту так, чтобы хвост её был влево и горбом от себя (рис. 40); надеть на стержень возвратно-боевую пружину, загнутый конец которой направить в продольный паз стержня, нажав на пружину вниз по стержню, навинтить на стержень газовый поршень и закрепить его ключом; при этом конец пружины должен войти в вырез поршня.
Рис. 40. Надевание соединительной муфты
5.
Собрать затвор: а) вставить боевые упоры выступами вниз в соответствующие выемы остова затвора; б) вставить ударник в канал затвора, выступом вверх, и дослать его вперед настолько, чтобы боевые упоры остались сжатыми.
6.
Соединить затвор с рамой: направить задний конец ударника в вырез стойки рамы, а нижний выступ затвора и выступы боевых упоров — в соответствующую выемку рамы.
7.
Соединить затворную раму со ствольной коробкой: а) повернуть соединительную муфты хвостом вниз; б) правой рукой взять в обхват затвор с рамой и, направляя газовый поршень в нижнюю трубу кожуха, а ребра рамы — в пазы ствольной коробки, послать раму вперед доотказа; в) подать муфту вперед доотказа с помощью ручки соединительного винта приклада и повернуть её хвост кверху.
8.
Присоединить спусковую раму с прикладом: а) придерживая левой рукой ствольную коробку, правой ввести закругленные выступы спусковой рамы в крючки ствольной коробки и поднять приклад кверху до совпадения отверстий в ствольной коробке с отверстиями в спусковой раме; б) ввинтить соединительный винт приклада так, чтобы сосок его заскочил в гнездо на ствольной коробке.
9.
Присоединить ствол: а) отвести назад рукоятку затворной рамы; б) придерживая ствольную коробку правой рукой, большим пальцем этой руки нажать доотказа замыкатель ствола, а левой рукой осторожно ввести ствол в трубу кожуха, повернув его регулятором влево и направив газовую камору в соответствующий вырез кожуха; в) повернуть ствол регулятором вниз и освободить замыкатель ствола (в пулемётах прежних годов изготовления — повернуть замыкатель головкой вперёд так, чтобы сосок его заскочил в выемку на стенке коробки).
10. Нажав левой рукой на предохранитель и спусковой крючок, а правой придерживая рукоятку, послать затворную раму в переднее положение.
Разборка и сборка магазина
48. Магазины разбираются и собираются только для чистки при сильном загрязнении или для исправления их. Разборка и сборка производятся командирами или оружейными мастерами.
Порядок разборки магазина:
1. Придерживая диски рукой, отвинтить винт задержки заводной пружины и вынуть задержку.
2. Вращением верхнего диска освободить заводную пружину.
3. Вывинтить винт, соединяющий диски.
4. Разъединить осторожно верхний и нижний диски.
6. Снять заводную пружину.
Порядок сборки магазина:
1. Вставить между обручем и втулкой нижнего диска заводную пружину, зацепом в зарез втулки.
2. Соединить диски: а) пропустить верхний диск под загиб пластинки, придерживающей его; б) поворачивая верхний диск, направить стойку заводной пружины в её петлю, осторожно соединить диски и поворотом верхнего диска проверить правильность соединения.
3. Вставить задержку заводной пружины: а) придерживая магазин левой рукой верхним диском вправо, упереть обод магазина в грудь и, вставив пулю патрона в отверстие для винта задержки, повернуть верхний диск на себя доотказа (примерно на 3¼ оборота); б) отпустить диск обратно (примерно на 1¼ — 1½ оборота) до совмещения отверстия для винта задержки с окном приёмника; в) удерживая верхний диск от вращения, вложить задержку в окно приемника, направляя её дульце к центру диска и совмещая отверстие винта задержки с соответствующим отверстием диска; г) удерживая и таком положении задержку и диск, завинтите снизу винт задержки.
4. Ввинтить винт, соединяющий диски.
Осмотр ручного пулемёта
49. Периодический осмотр пулемётов офицерским и сержантским составом производится в сроки, установленные Уставом внутренней службы Красной Армии.
Осмотр пулемётов офицерским и сержантским составом производится как в собранном, так и в разобранном виде, причём степень разборки пулемёта для осмотра заранее определяется осматривающим.
Одновременно с осмотром пулемёта осматривается положенная к нему принадлежность и запасные части.
50. Ежедневный осмотр пулемета производится наводчиком. Перед выходом на занятия, чтобы убедиться в исправности и
боевой готовности пулемёта, наводчик проверяет:
а) правильно ли закреплен ствол в ствольной коробке;
б) исправны ли мушка, прицел и оттянут ли прицельный хомутик назад доотказа (поставлен ли постоянный прицел); не сдвинут ли с места предохранитель мушки (совпадает ли соответствующее деление шкалы предохранителя с риской на приливе кожуха);
в) закреплена ли соединительная муфта;
г) надёжно ли укреплена сошка;
д) закрыто ли верхнее окно ствольной коробки щитиком;
е) правильно ли завинчен соединительный винт приклада;
ж) надежно ли завинчена пробка маслёнки;
з) исправно ли действуют спусковой механизм и предохранитель;
и) нет ли на наружных частях грязи или налёта;
к) надёжно ли прикреплён ремень;
л) исправен и не сырой ли чехол.
51. Кроме ежедневного осмотра, наводчик осматривает пулемёт в разобранном виде во время чистки и в собранном виде по окончании ее. Перед чисткой он осматривает принадлежность.
52. О всякой неисправности, замеченной при осмотре пулемёта, наводчик обязан немедленно и положить своему командиру. Неисправности пулемета, которые не могут быть устранены средствами подразделения, устраняются в оружейной мастерской.
Осмотр пулемёта в собранном виде
53. При осмотре проверить:
1.
Действие подвижной системы и спускового механизма: а) отвести рукоятку назад доотказа: отход частей должен быть плавным, без скачков, с заметным сопротивлением возвратной пружины; б) отпустить рукоятку: подвижные части должны остаться в заднем положении; в) нажать на спусковой крючок: крючок не должен подаваться назад, а затворная рама должна удерживаться на боевом взводе; г) прижать предохранитель и нажать на спусковой крючок подвижные части должны энергично пойти вперёд; д) доходят ли подвижные части пулемёта к переднее положение: поставить пулемёт вертикально, отвести затворную раму за рукоятку назад так, чтобы передний срез поршня был на уровне переднего среза направляющей трубки (чтобы шептало не заскочило за боевой взвод затворной рамы), и отпустить рукоятку — подвижные части должны дойти в переднее положение; недоход частей может произойти от трения раструба газового поршня о регулятор, от помятости направляющей трубки, погиба стержня, поломки и погиба возвратно-боевой пружины.
Примечания: 1. При крайнем переднем положении подвижных частей между передним срезом затворной рамы (у рукоятки) и задней плоскостью соединительной муфты должен быть зазор в 0,5 мм.
2. Поршень не должен ударяться о срез регулятора.
2.
Работу выбрасывателя и отражателя: отвести рукоятку назад доотказа, вложить в патронник учебный патрон (гильзу), прижать предохранитель, нажать на спусковой крючок и снова отвести рукоятку назад, при этом патрон (гильза) должен быть извлечён из патронника и выброшен из пулемёта.
3.
Исправность прицела и мушки:
а) прицельная планка не должна иметь бокового качания более 0,5 мм; качание планки до 0,5 мм допускается при условии возвращения её в первоначальное положение; планка не должна быть погнутой и должна надёжно прижиматься пружиной к прицельной колодке; прицельная прорезь планки не должна иметь забоин;
б) хомутик должен свободно передвигаться прочно удерживаться в приданном положении на зубцах прицельной планки; лёгкое качание хомутика не должно выводить переднюю грань его за черту на планке;
в) мушка не должна быть побита или погнута; она должна прочно удерживаться в своём нарезном гнезде; предохранитель мушки не должен иметь шатания в пазах прилива; соответствующее деление шкалы предохранителя должно совпадать с риской на приливе кожуха.
4.
Соединение ствола со ствольной коробкой: при освобождённом замыкателе и отведенной в заднее положение затворной раме ствол должен а особых усилий выниматься из ствольной коробки; при поставленном на место стволе между правой плоскостью прилива газовой каморы и вырезом кожуха должен быть зазор не менее 1 мм; при постановке ствола на место замыкатель должен автоматически закреплять ствол. (Замыкатель ствола у пулемётов прежних годов изготовления не должен отвёртываться и сосок головки его не должен выскакивать из выемки в стенке коробки от сотрясения или лёгких ударов рукой по головке; заскакивание соска головки в выемку должно сопровождаться щелчком).
Замыкатель, закрепляющий ствол в ствольной коробке, должен энергично возвращаться в первоначальное положение после прекращения давления на него пальцами руки.
Ствол может иметь боковые и круговые шатания. Для проверки предела шатания надо поставить пулемет вертикально, отвести затворную раму назад настолько, чтобы передний срез поршня был заподлицо с передним срезом направляющей трубки, и лёгким нажимом руки на газовую камору покачивать ствол в разные стороны, отпуская одновременно раму вперёд; газовый поршень при этом должен свободно надвигаться на регулятор.
5.
Соединение спусковой рамы со ствольной коробкой должно быть плотное, без качаний; соединительный винт приклада должен надёжно удерживаться на месте, сцепление его соска со ствольной коробкой не должно нарушаться от сотрясения; приклад должен быть прочно привёрнут шурупами и не качаться.
6.
Действие магазинной защёлки: магазин должен надёжно закрепляться защёлкой и свободно сниматься при оттянутой защёлке.
7.
Соединение пулемёта с сошкой: барашек винта должен быть крепко довёрнут; пулемёт должен иметь свободное движение на сошке вместе с хомутом; застёжка должна надёжно удерживать ноги сошки в сложенном виде.
Осмотр пулемёта в разобранном виде
54. При осмотре пулемёта в разобранном виде следует тщательно осмотреть каждую его часть. Неисправные части (имеющие трещины, скрошение металла, износ рабочих частей, сорванную нарезку, погнутость, расшатанность в соединениях, забоины и заусеницы), нарушающие нормальную работу пулемёта или угрожающие поломкой его, заменить запасными или отправить пулемёт для исправления в оружейную мастерскую. При осмотре проверить:
1.
Ствол: а) нет ли ржавчины, сыпи, грязи, раздутия, забоин и растёртости у дульного среза; сомнительный ствол отправить в оружейную мастерскую для обмера калибрами (признаки неисправностей канала ствола изложены в НСД «Винтовка обр. 1891/30 г.»), б) нет ли забоин и заусениц на секторных выступах ствола; в) не погнут ли регулятор и прочно ли он закреплен; г) правильно ли установлено отверстие регулятора.
2.
Ствольную коробку с кожухом: а) не сношены ли и не имеют ли осадки боевые уступы ствольной коробки, б) нет ли забоин и заусениц в пазах ствольной коробки; в) действует ли пружина отражателя и не скрошен ли его конец; г) не помят ли кожух; д) нет ли качания в месте соединения коробки с кожухом и совпадают риски на левой стенке коробки и кожуха; е) свободно ли передвигается щитик в пазах коробки и удерживается ли он в придаваемых ему положениях (проверяется при вертикальном положении ствольной коробки).
3.
Затворную раму со стержнем и газовым поршнем: а) нет ли заусениц и забоин на ребрах рамы; б) не сношен ли боевой взвод; в) не погнут ли стержень и не качается ли он в раме; г) повернут ли доотказа газовый поршень и вошёл ли конец возвратно-боевой пружины в его вырез; д) исправна ли возвратно-боевая пружина
Примечание. Длина возвратно-боевой пружины в разжатом виде должна быть не менее 29 см. Если пружина короче, не растягивать её, а заменить запасной.
4.
Затвор: а) нет ли забоин и заусениц на частях затвора; б) не разношена ли чашка для шляпки патрона: в) нет ли трещин или значительного выгара металла вокруг отверстия для выхода бойка ударника; г) не сносились ли концы боевых упоров; д) не скрошен и не погнут ли боек ударника; е) пружинит ли выбрасыватель и не скрошен ли его зацеп.
Боевые упоры не должны иметь на опорные концах следов глубокой осадки (уплотнения) металла и скрошенности.
5.
Спускового раму со спусковым механизмом в прикладом: а) нет ли заусениц и забоин на рёбрах; б) не качается ли приклад; в) не сношено ли шептало спускового рычага.
6. Имеют ли
ствол,
приклад,
рама,
затвор,
магазин и
ствольная коробка один и тот же номер.
Осмотр магазинов в патронов
55. Перед снаряжением магазинов:
1. Осмотреть и отсортировать патроны; не снаряжать магазин патронами с трещинами и за гусеницами на гильзах, помятыми, с неисправными капсюлями (глубоко вставленными и покрытыми зеленью), со слабо закернованными или утопленными пулями, с зеленью на поверхности гильзы и загрязнениями.
2. Осмотреть магазины: нет ли заусениц или забоин на приёмнике и не ослабли ли его за клёпки; довинчен ли доотказа соединительный винт дисков; не погнут ли лоток; достаточно ли заведена пружина и достаточен ли выход задержки пружины в окно приёмника; не погнута ли вилка зацепа.
3. Проверить действие магазина совместно с работой механизмов пулемёта: снарядить магазин 10–15 учебными патронами, присоединить его к пулемёту и проверить подачу и выбрасывание патронов, двигая раму вперед и назад рукой за рукоятку; патроны из магазина в патронник должны поступать без заклинания и энергично набрасываться наружу.
Чистка и смазка пулемета
56. Пулемёт должен содержаться всегда в полном порядке и чистоте. Это достигается бережным обращением с пулемётом, а также своевременной и умелой чисткой и смазкой его.
57. Чистку пулемёта, состоящего на вооружении подразделения, производить:
а) после учений, службы и занятий в поле без стрельбы — немедленно по окончании службы или занятий;
6) после стрельбы боевыми или холостыми патронами — немедленно по окончании стрельбы или учения; при этом тут же на стрельбище (в поле) вычистить и смазать канал ствола и остов затвора, а по возвращении со стрельбы (учения) произвести полную чистку пулемёта; в течение последующих 3–4 дней протирать чистой белой тряпкой канал ствола, а если на тряпке будет обнаружен нагар, чернота или ржавчина, то повторить чистку;
в) в боевой обстановке, на манёврах и длительных учениях в поле — ежедневно, пользуясь перерывами в занятиях или затишьем боя;
г) если пулемёт стоит без употребления, чистку производить не менее одного раза в 10 дней.
58. Смазку пулемёта производить немедленно после его чистки. Трущиеся части пулемёта смазывать во время перерывов стрельбы.
59. Чистка и смазка пулемёта производятся наводчиком и его помощником под непосредственным руководством командира отделения, который обязан:
а) определить степень необходимой разборки, чистки и смазки,
б) проверить у пулемётчиков исправность принадлежности и доброкачественность материалов для чистки;
в) проверить правильность и полноту произведённой чистки, после чего дать разрешение на смазку пулемёта;
г) проверить правильность произведённой смазки и дать разрешение на постановку пулемёта на место.
60. Чистку пулемёта в условиях казарменного или лагерного расположения производить в специально отведённых для этого местах, на оборудованных и приспособленных для этой цели столах, а в боевой или походной обстановке — на подстилах, досках и т. п., предварительно очищенных от грязи и пыли.
61. Для чистки применять только исправную принадлежность и вполне доброкачественные смазочные и протирочные материалы.
Смазочные материалы хранить в закрытых сосудах с соответствующими надписями на них, а протирочные материалы — в особых ящиках или завёрнутыми в плотную материю для предохранения их от пыли, грязи и влаги.
Исправность принадлежности и доброкачественность материалов проверяет присутствующий на чистке командир.
62. Для чистки и смазки пулемёта применять: а)
щелочной состав или
содовый раствор — для отчистки порохового нагара и чистки частей пулемёта, подвергающихся действию пороховых газов (канала ствола, патронника, газовой каморы, регулятора, поршня, пламегасителя, затвора и приёмника магазина);
б)
ружейную смазку — для смазывания канала ствола и прочих частей пулемёта после их чистки;
в)
зимнюю ружейную смазку — для смазывания трущихся частей и механизмов пулемёта в холодное время года;
г)
смазку № 21 (густая смазка светложёлтого цвета, похожая на вазелин) — для смазывания всех частей и механизмов пулемёта в сильные морозы;
д)
специальную пушечную смазку — для смазки пулемётов, сдаваемых в склад для хранения;
с)
чистые мягкие (хорошо простиранные)
тряпки или
хлопчатобумажные концы — для чистки, обтирания и смазки;
паклю, очищенную от кострики, — только для чистки;
ж)
щетинные ёршики — для смазки канала ствола, патронника, газовой каморы и раструба поршня.
Применять другие смазочные и протирочные материалы не разрешается.
Примечания: 1. Содовый раствор приготовляется растворением специальных содовых таблеток в чистой питьевой воде (30 таблеток на 1 л воды или 1 таблетка на отделение «Щ» двугорлой маслёнки). Содовый раствор применяется только весной, летом и осенью. Зимой, на морозе, его применять нельзя.
2. Для разжижения и смывания смазки с мелких и сложных деталей разрешается применять обезвоженный керосин, После применения керосина части пулемёта должны быть тщательно вытерты паклей, а затем сухой и чистой ветошью.
Проверка исправности принадлежности
63. При осмотре принадлежности проверить исправность:
1.
Шомпола:
а) свободно ли ввинчиваются части стержня одна в другую (свинченные доотказа, они не должны качаться);
б) притуплены ли острые углы на поверхности в стыках свёрнутого шомпола;
в) не погнут ли стержень шомпола;
г) закреплён ли конец шомпола;
д) притуплены ли и не имеют ли трещин, надломов и заусениц рёбра прорези для пакли;
е) исправна ли пружина наконечника и хорошо ли она работает, нет ли погнутости на наконечнике и удерживает ли его пружина„
ж) свободно ли вращается рукоятка на стержне и прочно ли удерживается на нём.
2.
Ключа-отвёртки:
а) нет ли на вырезах для ствола, гайки регулятора и пламегасителя и на гнезде для ввинчивания и вывинчиваиия мушки трещин, зазубрин, скрошенностей и износа;
б) нет ли скрошенностей, побитостей и не остры ли лезвия для винтов и гайки замыкателя (концы лезвий должны быть притуплены).
3.
Коленчатой протирки с щетинным ёршиком:
а) хорошо ли навинчивается ершик, нет ли забоин на нарезке коленчатой протирки;
б) не оголён ли ёршик, не погнут ли, не сорвана ли нарезка;
в) нет ли надломов, побитостей и заусениц на коленчатой протирке.
4.
Прибора для чистки газовых путей: нет ли на зубцах шарошек трещин, зазубрин, скрошенностей или стёртости; при наличии этих неисправностей шарошка не будет производить очистку отверстий.
5.
Выколоток: притуплены ли концы выколоток, не погнуты ли они, не имеют ли скрошенностей.
6.
Извлекателя:
а) не имеет ли наконечник забитостей, заусениц и износа выступов для захвата дульца гильзы; прочно ли он удерживается на своём месте;
б) не погнут ли упор рычага.
64. Правила чистки и смазки механизмов и частей пулемёта:
1.
Канал ствола чистить всегда со стороны патронника, отделив предварительно пламегаситель и положив ствол в гнёзда специально оборудованного стола или на обычный стол, скамью и т. п., а в поле — на чистый подручный предмет. Надеть на шомпол стреляную гильзу с просверленным в её шляпке отверстием диаметром около 8 мм и продеть паклю в оба отверстия шомпола так, чтобы при чистке она входила в канал ствола с небольшим нажимом, заполняя вырезы. Обильно пропитав паклю щелочным составом, ввести шомпол в канал ствола, а гильзу — в патронник и плавно, не изгибая шомпола, продвинуть его по всей длине канала ствола 7―10 раз: затем переменить паклю, снова обильно смочить её щелочным составом и снова тем же порядком протирать ствол. После этого протереть канал ствола чистой сухой тряпкой, предварительно тщательно очистив шомпол от щелочного состава, нагара и пыли; если на тряпке будут заметны следы нагара или ржавчины, снова протирать канал ствола паклей или тряпкой, пропитанной щелочным составом.
Если последняя тряпка при протирании вышла из канала ствола чистой, т. е. без черноты от порохового нагара или жёлтого цвета от ржавчины, тщательно осмотреть канал ствола на свет с дульной части и со стороны патронника, медленно поворачивая ствол в руках; при этом особое внимание обращать на углы нарезов, не осталось ли в них нагара. При обнаружении в канале ствола следов мельхиоризации или омеднения, а также тёмных пятен, не поддающихся отчистке, показать ствол командиру.
Примечания: 1. Пулемёт, в котором пороховой нагар, ржавчина и другие налёты описанным выше способом не отчищаются, должен быть отправлен в оружейную мастерскую.
2. Каналы стволов, поражение ржавчиной, требуют особо тщательной чистки, так как в них трудно отчищается пороховой нагар.
Убедившись в полной чистоте канала ствола, вычистить патронник с помощью шомпола сначала паклей, обильно пропитанной щелочным составом, а затем сухой паклей и тряпками. После этого еще раз протереть весь канал сухой тряпкой и смазать его ружейной смазкой.
Примечание. Оставлять в канале ствола щелочной состав воспрещается.
Для смазки канала ствола и патронника надеть на шомпол чистую мягкую тряпку так, чтобы она свободно входила в канал ствола, пропитать её ружейной смазкой и плавно продвинуть шомпол по всей длине канала ствола 2–3 раза так, чтобы смазка легла на стенки канала и патронника равномерно и не густо. Каналы запасных стволов после чистки обильно смазать ружейной смазкой.
Закончив чистку и смазку канала ствола, досуха обтереть его снаружи чистой паклей и тряпками, после чего слегка смазать ружейной смазкой.
2.
Регулятор чистить после стрельбы с помощью деревянной палочки, обвёрнутой тряпкой, пропитанной щелочным составом. Отверстия регулятора осторожно прочищать тонкой выколоткой. После чистки регулятор насухо протереть и слегка смазать ружейной смазкой.
Газовые пути регулятора при наличии в них затвердевшего порохового загара прочистить прибором для чистки газовых путей, предварительно отделив регулятор от ствола и опустив его на некоторое время в щелочной состав; после чистки газовые пути насухо протереть тряпкой, надетой на деревянную палочку, и слегка смазать ружейной смазкой.
3.
Газовую камору после отделения регулятора промыть щелочным составом и прочистить с помощью деревянной палочки и тряпки; затем насухо протереть и слегка смазать ружейной смазкой.
4.
Затвор чистить в разобранном виде; пороховой нагар с частей затвора смыть щелочным составом; затем все части затвора насухо обтереть и слегка смазать зимней ружейной смазкой или смазкой № 21; смазку наносить на части затвора тонким слоем. (При продолжительном хранении затвор смазывать ружейной смазкой.)
5.
Газовый поршень перед чисткой опустить на некоторое время в сосуд со щелочным составом. Раструб поршня чистить деревянной палочкой и тряпкой, пропитанной щелочным составом, затем протереть и слегка смазать ружейной смазкой.
6.
Затворную раму, стержень, пружину и соединительную муфту вычистить промасленной тряпкой, обтереть насухо, после чего слегка смазать ружейной смазкой (зимой — зимней ружейной смазкой или смазкой № 21).
7.
Спусковой механизм для чистки не разбирать, а лишь обтереть тряпкой и слегка смазать зимней ружейной смазкой или смазкой № 21.
8.
Приклад обтирать только сухой тряпкой и не смазывать.
9.
Все остальные части пулемёта (в том числе и запасные) обтирать и смазывать ружейной смазкой.
10.
Магазины, как правило, чистить без разборки и слегка смазывать ружейной смазкой; при сильном загрязнении магазины чистить в разобранном виде.
65. Излишняя смазка пулемёта способствует загрязнению его и может быть причиной задержек в стрельбе. Поэтому смазку на части пулемета накладывать
тонким слоем, обтирая их чистой тряпкой, пропитанной смазкой.
66. По окончании чистки и смазки наводчик должен осмотреть пулемёт в собранном виде и проверить правильность работы его механизмов.
Дегазация пулемёта
67. Если пулемёт подвергся в бою воздействию стойких ОВ, наводчик и помощник наводчика должны с помощью своих индивидуальных противохимических пакетов удалить капли ОВ с частей пулемета, к которым приходится прикасаться при ведении огня, после чего продолжать бой. Полная дегазация пулемёта должна производиться по окончании боя.
68. Порядок полной дегазации пулемета:
1. Дегазацию производить под руководством командира на открытом воздухе в защитных перчатках, халатах (фартуках), сапогах (защитных чулках) и в противогазе (если до этого не производилась частичная дегазация пулемёта).
2. Для дегазации подготовить два бачка с растворителем из смеси бензина и керосина (по 50 % того и другого) или из чистого бензина, ветошь и паклю; вырыть яму для сбрасывания в неё использованных материалов.
3. Все металлические части опустить в растворитель, после чего насухо протереть их и смазать ружейной смазкой. Канал ствола промыть растворителем 2–3 раза сначала из первого бачка, а затем из второго с чистым растворителем, после чего насухо вытереть и смазать ружейной смазкой.
4. Приклад обмыть растворителем из второго бачка (в который металлические части не кладут) и насухо вытереть его ветошью; обмывание и протирание приклада повторить 2–3 раза.
5. Ремень промыть в чистом растворителе, просушить и смазать.
69. При дегазации остерегаться, чтобы брызги не попали на одежду и незащищенные места тела.
70. После дегазации все использованные материалы закопать в приготовленную яму или сжечь. Перчатки и одежду дегазировать.
71. С дегазированным пулемётом обращаться осторожно, если позволяет обстановка, проветрить его в течение 10–15 часов на открытом воздухе.
72. Для полного устранения вредного влияния ОВ на пулемёт чистку и смазку его после дегазации повторять в течение 3–4 дней.
Глава V
Проверка боя пулеметов и приведение их к нормальному бою
Проверка боя пулемёта с комплектным стволом
73. Все пулемёты части должны быть приведены к нормальному бою.
Проверка боя должна проводиться:
а) при поступлении пулеметов на вооружение части;
б) после замены частей или исправлений пулемёта, могущих изменить его бой.
в) при обнаружении во время стрельбы ненормальных отклонений пуль.
В боевой обстановке командир обязан использовать всякую возможность для периодической проверки боя пулемётов своего подразделения.
74. Проверка боя проводится командиром взвода и роты (эскадрона). Старшие начальники, до командира части включительно, обязаны следить за точным соблюдением правил проверки,
75. Перед проверкой боя пулемёты должны быть тщательно осмотрены и, если нужно, исправлены.
На проверке должен присутствовать оружейный техник или оружейный мастер с необходимым инструментом.
76. Стрельба при проверке боя производится пристрельщиками, отобранными распоряжением командира роты (эскадрона) из числа лучших пулемётчиков. При стрельбе должны присутствовать наводчик проверяемого пулемёта и командир отделения.
77. Проверку боя пулемётов проводить в благоприятных условиях для стрельбы (в тёплую и ясную погоду, в безветрие); в крайнем случае — в закрытом тире или на защищённом от ветра участке стрельбища.
78. Проверка боя пулемётов производится стрельбой патронами с пулей обр. 1908 г. одного завода и одной партии.
Дистанция стрельбы — 100 м; прицел — 3.
Стрельба ведётся по белому щиту размером не менее 1 м высотой и 0,5 м шириной, с укреплённым на нём чёрным прямоугольником размером 30 см по высоте и 20 см по ширине.
Точкой прицеливания служит середина нижнего края чёрного прямоугольника; она должна находиться приблизительно на высоте головы стреляющего.
По отвесной линии над точкой прицеливания отмечается (мелом, цветным карандашом) нормальное положение средней точки попадания, которая должна быть выше точки прицеливания на 15 см. Отмеченная точка является
контрольной при определении боя пулемёта.
79. Стрельба производится в положении лежа; разрешается применять упоры под локти наводчика.
80. Бой пулемёта проверяется сначала стрельбой
одиночными выстрелами (4 патрона), а затем
автоматическим огнем (8 патронов в 3–4 очереди).
81. Для проверки боя одиночными выстрелами наводчик производит 4 выстрела, тщательно и однообразно прицеливаясь под середину нижнего обреза чёрного прямоугольника. По окончании стрельбы командир осматривает щит и по расположению пробоин определяет кучность боя пулемета и положение средней точки попадания.
Кучность боя признаётся нормальной, если все четыре пробоины (в крайнем случае три, если одна из пробоин резко отклонилась от остальных) вмещаются в круг (габарит) диаметром 15 см (рис. 41).
Рис. 41. Габарит 15-см для определения кучности
Если кучность расположения пробоин не удовлетворяет этому требованию, пулемёт следует осмотреть, проверить его установку и повторить стрельбу. При повторном неудовлетворительном результате стрельбы пулемёт отправить в оружейную мастерскую для выявления и устранения причин разброса пуль.
При удовлетворительной кучности боя командир определяет среднюю точку попадания и измеряет величину ее отклонения от контрольной точки с помощью сантиметровой линейки. Для удобства измерения через контрольную точку проводятся (мелом, цветным карандашом) две линии — вертикальная и горизонтальная, перекрещивающиеся под прямым углом.
Примечание. Для определения средней точки попадания по четырём пробоинам: а) соединить прямой линией две какие-либо пробоины и расстояние между ними разделить пополам; б) полученную точку деления соединить с третьей пробоиной и расстояние между ними разделить на три равные части; в) точку деления, ближайшую к двум первым пробоинам, соединить с четвёртой пробоиной и расстояние между ними разделить на четыре равные части; точка, отстоящая на три деления от четвертой пробоины, и будет средней точкой попадания (рис. 42).
Рис. 42
Рис. 43
При симметричном расположении пробоин среднюю точку попадания можно определить одним из следующих способов: а) рядом лежащие пробоины соединять попарно; середины обеих прямых снова соединить и полученную линию разделить пополам; точка деления и будет средней точкой попадания (рис, 43); б) пробоины соединить крест-накрест прямыми линиями; пересечение этих линий будет средней точкой попадания (рис. 44).
Для определения средней точки попадания по трём пробоинам: а) две пробоины соединить прямой линией, б) середину этой линии соединить с третьей пробоиной; в) эту новую линию разделить на три равные части, точка ближайшая к первой линии, и будет средней точкой попадания (рис. 45).
Рис. 44. Определение средней точки попадания по четырем пробоинам
Рис. 45. Определение средней точки попадания по трём пробоинам
Средняя точка попадания не должна отклоняться более 5 см от контрольной в любом направлении.
Если средняя точка попадания отклонилась от контрольной более чем на 5 см, изменяется положение мушки или её предохранителя: мушка ввинчивается в гнездо предохранителя при пониженной средней точке попадания и вывинчивается — при повышенной; предохранитель передвигается влево (вправо), если средняя точка попадания оказалась левее (правее) контрольной точки. После изменения положения мушки стрельба повторяется.
Примечание. Перемещение вершины мушки на 0,5 мм изменяет положение средней точки попадания при стрельбе на 100 м примерно на 8 см, а перемещение предохранителя мушки на одно деление его шкалы (1 мм) — примерно на 16 см.
82. После проверки боя пулемёта одиночными выстрелами по тому же щиту
окончательно проверить его и привести к нормальному бою автоматическим огнём.
Для этого наводчик производит автоматическим огнём 3–4 очереди (8 патронов), тщательно прицеливаясь под середину нижнего обреза чёрного прямоугольника, исправляя наводку после каждой очереди.
Бой пулемёта признаётся нормальным, если не менее шести пробоин из восьми вмещаются в круг (габарит) диаметром 20 см и средняя точка попадания при этом отклоняется от контрольной не более чем на 5 см в любую сторону.
Примечание. Средняя точка попадания при проверке автоматическим огнём определяется следующим способом: а) из всех пробоин отбрасываются наиболее отдаленные (но не больше двух); б) сверху или снизу отсчитывается половина оставшихся пробоин и отделяется (мелом, цветным карандашом) горизонтальной чертой; в) таким же порядком отсчитывается половина пробоин справа или слева и отделяется вертикальной чертой. Точка пересечения горизонтальной и вертикальной линий определит положение средней точки попадания (рис. 46).
Кучность боя при автоматической стрельбе зависит не только от состояния пулемета, но и от наводчика. Поэтому в сомнительных случаях при неудовлетворительной кучности стрельбу, следует повторить, заменив пристрельщика.
Если при автоматической стрельбе средняя точка попадания отклонилась от контрольной более чем на 5 см, то после осмотра пулемёта и проверки его установки стрельбу следует повторить.
Если в результате повторной стрельбы пулемёт не удастся привести к нормальному бою, его следует отправить в оружейную мастерскую для осмотра и исправления.
По окончании проверки боя пулемёта положение предохранителя мушки замечается по делениям его шкалы, а в пулеметах прежних годом изготовления отмечается чернением (риской) на переднем обрезе предохранителя. Конечный результат проверки боя заносится в формуляр пулемёта и в стрелковую книжку ручного пулемётчика.
Рис. 46. Определение средней точки попадания по восьми пробоинам
Проверка боя запасных стволов
83. Бой запасных стволов в отношении положения средней точки попадания должен быть одинаков с боем комплектного ствола.
Проверка боя запасных стволов производится только одиночными выстрелами по правилам, указанным в ст. 81, при этом никаких изменений в положении мушки не делается.
Если при проверке запасного ствола обнаружится отклонение средней точки попадания более чем на 5 см от контрольной точки, ствол должен быть тщательно осмотрен, пригнан к пулемету оружейным техником, после чего снова проверен стрельбой одиночными выстрелами. Результат проверки боя каждого запасного ствола заносится в формуляр пулемета и в стрелковую книжку ручного пулемётчика.
Если в результате исправления и пригонки запасных стволов к пулемёту все же не удастся довести некоторые из них до одинакового боя с комплектным, то отклонения средней точки попадания от контрольной записывается в формуляре: вертикальные — в сантиметрах или «тысячных», а боковые — в делениях шкалы предохранителя мушки (считая примерно, что отклонение в 16 см соответствует одному делению шкалы). Перед стрельбой из таких стволов предохранитель мушки передвигается в сторону на записанное в формуляре число делений.
Пример. При проверке боя запасного ствола пулемёта средняя точка попадания отклонилась от контрольной влево на 32 см, в формуляре следует записать: «ствол №…, влево два деления». Перед стрельбой из этого ствола предохранитель мушки нужно передвинуть влево на два деления.
В пулемётах прежних годов изготовления отклонения средней точки попадания как по высоте, так и боковые записывать в формуляре в сантиметрах или «тысячных», считая отклонение на 10 см равным одной «тысячной».
Неисправности пулемёта, нарушающие нормальный его бой
84. Характерные неисправности, нарушающие нормальный бой пулемёта:
а) мушка сбита или погнута, сместилась и сторону, вверх или вниз — пули будут уклоняться в сторону, противоположную перемещению вершины мушки;
б) прицельная планка погнута или перекошена — пули будут уклоняться в сторону перемещения прорези прицела,
в) ствол неравномерно прилагает шайбой «стенкам кожуха — пули будут уклоняться в сторону, противоположную прилеганию;
г) ствол погнут — пули будут уклоняться сторону погиба ствола;
д) забоины на дульном срезе ствола — пули будут уклоняться в сторону, противоположную положению забоин;
е) поршень неравномерно надвигается на регулятор — пули будут уклоняться в сторону противоположную наибольшему трению;
ж) растёртость канала ствола (особенно и дульной части), сношенность (округлённость) полей нарезов, ржавчина, царапины и забоины и канале ствола (особенно в дульной его части), чрезмерное качание ствола, шатание прицельной планки, шатание мушки, качание приклада, расшатанность сошки — увеличивают рассеивания пуль.
Часть вторая
Приемы и правила стрельбы из ручного пулемёта
Глава I
Приемы стрельбы из ручного пулемета
Общие указания
85. Стрельба из ручного пулемёта складывается из выполнения следующих приемов
изготовки к стрельбе (установка пулемета на огневой позиции, расположение наводчика и помощника наводчика за пулемётом, заряжание пулемёта и установка прицела),
производства стрельбы и
прекращения стрельбы.
86. Огонь в бою наводчик ведёт по командам командира отделения или по его указанию самостоятельно.
87. Основное положение для стрельбы из ручного пулемёта
«лёжа». Из окопа или других закрытий стрельба может производиться с колена, сидя и стоя, а при атаке — на ходу. Все приёмы стрельбы наводчик должен выполнять быстро, не прекращая наблюдения за противником; перерыв в наблюдении наводчика допускается только на момент установки прицела.
88. Для заряжания пулемёта подаётся команда
«РУЧНОЙ ПУЛЕМЕТ (или
т. ПЕТРОВ), ЗАРЯЖАЙ». По этой команде пулемётчик устанавливает пулемёт (если он не был установлен заранее), занимает место за пулемётом и заряжает его.
89. Для открытия и ведения огня ставили огневая задача или подается команда, в который указывается: цель, прицел, точка прицеливания (если нужно) и количество патронов или очередей.
Примеры: 1.
«Ручному пулемёту, прямо по перебегающим, 3, в пояс, 20 патронов — Огонь»,
2.
«Ручному пулемёту, ориентир 2 — круглый куст, дальше 50, у белого пятна — пулемёт, по пулемёту, 4, на две фигуры влево, три очереди — Огонь».
3. «Ручному пулемёту, влево у желтого куста снайпер, уничтожить».
При ведении залпового огня пулемёт по команде
«Пли» выпускает одну очередь.
90. При внезапном нападении противника для изготовки и открытия огня подаётся команда
«Противник справа (слева, с тыла),
пулемёт к бою».
91. Для временного прекращения стрельбы подается команда
«Стой» или даётся продолжительный свисток, а для полного прекращения огня —
«Разряжай».
92. В зависимости от физических особенностей наводчика стрельба из ручного пулемёта может производиться как с правой, так и с левой руки.
93. Каждый наводчик, руководствуясь основами правилами для изготовки к стрельбе, должен, в зависимости от своих индивидуальных особенностей, выработать наиболее выгодное и устойчивое положение для стрельбы, добиваясь однообразного положения приклада в выеме плеча, наиболее удобного положения корпуса, рук, ног и однообразного упора локтей в землю.
Установка пулемёта на огневой позиции и заряжание его
94. По выдвижении на огневую позицию
наводчик скрытно устанавливает пулемёт в направлении стрельбы, утапливает сошники ног сошки до упора башмаков (ограничителей) в землю, после чего ложится за пулемётом в положении, удобном для заряжания; кисть левой руки подкладывает под приклад пулемёта (рис. 47).
Рис. 47. Положение наводчика до заряжания
При установке пулемета ноги сошки должны находиться на одной линии — без перекоса.
На твёрдом грунте для ног сошки должны быть сделаны небольшие углубления, а на очень мягком грунте — упор (подкладка) из подручного материала.
95. Помощник наводчика подготовляет магазин, располагаясь укрыто с правой (илилевой) стороны наводчика и несколько сзади, примерно на расстоянии двух вытянутых рук, лицом к противнику.
96. Для заряжания пулемёта
помощник наводчика подаёт наводчику магазин вилкой к себе, приёмником вниз (рис. 48).
Наводчик сдвигает правой рукой щитик верхнего окна ствольной коробки вперёд и оттягивает назад рукоятку затворной рамы; приняв от помощника магазин, направляет вилку магазина в пазы упора на заднем конце кожуха и лёгким нажимом сверху осаживает заднюю часть магазина до захвата его выступа защелкой (рис. 49).
Примечания: 1. Если под лёгким нажимом магазин не захватывается защёлкой,
наводчик должен снять магазин и проверить, сдвинут ли вперёд доотказа щитик верхнего окна ствольной коробки и правильно ли положение очередного патрона в приёмнике.
2. Для ведения огня одиночными выстрелами
помощник наводчика подаёт наводчику патроны по одному, извлекая их, если нужно, из магазина;
наводчик отводит рукоятку затворной рамы назад и, приняв от помощника патрон, вводит его в патронник рукой через верхнее окно ствольной коробки.
Установка прицела
97. Для установки прицела
наводчик большим и указательным пальцами правой руки сжимает защёлки прицельного хомутика, продвигает его по прицельной планке до совмещения передней грани хомутика с нужным делением прицельной планки и освобождает защёлки (рис. 50).
Рис. 48. Заряжание (подача магазина)
Рис. 49. Заряжание (присоединение магазина)
Рис. 50. Установка прицела
Производство стрельбы
98. Производство стрельбы слагается из прикладки, прицеливания и открытия огня.
99. Для прикладки
наводчик должен, не теряя цели из виду, левой рукой приподнять приклад и плотно вставить его в правое плечо. При этом локоть левой руки, выставленный несколько вперед, он упирает в грунт или в приготовленный заранее упор. Кистью правой руки наводчик берет в обхват шейку приклада, средним пальцем прижимает кверху предохранитель, пропускает вытянутый указательный палец в спусковую скобу и упирает локоть правой руки в землю (рис. 51).
Корпус наводчика за пулемётом должен быть под небольшим углом к направлению пулемёта на цель; ноги свободно вытянуты и слегка раскинуты, ступни ног развёрнуты носками наружу.
Рис. 51. Прицеливание
100. Для прицеливания наводчик зажмуривает левый глаз, а правым смотрит через прорезь прицела на вершину мушки и, передвигая (сдвигая, раздвигая) локти, наводит пулемёт в цель так, чтобы мушка находилась посредине прорези прицела, вровень с её краями, и вершиной касалась точки прицеливания. При прицеливании следить, чтобы пулемёт не был свален на сторону.
Примечание. Если наводчику затруднительно закрывать отдельно один глаз, разрешается прицеливания с открытыми глазами, но при этом наводящим глазом будет только один глаз, другой же должен быть направлен прямо в цель.
101. Для открытия огня наводчик, плотно обхватив шейку приклада, средним пальцем прижимает предохранитель, а первым суставом указательного пальца плавно надавливает на спусковой крючок; после каждой очереди для проверки прицеливания делает короткие приостановки в стрельбе, выпрямляя указательный палец, чтобы освободить спусковой крючок.
102. При стрельбе
наводчик должен крепко удерживать приклад в плече левой рукой, не меняя положения локтей; он должен слиться с пулеметом, составляя с ним как бы одно целое.
Прекращение стрельбы
103. Для прекращения стрельбы
наводчик освобождает спусковой крючок, снимает правую руку с шейки приклада, опускает приклад углом на землю и продолжает наблюдать за противником.
104. Для разряжания пулемёта
наводчик оттягивает одной рукой назад магазинную защёлку, а другой снимает магазин и передаёт его помощнику; взявшись правой рукой за шейку приклада, нажимает средним пальцем на выступ предохранителя, а указательным — на спусковой крючок и спускает ударник; закрывает щитиком окно ствольной коробки и оттягивает прицельный хомутик назад доотказа (ставит постоянный прицел)
Примечание. Если разряжание производится по израсходовании всего магазина и рукоятка затворной рамы окажется в переднем положении, то после снятия магазина, для предосторожности (стрельба могла остановиться вследствие осечки),
наводчик должен оттянуть рукоятку назад и спустить ударник.
Приёмы для стрельбы с упора и из-за укрытия
105. При стрельбе с упора пулемёт должен лежать так, чтобы упор не мешал работе механизмов при стрельбе, ноги сошки должны свободно висеть спереди упора; если нужно, сошка может быть снята; при жёстком упоре под пулемёт подкладывается мягкая подкладка (скатка, палатка и т. п.).
106. При расположении за небольшим укрытием (окоп для стрельбы лежа, бугорок, кочка) сошку следует ставить позади укрытия так, чтобы поверх укрытия выступал только конец ствола пулемёта (пламегаситель) (рис. 52).
Рис. 52. Установка пулемёта при стрельбе из-за небольшого укрытия
Приёмы для стрельбы с лыж
107. Для стрельбы с лыж
наводчик берет палки в левую руку, а пулемёт — в правую; оставляя пятки лыж на месте, разворачивает носки лыж в стороны и, опираясь на палки, становится сначала на левое, а затем на правое колено; после этого ложится на снег, кладет палки перед собой, упирает локоть левой руки между палками и устанавливает пулемёт, под сошки пулемёта подкладывает подставки из подручного материала (рис. 53). Для стрельбы на глубоком снегу в качестве подставки под сошки пулемёта и упора под локти можно использовать лыжи; для этого к лыжам должны быть прикреплены специальные колодочки.
Рис. 53. Приём для стрельбы с лыж
108. Помощник наводчика ложится так же, как и наводчик, справа (слева) от него, кладёт винтовку поперёк палок, устанавливает коробку с магазинами и подаёт наводчику очередной магазин для заряжания пулемёта.
Приемы снаряжения магазина
109. Снаряжение магазинов патронами можно производить с помощью специального прибора (см. приложение 4) и вручную. Для снаряжения магазина патронами вручную упереть магазин во что-либо приёмником кверху и от себя; взять и правую руку один патрон и зажать его в кулаке так, чтобы головка пули выходила над указательным пальцем примерно на 1 см; наложить большой палец на нижний неподвижный диск, а остриё пули подвести снизу под верхний диск и вставить его в ближайшую ячейку диска; вращая пулей верхний диск направо (по направлению часовой стрелки), вывести задержку заводной пружины из приёмника, утопив её предварительно пальцем левой руки через окно приемника; взять в левую руку 5–10 патронов и вкладывать их по одному в приёмник шляпками к ободу магазина; постепенно вращая верхний диск пулей в направлении часовой стрелки, последовательно перемещать остриё пули в соседние ячейки диска; нижний диск с приёмником должен все время оставаться в одном положении — приёмником от себя (рис. 54 и 54а).
Примечание. Встречая затруднения при снаряжении магазина патронами, не прилагать излишних усилий; если внутренний (верхний) диск не поддаётся вращению пулей, то отпустить его несколько раз подряд, пытаясь вновь повернуть; если это не поможет, вынуть из приёмника последний патрон, повернуть внутренний диск так, чтобы против окна приёмника прошла одна пустая ячейка, и затем, не отпуская диска, вложить в приёмник два патрона подряд.
Рис. 54. Снаряжение магазина
Рис. 54а. Снаряжение магазина
Глава II
Правила ведения огня в бою из ручного пулемёта
Общие указания
110. Ручной пулемёт в бою обеспечивает огнем боевые действия своего отделения.
Наводчик ведёт огонь из пулемёта и выполняет всю работу, связанную с использованием его в бою.
Помощник наводчика помогает наводчику в его работе, обеспечивает пулемёт всем необходимым для ведения огня и замещает наводчика; ведёт наблюдение за противником и за результатами огня.
Патронами в бою пулемёт обеспечивается распоряжением командира отделения.
111. Огонь ручного пулемёта при стрельбе очередями (3–6 патронов) характеризуется следующими данными.
| Расстояния в м |
Наибольшее превышение траектории над линией прицеливания в см |
Размеры сердцевинных |
полос рассеивания |
|
|
по высоте в см |
по ширине в см |
| 100 |
― |
20 |
20 |
| 200 |
6 |
35 |
30 |
| 300 |
19 |
50 |
45 |
| 400 |
41 |
70 |
60 |
| 500 |
70 |
90 |
80 |
| 600 |
120 |
110 |
100 |
| 700 |
180 |
130 |
120 |
| 800 |
270 |
150 |
140 |
| 900 |
390 |
170 |
160 |
| 1 000 |
550 |
190 |
180 |
112. Количество патронов, необходимое для уверенного поражения одиночных открытых целей, видно из следующей таблицы.
| Дистанция стрельбы в м |
Головная фигура |
Грудная фигура |
Перебегающая фигура |
Ростовая фигура |
Ручной пулемет, огневая точка |
| 100 |
2 |
2 |
2 |
2 |
2 |
| 200 |
3 |
2 |
2 |
2 |
2 |
| 300 |
5 |
3 |
3 |
2 |
2 |
| 400 |
8 |
5 |
4 |
3 |
3 |
| 500 |
12 |
7 |
5 |
3 |
4 |
| 600 |
18 |
10 |
6 |
4 |
5 |
| 700 |
25 |
14 |
8 |
5 |
6 |
| 800 |
33 |
19 |
10 |
6 |
8 |
| 900 |
42 |
24 |
13 |
7 |
10 |
| 1 000 |
52 |
30 |
16 |
9 |
13 |
Примечание. При условии совмещения средней точки попадания с серединой цели.
Выбор места для стрельбы
113. Стрельбу из ручного пулемёта можно вести с любого места, откуда видна цель или участок местности, на котором ожидается появление цели.
Место для стрельбы должно обеспечивать.
а) возможно более широкий обстрел, не стесняемый ни местностью, ни расположением своих стрелков;
б) возможность поражать противника фланговым или косоприцельным огнем;
в) возможность укрыть пулемёт от наземного и воздушного наблюдения противника.
Наблюдение за полем боя
114. Для своевременного обнаружения целей пулемётчики должны внимательно и непрерывно наблюдать за полем боя, обращая особое внимание на подступы со стороны противника и места, удобные для расположения его огневых средств и наблюдательных пунктов. При наблюдении не упускать из поля зрения никаких мелочей, так как самые незначительные признаки и явления (качание веток, кустов, колебание травы, появление новых мелких предметов, изменения в положении и форме местных предметов, пыль, дым, шум и т. п.) могут облегчить пулемётчикам обнаружить противника.
115. О всём замеченном на поле боя пулемётчики должны немедленно докладывать ближайшему командиру. Доклад должен быть кратким и точным, например:
«Прямо — жёлтый куст,
рядом справа — пулемёт», «Ориентир три, вправо два пальца, ближе сто, под кустом — наблюдатель».
Выбор цели
116. Целями для ручных пулемётов являются группы противника, расположенные открыто и замаскированно, внезапно появляющиеся и двигающиеся, а также важные одиночные цели (командиры, снайперы, наблюдатели, связные, подносчики патронов и т. п.).
Цель выбирает и указывает наводчику командир отделения. При самостоятельном решении огневых задач наводчик выбирает цель самостоятельно.
При указании цели командиром наводчик докладывает:
«Вижу», «Не вижу». Найдя указанную цель, наводчик открывает по ней огонь, руководствуясь командой командира.
При самостоятельном решении огневых задач наводчик выбирает в первую очередь важнейшие наиболее угрожающие цели, а из числа их — наиболее выгодные (ближайшие и легко уязвимые).
Определение расстояний в бою
117. Важнейшим условием для успешного ведения огня является точное определение расстояний до целей.
Точность определения расстояний должна быть тем большей, чем больше расстояние.
118. Основным способом определения расстояний в бою для пулемётчиков является
глазомер.
Кроме того, пулемётчики должны уметь определять расстояния непосредственным промером местности шагами и по угловым величинам местных предметов.
Глазомерное определение расстояний
119. Определять расстояние на-глаз можно по
степени видимости предметов или целей, до которых определяется расстояние,
по отрезкам местности, хорошо запечатлевшимся в памяти пулемётчика, или путём сочетания того и другого способа.
120. Для определения расстояний
по степени видимости предметов или
целей каждый пулемётчик должен иметь свою (индивидуальную) памятку (табличку), в которой должно быть указано, как ему видны различные предметы и цели на разных расстояниях и при различной погоде.
Ниже приводится примерная табличка, составленная для глазомерщика с нормальным зрением и при благоприятных условиях погоды (хорошая погода, яркое освещение и т. п.).
| Расстояния в м |
Что видно |
| 1 000 |
Едва можно отличить пехоту от кавалерии. |
| 800―700 |
Заметны движения ног идущего или бегущего пехотинца. |
| 400―300 |
Различаются цветные пятна на фигуре человека. |
| 200 |
Можно различить очертания головы и плеч человека. |
| 150 |
Видны кисти рук, подробности вооружения и одежды. |
При определении расстояний по степени видимости предметов иметь в виду, что точность определения расстояний, помимо остроты зрения пулемётчиков, зависит также от размеров и ясности очертания предметов, их окраски сравнительно с окружающим фоном, освещенности предметов, прозрачности воздуха и т. п.
Так, например:
а) предметы мелкие кусты, камни, бугорки, отдельные фигуры бойцов) кажутся дальше, чем находящиеся на том же расстоянии предметы крупные (лес, гора, населенный пункт, колонна);
б) предметы яркого цвета (белого, оранжевого) кажутся ближе, чем тёмного (синего, чёрного, коричневого);
в) одноцветный, однообразный фон местности (луг, снег, пашня) как бы приближает находящиеся на нём предметы, если они иначе окрашены, а пёстрый, разноцветный фон местности, наоборот, маскирует их и как бы удаляет;
г) в пасмурный день, в дождь, в сумерки, в туман и т. п. все расстояния кажутся увеличенными, а в светлый солнечный день, наоборот, сокращёнными;
д) в горной местности все видимые предметы как бы приближаются.
Учитывая эти особенности, пулемётчики должны уметь вносить соответствующие поправки при определении расстояний.
121. Определение расстояний
при помощи отрезков местности, запечатлевшихся в памяти пулеметчиков, применимо только на более или менее ровной местности. Таким отрезком может служить какое-либо привычное расстояние, с которым пулемётчикам приходилось часто иметь дело и которое поэтому прочно укрепилось в их зрительной памяти, например отрезок в 100, 200, 400 м.
Отрезок этот нужно мысленно (глазом) откладывать в глубину столько раз, сколько он уложится. При этом следует учитывать:
а) что с увеличением расстояния кажущаяся величина отрезка в перспективе постепенно сокращается;
б) что впадины (овраги, лощины, речки и т. п.), пересекающие определяемое расстояние, если они не видны или не полностью видны измеряющему, скрадывают расстояние.
122. Для уточнения и облегчения глазомерного определения расстояний могут служить следующие приёмы:
а) сравнение определяемого расстояния с другим, заранее известным или измеренным, хотя бы оно лежало в ином направлении, например с измеренным расстоянием до определённых ориентиров;
б) мысленное разделение расстояния на несколько равных отрезков (частей) для того, чтобы возможно точнее определить протяжение одного из них и затем умножить полученную величину на число отрезков;
в) определение расстояния наводчиком и его помощником для того, чтобы из двух полученных результатов взять среднее; например, наводчик определил расстояние в 700 м, помощник наводчика — в 600 м; среднее будет 650 м.
123. Навык в быстром и точном определении расстояния на-глаз можно приобрести только в результате настойчивой постоянной тренировки, к которой каждый пулемётчик должен стремиться, используя для этого всякий удобный случай.
Измерение расстояний непосредственным промером местности
124. При измерении расстояний непосредственным промером шагами счёт шагов производить парами, под левую или правую ногу, предварительно узнав среднюю величину одной пары своих шагов. С этой целью на ровном месте отмерить (мерной лентой или рулеткой) расстояние не менее 200 м, которое проходить 2–3 раза, каждый раз считая пары шагов. Например, при троекратном прохождении расстояния в 200 м получилось 130, 131, 129 пар шагов; средняя величина одной пары шагов будет равна:
130+131+129/3=130; 300/130=1,54 м.
Пример. При измерении расстояния помнилось 260 пар шагов, следовательно, расстояние равно 260×1,54 = 400 м.
Определение расстояний по угловой величине местных предметов
125. Для определения расстояний этим способом необходимо точно знать ширину или высоту предмета (цели), до которого определяется расстояние, измерить угловую величину этого предмета (цели) в тысячных, после чего вычислить расстояние, пользуясь следующей формулой:
Д=В×1 000/У, где Д — дистанция, В — ширина (высота) предмета, У — угловая величина в тысячных.
Для измерения угловой величины предмета могут служить: миллиметровая шкала линейки,
сетка бинокля, пальцы (по ширине) и различные мелкие предметы, имеющиеся у пулемётчика и
заранее измеренные.
Примеры. 1. Дерево высотою 20 м покрывается двумя большими делениями сетки бинокля; расстояние до него равно 1 000 м.
Д =20×1 000/20=1 000 м.
2. Окоп протяжением в 21 м покрывается толщиной спичечной коробки (30 тысячных); расстояние до него равно 700 м.
Д=21×1 000/30=700 м.
Выбор прицела и точки прицеливания
126. При выборе установки прицела руководствоваться прежде всего расстоянием до цели.
Точкой прицеливания, как правило, является середина нижнего края цели. При стрельбе по целям высоким (перебегающие фигуры и т. п.) с близких расстояний точку прицеливания выбирать на широкой части цели (грудь, пояс).
При стрельбе наводчик и его помощник должны следить за рикошетами пуль и, в зависимости от места падения их, изменять точку прицеливания.
127. При стрельбе из ручного пулемёта на дистанциях до 500 м температура и продольный ветер оказывают
незначительное влияние на полет пули и поэтому они при выборе прицела и точки прицеливания могут не учитываться.
При стрельбе же на дистанциях от 500 м и больше эти влияния необходимо учитывать соответствующим выносом точки прицеливания: в холодную погоду и при сильном встречном ветре точку прицеливания повышать, а в жаркую погоду и при сильном попутном ветре точку прицеливания понижать, руководствуясь данными следующей таблицы.
| Дистанция стрельбы в м |
+45 °C |
+35 °C |
+25 °C |
+15 °C |
+5 °C |
— 5 °C |
— 15 °C |
— 25 °C |
— 35 °C |
При сильном (8 м/сек) попутном ветре точку прицеливания понижать, при встречном повышать |
|
точку |
прицеливания |
понижать |
|
точку |
прицеливания |
повышать |
|
|
|
| 100 |
1* |
1 |
― |
― |
― |
1 |
1 |
2 |
2 |
― |
| 200 |
3 |
2 |
1 |
― |
1 |
2 |
3 |
4 |
5 |
― |
| 300 |
6 |
4 |
2 |
― |
2 |
4 |
6 |
8 |
10 |
― |
| 400 |
12 |
8 |
4 |
― |
4 |
8 |
12 |
16 |
20 |
1 |
| 500 |
21 |
14 |
7 |
― |
7 |
14 |
21 |
28 |
35 |
2 |
| 600 |
36 |
24 |
12 |
― |
12 |
24 |
36 |
48 |
60 |
3 |
| 700 |
63 |
42 |
21 |
― |
21 |
42 |
63 |
84 |
105 |
6 |
| 800 |
105 |
70 |
35 |
― |
35 |
70 |
105 |
140 |
175 |
12 |
| 900 |
1602 |
108 |
54 |
― |
54 |
108 |
162 |
216 |
270 |
21 |
| 1 000 |
240 |
160 |
80 |
― |
80 |
160 |
240 |
320 |
400 |
34 |
* В сантиметрах (здесь и далее).
Поправки на влияние температуры можно также делать в делениях прицела, руководствуясь следующей таблицей.
| Дистанция стрельбы в м |
+45 °C |
+35 °C |
+25 °C |
+15 °C |
+5 °C |
— 5 °C |
— 15 °C |
— 25 °C |
— 35 °C |
|
прицел |
|
уменьшать |
|
прицел |
увеличивать |
|
|
|
| 500 |
½ |
― |
― |
― |
― |
― |
½ |
½ |
½ |
| 600 |
½ |
― |
― |
― |
― |
― |
½ |
½ |
½ |
| 700 |
½ |
½ |
― |
― |
― |
½ |
½ |
½ |
1 |
| 800 |
½ |
½ |
― |
― |
― |
½ |
½ |
1 |
1 |
| 900 |
½ |
½ |
― |
― |
― |
½ |
½ |
1 |
1 |
| 1 000 |
1 |
½ |
― |
― |
― |
½ |
1 |
1 |
1½ |
128. Боковой ветер относит пули в сторону. Поэтому при стрельбе необходимо выносить точку прицеливания в ту сторону, откуда дует ветер, пользуясь следующей таблицей.
Умеренный ветер 4 (м/сек) под углом 90°
| Дистанция стрельбы в м |
Вынос точки |
прицеливания |
|
в сантиметрах |
в фигурах человека |
| 100 |
3 |
― |
| 200 |
9 |
― |
| 300 |
20 |
½ |
| 400 |
40 |
1 |
| 500 |
68 |
1½ |
| 600 |
100 |
2 |
| 700 |
150 |
3 |
| 800 |
210 |
4 |
| 900 |
280 |
5½ |
| 1 000 |
360 |
7 |
Примечания: 1. Вынос точки прицеливания при сильном ветре (8 м/сек) вдвое больше, при слабом (2 м/сек) — вдвое меньше.
2. При ветре, дующем под острым углом к направлению стрельбы, вынос точки прицеливания вдвое меньше.
3. Отсчёт при выносе точки прицеливания производить от середины цели.
129. В напряженные моменты боя, когда нет времени изменять установку прицела, огонь вести, используя дальность прямого выстрела:
а) по перебегающим и открыто лежащим фигурам противника на все расстояния до 400 м огонь вести с прицелом 4, прицеливаясь по перебегающим фигурам в пояс, по лежащим — под цель;
б) по окопавшимся лежащим фигурам противника на все расстояния до 300 м огонь вести ~ прицелом 3, прицеливаясь под цель;
в) по кавалерии на все расстояния до 600 м огонь вести с прицелом 6, прицеливаясь в грудь лошади.
Выбор момента для открытия огня
130. Наводчик должен выбирать наиболее вы годный момент для открытия огня и не открывать его преждевременно.
Наиболее выгодные моменты для открытия огня: когда цель можно поразить неожиданно, когда она скучивается, подставляет фланг или поднимается во весь рост; когда она лучше видна.
Стрельба по одиночным и групповым целям
131. Важную одиночную открытую цель обстреливать очередями, прицеливаясь в середину нижнего края цели или вынося точку прицеливания соответственно внешним условиям стрельбы,
132. Групповую цель, состоящую из отдельных отчётливо видимых фигур, обстреливать очередями, последовательно перенося точку прицеливания с одной фигуры на другую.
133. Широкую цель, состоящую из неясно видимых фигур или замаскированную, обстреливать очередями с последовательным переносом точек прицеливания от одного фланга цели (маски) к другому, с учётом величины сердцевины рассеивания пуль по ширине на данное расстояние.
134. Узкую групповую цель (змейка, колонна по одному, по два) обстреливать очередями, прицеливаясь в переднюю фигуру.
Стрельба по целям, внезапно появляющимся, быстро скрывающимся и двигающимся
135. Поражение внезапно появляющихся и двигающихся целей возможно при условиях: внимательного и беспрерывного наблюдения за полем боя; быстрого распознавания, оценки целей и определения до них расстояний; выбора точки прицеливания и быстрого автоматического выполнения всех приёмов для стрельбы.
136. Для поражения появляющейся и быстро скрывающейся цели следует заранее прицеливаться в то место, где ожидается цель. При появлении цели быстро уточнить прицеливание и открыть огонь.
137. Стрельбу по пешей цели, двигающейся в плоскости стрельбы, вести с установкой прицела на 0,5–1 деление меньше или больше, чем расстояние, которое определено до цели.
138. Для поражения целей, движущихся под углом к плоскости стрельбы, прицел ставить по расстоянию до них, а точку прицеливания выносить по направлению движения цели, руководствуясь следующей таблицей (см. стр. 94).
139. Величину упреждения при боковом движении цели можно определить стрельбой. Для этого прицелиться в передний край цели, произвести очередь и по видимому отклонению пуль определить величину упреждения.
140. Поражение быстро движущейся цели можно производить огневым нападением в момент подхода её к местным предметам; эти предметы (точки) нужно заранее наметить на пути движения цели, определить до них расстояния и, если возможно, по ним пристреляться. Огонь открывать при приближении цели к намеченной точке на величину нужного упреждения.
Перебегающая пешая цель (3 м/сек) под углом 90°
| Дистанция стрельбы в м |
в сантиметрах |
в фигурах человека |
| 100 |
35 |
½ |
| 200 |
76 |
1½ |
| 300 |
120 |
2½ |
| 400 |
170 |
3½ |
| 500 |
230 |
4½ |
| 600 |
290 |
6 |
| 700 |
360 |
7 |
| 800 |
440 |
9 |
Всадник — рысью (4 м/сек) под углом 90°
| Дистанция стрельбы в м |
в сантиметрах |
в видимых размерах фигуры коня |
| 100 |
45 |
¼ |
| 200 |
100 |
½ |
| 300 |
160 |
¾ |
| 400 |
230 |
1¼ |
| 500 |
300 |
1½ |
| 600 |
380 |
2 |
| 700 |
480 |
2½ |
| 800 |
590 |
3 |
Примечания: 1. При движении пешей цели шагом упреждение брать вдвое меньше, чем по бегущей; при движении конной цели шагом упреждение брать вдвое меньше, а при движении галопом — вдвое больше, чем при движении рысью. При движении перебегающей цели под острым углом упреждение брать вдвое меньше.
2. Отсчёт при выносе точки прицеливания производить от середины цели.
Стрельба по бронецелям
141. Огонь из пулемёта по броневым целям (легкие танки, танкетки, бронеавтомобили, бронетранспортеры) вести на расстояниях до 500 м бронебойными пулями, направляя его по жизненным местам цели (мотор, радиатор, бензиновый бак, места расположения команды); при боковом движении цели выносить точку прицеливания по пути движения цели, руководствуясь Следующей таблицей.
| Скорость движения цели в км/час |
100* |
200* |
300* |
400* |
500* |
| 10 |
0,36** |
0,72** |
1,17** |
1,67** |
2,20** |
* Расстояния стрельбы в м.
** Вынос точки прицеливания в м.
Примечание. Таблица рассчитана на движение бронецели под углом 90°, при движении цели под острым углом к направлению стрельбы упреждение брать вдвое меньше; при движении цели с большей (меньшей) скоростью упреждение соответственно увеличивать (уменьшать).
Главная задача ручного пулемета при отражении танковой атаки противника — уничтожение его пехоты, идущей за танками.
Стрельба по воздушным целям
142. Огонь из ручного пулемёта по самолётам и парашютистам вести с прицелом 3 на расстояниях не более 500 м. Стрелять очередями, последовательно перенося точку прицеливания по мере движения самолёта.
143. Наиболее выгодные моменты для открытия огня, когда самолёт пикирует на пулемёт или уходит после пикирования. В этих случаях вести стрельбу без упреждения, прицеливаясь в голову пикирующего или в хвост уходящего самолёта.
В остальных случаях при стрельбе по самолётам брать упреждение. Размеры упреждения показаны в таблице.
| Скорость движения самолёта в м/сек |
Дистанции |
стрельбы |
и |
упреждения |
в м |
|
100 |
200 |
300 |
400 |
500 |
| 60 |
7,8 |
15,6 |
25,2 |
36,0 |
48,0 |
| 70 |
9,1 |
18,2 |
29,4 |
42,0 |
56,0 |
| 80 |
10,4 |
20,8 |
33,6 |
48,0 |
64,0 |
| 90 |
11,7 |
23,4 |
37,8 |
54,0 |
72,0 |
| 100 |
13,0 |
26,0 |
42,0 |
60,0 |
80,0 |
| 110 |
14,3 |
28,6 |
46,2 |
66,0 |
88,0 |
| 120 |
15,6 |
31,2 |
50,4 |
72,0 |
96,0 |
| 130 |
16,9 |
33,8 |
54,6 |
78,0 |
104,0 |
| 140 |
18,2 |
36,4 |
58,8 |
84,0 |
112,0 |
| 150 |
19,5 |
39,0 |
63,0 |
90,0 |
120,0 |
Для стрельбы: по самолетам, руководствуясь приведённой выше таблицей упреждений в метрах, составить таблицу упреждений в
корпусах самолётов противника, действующих на данном направлении, с учётом их размеров и скорости движения; при стрельбе упреждение брать в
видимых размерах корпусов самолетов (рис. 66), руководствуясь составленной таблицей.
Пример. Скорость самолёта — 100 м/сек. Длина фюзеляжа — 10 м. Для упреждения точку прицеливания выносить на следующее число видимых корпусов:
дистанция 100 м 1 корпус (13:10)
дистанция 200 м 2,5 корпуса (26:10)
дистанция 300 м 4 корпуса (42:10)
дистанция 400 м 6 корпусов (60:10)
дистанция 500 м 8 корпусов (80:10)
144. Стрельбу по воздушным целям открывать только по приказанию командира отделения и вести её патронами с обыкновенной или специальной пулями. Для корректирования огня применять патроны с трассирующими пулями, снаряжая ими магазины вперемежку с обыкновенными или специальными патронами.
Рис. 55. Вынос точки прицеливания на три корпуса
145. При стрельбе по снижающимся парашютистам огонь вести, вынося точку прицеливания в направлении снижения.
Упреждение брать в
видимых размерах фигуры парашютиста (рис. 56), как указано в таблице.
| Дистанциястрельбы в м |
100 |
200 |
300 |
400 |
500 |
| Вынос точки прицеливания в видимых размерах фигуры парашютиста при скорости снижения 6 м/сек |
под ноги |
½ |
1 |
1½ |
2½ |
Примечание. Отсчет вести от ног фигуры парашютиста.
146. Упором для стрельбы по воздушным целям могут служить: бруствер окопа, забор, изгородь, борт повозки и т. п.
Рис. 56. Вынос точки прицеливания при стрельбе по парашютистам
Стрельба в горах
147. При стрельбе в горах дальность полёта пули увеличивается сравнительно с стрельбой на равнинной местности. Это увеличение происходит вследствие уменьшения плотности воздуха в зависимости от высоты местности над уровнем моря; оно может быть учтено соответствующим понижением точки прицеливания или уменьшением прицела, как указано в таблице.
| Дистанция стрельбы в м |
500* |
1 000* |
1 500* |
2 000* |
2 500* |
3 000* |
500* |
1 000* |
1 500* |
2 000* |
2 500* |
3 000* |
|
Точку |
прицеливания |
понижать |
|
в |
см |
Прицел |
уменьшать |
в |
делениях |
прицела |
|
| 500 |
5 |
10 |
10 |
15 |
20 |
25 |
― |
― |
― |
½ |
½ |
½ |
| 600 |
10 |
25 |
35 |
45 |
55 |
70 |
― |
― |
½ |
½ |
½ |
½ |
| 700 |
20 |
40 |
60 |
80 |
95 |
115 |
― |
½ |
½ |
½ |
1 |
1 |
| 800 |
30 |
70 |
110 |
140 |
170 |
205 |
― |
½ |
½ |
1 |
1 |
1 |
| 900 |
50 |
105 |
170 |
220 |
265 |
320 |
― |
½ |
½ |
1 |
1 |
1½ |
| 1 000 |
70 |
150 |
240 |
310 |
380 |
460 |
― |
½ |
1 |
1 |
1½ |
1½ |
* Высота местности над уровнем моря в м.
Примечание. В таблице приведены приближённые цифры; при ведении огня необходимо следить за результатами его и, если нужно, вносить поправки.
148. На изменение дальности полета пули при стрельбе в горах оказывают также влияние значительные углы места цели.
Поправки на влияние значительных углов места цели следует производить в делениях прицела, руководствуясь следующей таблицей (на стр. 100).
149. При стрельбе в горах обычные приемы стрельбы не всегда применимы; от пулемётчиков требуются особые сноровка и находчивость, особенно при стрельбе под большими углами сверху вниз или снизу вверх и при расположении на сильно покатой местности. При стрельбе снизу вверх следует применять упоры под кожух и под сошки пулемёта, используя имеющиеся на местности предметы или делая их шанцевым инструментом; при стрельбе же сверху вниз, наоборот, подкапывать место для установки пулемёта. Положение самого наводчика должно быть удобным, приспособлено к местности и скату и может значительно отличаться от обычных положений, применяемых при стрельбе на ровной местности.
| Дистанция стрельбы в м (наклонная дальность) |
100 |
200 |
300 |
400 |
500 |
600 |
700 |
800 |
900 |
1 000 |
| Угол места цели в градусах |
поправки в |
делениях |
прицела: |
со знаком |
плюс (+) — |
прицел |
увеличивать; |
со знаком |
минус (-) — |
уменьшать |
| — 35 |
― |
-½ |
-½ |
-½ |
-½ |
-½ |
-½ |
-½ |
-½ |
— 1 |
| — 30 |
― |
― |
-½ |
-½ |
-½ |
-½ |
-½ |
-½ |
-½ |
-½ |
| — 25 |
― |
― |
― |
― |
― |
― |
-½ |
-½ |
-½ |
-½ |
| — 20 |
― |
― |
― |
― |
― |
― |
― |
― |
― |
-½ |
| — 15 |
― |
― |
― |
― |
― |
― |
― |
― |
― |
― |
| — 10 |
― |
― |
― |
― |
― |
― |
― |
― |
― |
― |
| — 5 |
― |
― |
― |
― |
― |
― |
― |
― |
― |
― |
| 0 |
― |
― |
― |
― |
― |
― |
― |
― |
― |
― |
| +5 |
― |
― |
― |
― |
― |
― |
+½ |
+½ |
+½ |
+½ |
| +10 |
― |
― |
― |
― |
― |
+½ |
+½ |
+½ |
+½ |
+½ |
| +15 |
― |
― |
― |
― |
― |
+½ |
+½ |
+½ |
+½ |
+½ |
| +20 |
― |
― |
― |
― |
― |
― |
― |
+½ |
+½ |
+½ |
| +25 |
― |
― |
― |
― |
― |
― |
― |
― |
― |
+½ |
| +30 |
― |
― |
― |
― |
― |
― |
― |
― |
― |
― |
| +35 |
― |
-½ |
-½ |
-½ |
-½ |
― |
― |
― |
― |
― |
| +40 |
― |
-½ |
-½ |
-½ |
-½ |
-½ |
-½ |
-½ |
-½ |
-½ |
| +45 |
-½ |
-½ |
-½ |
-½ |
-½ |
-½ |
— 1 |
— 1 |
— 1 |
— 1 |
| +50 |
-½ |
-½ |
— 1 |
— 1 |
— 1 |
— 1 |
— 1 |
— 1 |
— 1 |
— 1 |
Примечание. Поправки в делениях прицела округлены до 0,5 деления. При стрельбе необходимо наблюдать за результатом огня и, если нужно, вносить поправки.
Стрельба по укрытым целям
150. Если какое-нибудь незначительное препятствие (бугорок, трава и т. п.) мешает наводчику видеть цель и по обстановке изменить положение для стрельбы нельзя, наводчик. приподняв голову, намечает на закрытии в створе с целью и на одной с ней высоте какую-либо вспомогательную точку, ставит прицел по расстоянию до цели и открывает огонь, прицеливаясь в выбранную вспомогательную точку наводки; помощник наводчика корректирует огонь.
Стрельба в условиях ограниченной видимости
151. Стрельба ночью по освещённым целям производится по тем же правилам, как и днём. В момент освещения цели наводчик быстро наводит пулемёт и открывает огонь. При этом он не должен смотреть в сторону осветительных средств (ракеты, прожектора), чтобы свет не ослеплял его. Так как определение расстояний ночью даже при сильном искусственном освещении крайне затруднено, дистанции до рубежей, на которых возможно появление целей, должны быть определены засветло.
Стрельба ночью без искусственного освещения (а также стрельба в тумане и дыму) может быть успешной только при условии подготовки её засветло; подготовка эта заключается в следующем:
а) сошки пулемёта прочно укрепляются в земле;
б) пулемёт с прицелом, соответствующим расстоянию до рубежа, по которому подготовляется огонь, наводится в середину этого рубежа;
в) под прикладом пулемёта забивается в землю деревянная рогулька так, чтобы пулемёт, опущенный прикладом на неё, сохранял приданную горизонтальную и вертикальную наводку и чтобы рогулька не мешала действию правой руки наводчика; вместо деревянной рогульки может быть использована короткая доска, поставленная ребром на землю и укреплённая колышками; на верхнем ребре доски делается вырез для приклада пулемёта соответственно наводке (рис. 57).
Для подготовки огня в другом направлении следует таким же образом установить новую рогульку или сделать по ребру доски дополнительные вырезы и заметить (записать), какая рогулька или какой вырез какой наводке соответствует (рис. 58).
Наводчик и его помощник должны быть заранее натренированы в пользовании рогульками я вырезами доски, чтобы быстро произвести нужную наводку на ощупь.
Если данные для стрельбы в условиях ограниченной видимости заблаговременно подготовлены не были, то открывать огонь следует лишь при отражении атаки противника.
Рис. 57. Приемы стрельбы ночью
Рис. 58. Приемы стрельбы ночью
152. В случаях необходимости вести огонь через дымовую завесу без предварительной подготовки, стрельбу вести непосредственно по дымовой завесе в пределах данной пулемёту полосы, обстреливая её как маску, по всей ширине, с последовательным переносом точек прицеливания на ширину сердце вины рассеивания.
Стрельба в условиях действия ОВ
153. Особенностью стрельбы в противогазе являются заболевание стекол маски от дыхания наводчика, нарушающее ясную видимость целей, и некоторое стеснение дыхания.
Против запотевания стекол употребляются специальные карандаши. Привычка работать длительное время в противогазе, не испытывая больших неудобств и затруднений для дыхания, достигается регулярной тренировкой.
Для удобства стрельбы в противогазе необходимо, чтобы стекло перед направляющим глазом стояло перпендикулярно к лучу зрения.
Стрельба на ходу
154. Для стрельбы на ходу наводчик перекидывает ремень на правое плечо или надевает на шею; правой рукой поддерживает пулемёт за шейку приклада; левой рукой крепко удерживает пулемёт, оттягивая его вниз за передний конец ремня или за специальную ремённую петлю (тренчик), надетую на кожух впереди магазинного упора (рис. 59).
Огонь на ходу вести длинными очередями с рассеиванием по фронту, направляя пулемёт дулом на цель. По израсходовании патронов быстро заменить магазин, для чего:
а) правой рукой оттянуть в заднее положение рукоятку затворной рамы, а левой рукой подхватить ствольную коробку снизу, ближе к рукоятке;
б) оттянув правой рукой магазинную защёлку, пальцами левой руки приподнять заднюю часть магазина, после чего отпустить защёлку и правой рукой снять магазин и передать его помощнику наводчика;
Рис. 59. Стрельба на ходу
в) удерживая пулемёт на левой руке под ствольной коробкой, правой рукой принять от помощника снаряженный магазин, направить вилку магазина в пазы упора и осадить заднюю часть магазина до захвата его выступа защёлкой;
г) перенести правую руку на шейку приклада, левой взяться за ремень и продолжать стрельбу.
Питание патронами и расход их в бою
155. Запас патронов (в магазинах) пулемётчики носят в железных коробках или брезентовых сумках.
Помощник наводчика подаёт наводчику по мере надобности снаряженные магазины и принимает от него пустые, которые отправляет с подносчиком патронов в тыл для наполнения.
Питание патронами пулемёта в бою производится подносчиками патронов, выделенными для этого командиром отделения из состава отделения.
Снаряжение магазинов производится на пункте боевого питания роты или в укрытии вблизи пулемета.
К расходу патронов в бою нужно относиться крайне бережливо, чтобы не оказаться в тяжелую минуту без них. Напрасный расход патронов в бою, особенно утеря их, преступен.
Однако никогда не следует останавливаться перед самым щедрым расходованием их, если представляется верный случай огнем ручного пулемёта нанести противнику решительное поражение или отразить его атаку.
По израсходовании половины носимого запаса помощник наводчика докладывает об этом наводчику и командиру отделения.
В качестве неприкосновенного запаса должен всегда оставаться один снаряженный магазин, который расходуется только с разрешения командира,
Приложения
Приложение 1
ВЕСОВЫЕ И ЛИНЕЙНЫЕ СПРАВОЧНЫЕ ДАННЫЕ ПО РУЧНОМУ ПУЛЕМЁТУ ДП
Общий вес (с сошкой и пламегасителем) 8,4 кг
Вес сошки 0,7 кг
Вес пламегасителя 0,2 кг
Вес ствола 2,0 кг
Вес наполненного магазина 2,8 кг
Вес пустого магазина 1,6 кг
Общая длина пулемета (с прикладом и пламегасителем) 126,6 см
Длина пламегасителя 12,5 см
Калибр ствола 7,62 мм
Длина канала ствола с патронником 60,5 см
Длина нарезной части канала ствола 53,2 см
Число нарезов 4
Длина хода нарезов 24 см
Длина прицельной линии:
а) наибольшая (с прицелом 1) 61,6 см
б) наименьшая (с прицелом 15) 61,0 см
Нормальная высота мушки над осью канала ствола около 50 мм(±0,12)
Начальная скорость пули обр. 1908 г. (v
0) 840 м/сек
Приложение 2
ТАБЛИЦА ПРЕВЫШЕНИЯ ТРАЕКТОРИИ НАД ЛИНИЕЙ ПРИЦЕЛИВАНИЯ ПРИ СТРЕЛЬБЕ ПУЛЕЙ обр. 1908 г.
Превышения в сантиметрах.
| Дистанция в м |
1* |
2* |
3* |
4* |
| 50 |
— 1 |
2 |
7 |
13 |
| 100 |
0 |
6 |
15 |
27 |
| 150 |
— 4 |
5 |
19 |
36 |
| 200 |
― |
0 |
18 |
41 |
| 250 |
― |
— 9 |
13 |
41 |
| 300 |
― |
― |
0 |
34 |
| 350 |
― |
― |
— 18 |
20 |
| 400 |
― |
― |
― |
0 |
| 450 |
― |
― |
― |
— 27 |
| 500 |
― |
― |
― |
― |
| 550 |
― |
― |
― |
― |
| 600 |
― |
― |
― |
― |
* Прицел в делениях.
Превышения в метрах.
| Дистанция в м |
5* |
6* |
7* |
8* |
9* |
10* |
| 100 |
0,3 |
0,5 |
0,7 |
0,9 |
1,2 |
1,5 |
| 200 |
0,6 |
1,0 |
1,4 |
1,8 |
2,3 |
2,9 |
| 300 |
0,7 |
1,2 |
1,7 |
2,3 |
3,0 |
3,9 |
| 400 |
0,5 |
1,1 |
1,8 |
2,7 |
3,7 |
4,8 |
| 500 |
0 |
0,8 |
1,7 |
2,7 |
3,9 |
5,3 |
| 600 |
— 0,8 |
0 |
1,2 |
2,4 |
3,8 |
5,5 |
| 700 |
― |
— 1,2 |
0 |
1,5 |
3,2 |
5,2 |
| 800 |
― |
― |
— 1,6 |
0 |
2,0 |
4,2 |
| 900 |
― |
― |
― |
— 2,2 |
0 |
2,6 |
| 1 000 |
― |
― |
― |
― |
— 2,9 |
0 |
| 1 100 |
― |
― |
― |
― |
― |
— 3,8 |
| 1 200 |
― |
― |
― |
― |
― |
― |
* Прицел в делениях.
Примечание. Цифры со знаком минус показывают понижение траектории относительно линии прицеливания.
Приложение 3
ТАБЛИЦА УГЛОВ ПРИЦЕЛИВАНИЯ, ДЕРИВАЦИИ И ВРЕМЕНИ ПОЛЁТА ПУЛИ обр. 1908 г.
| Дистанция в м |
Углы прицеливания в тысячных |
Деривация в см |
Время полёта в секундах |
| 100 |
2,8 |
― |
0,13 |
| 200 |
3,6 |
1 |
0,26 |
| 300 |
4,4 |
2 |
0,42 |
| 400 |
5,6 |
4 |
0,60 |
| 500 |
6,7 |
7 |
0,80 |
| 600 |
8,1 |
12 |
1,02 |
| 700 |
9,7 |
19 |
1,26 |
| 800 |
12 |
29 |
1,52 |
| 900 |
14 |
43 |
1,80 |
| 1 000 |
17 |
62 |
2,11 |
Приложение 4
СНАРЯЖЕНИЕ МАГАЗИНА ПРИБОРОМ БАРКОВА
Прибор Баркова служит для облегчения и ускорения снаряжения патронами магазинов ручного пулемёта ДП.
Основные части прибора показаны на рис. 60.
Рис. 60. Устройство прибора Баркова
Пользование прибором:
1. Перед постановкой прибора на магазин нужно закрепить рычаг подачи, для чего, сближая правой рукой рукоятки прибора, левой рукой опустить подаватель вниз; при этом нижний зуб подавателя упирается в кромку основания.
2. Взять магазин в левую руку, а прибор в правую (рис. 61) и, направляя приёмник магазина в вырез верхней планки, насадить прибор на магазин так, чтобы головка винта и шайба оси магазина попали в круглое отверстие на козырьке основания.
3. Сжать рукоятки, освободить показатель от сцепления с кромкой основания.
Рис. 61. Постановка прибора на магазин
Для снаряжения магазина нужно:
а) упереть его вилкой в поясной ремень;
б) правой рукой свести рукоятки прибора и освободить их; при этом против окна приёмника магазина станет очередное патронное гнездо магазина;
в) левой рукой ввести через приёмник магазина очередной патрон; затем снова свести рукоятки прибора, освободить их и ввести следующий очередной патрон; так поступать до полного наполнения магазина.
Если при первом сведении рукояток будет чувствоваться значительное сопротивление, то необходимо задержку пружины магазина утопить пальцем левой руки, слегка покачивая рукоятки прибора.
Для отделения прибора от магазина необходимо:
а) отжимая подаватель вниз, освободить верхний зуб его от сцепления с гнездом верхнего диска магазина;
б) закрепить подаватель (см. п. 1);
в) оттянуть передний конец основания прибора от верхнего диска магазина настолько, чтобы головка винта оси магазина вышла из отверстия на козырьке основания;
г) снять прибор с магазина.
Для переноски прибора на поясном ремне на торце переднего конца основания имеются два отверстия, в которые заправляется плотная тесьма или сыромятный ремень. Концы ремня связываются петлёй по ширине поясного ремня.
Протянутый через отверстия ремень (тесьма) должен проходить так, чтобы не препятствовать правильной постановке прибора на магазин.
Приложение 5
РУЧНОЙ ПУЛЕМЕТ ДПМ
Начиная с 1945 г. на вооружение пехоты Красной Армии поступает ручной пулемёт ДПМ (Дегтярева — пехотный, модернизированный).
Ручной пулемет ДПМ (рис. 62) имеет ряд конструктивных усовершенствований, которые делают его, сравнительно с пулемётом ДП, более надёжным и безотказным в действии, более удобным в обращении, более устойчивым при стрельбе и, следовательно, повышают его боевые качества. Существенные изменения в конструкции ручного пулемета ДПМ состоят в следующем:
1. Возвратно-боевая пружина помещается не в направляющей грубые кожуха, а позади затвора в ствольной коробке; задний конец пружины помещается в
затылке спусковой рамы.
Затылок закрепляется на стойке спусковой рамы с помощью
защёлки с пружиной и служит упором для заднего конца возвратно-боевой пружины, заменяя таким образом соединительную муфту пулемета ДП.
Рис. 62. Общий вид ручного пулемета ДПМ
2. Ударник упрочнён и имеет сзади
хвостовик, который служит для направления переднего конца возвратно-боевой пружины.
3. Затвор упрочнён.
Выбрасыватель имеет более надёжную конструкцию; пластинчатая пружина выбрасывателя заменена спиральной.
4. Отражатель и соединительный винт приклада упрочнены и имеют несколько изменённую конструкцию.
5. Сошка упрочнена и сделана неотъёмной; она укреплена непосредственно на кожухе пулемета (без хомута) и обеспечивает плавный поворот пулемета вокруг оси канала ствола (для выравнивания пулемёта при установке его на неровной площадке).
6. Спусковая рама имеет
пистолетную рукоятку, за которую (вместо шейки приклада) наводчик удерживает пулемёт при стрельбе правой рукой; это облегчает и улучшает условия ведения прицельного огня.
7. Спусковой механизм усовершенствован и упрочнён в целях устранения случаев непроизвольной стрельбы.
8. Предохранитель имеет измененную конструкцию, не связанную со спусковым крючком; он приводится в действие перестановкой
флажка: постановка флажка предохранителя в переднее положение застопоривает спусковой рычаг, постановка флажка в заднее положение освобождает спусковой рычаг.
В связи с перемещением возвратно-боевой пружины из направляющей трубки кожуха в ствольную коробку и закреплением ее вместо соединительной муфты затылком спусковой рамы и порядок разборки пулемёта вносится следующее изменение.
После отделения ствола, перед дальнейшей разборкой необходимо
отделить затылок с возвратно-боевой пружиной. Для этого, отжав защелку затылка назад пальцем одной руки, другой рукой повернуть затылок защёлкой вверх; затем, постепенно ослабляя давление пружины, отнять затылок и возвратно-боевую пружину.
В остальном правила обращения с ручным пулемётом ДПМ, а также приёмы и правила стрельбы из него те же, что изложены в настоящем Наставлении для пулемёта ДП.
Оглавление
Введение
Часть первая
Устройство, обращение, уход и сбережение ручного пулемёта
Глава I
Устройство ручного пулемёта
Глава II
Работа частей и механизмов пулемета
Глава III
Нарушение нормальной работы механизмов пулемета
Глава IV
Правила сбережения ручного пулемёта и обращения с ним
Глава V
Проверка боя пулеметов и приведение их к нормальному бою
Часть вторая
Приемы и правила стрельбы из ручного пулемёта
Глава I
Приемы стрельбы из ручного пулемета
Глава II
Правила ведения огня в бою из ручного пулемёта
Приложения
Последние комментарии
1 день 1 час назад
1 день 4 часов назад
1 день 4 часов назад
1 день 6 часов назад
1 день 11 часов назад
1 день 11 часов назад